Газоанализаторы
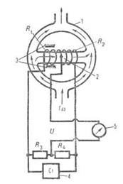
Действие термомагнитных газоанализаторов основано на термомагнитной конвекции газовой смеси, содержащей О2, в неоднородных магнитном и температурном полях. Часто применяют приборы с кольцевой камерой (рис.4), которая представляет собой полое металлическое кольцо. Вдоль его диаметра установлена тонкостенная стеклянная трубка, на которую намотана платиновая спираль, нагреваемая электрическим током. Спираль состоит из двух секций - R1 и R2, первая из которых помещается между полюсами магнита. При наличии в газовой смеси О2 часть потока направляется через диаметральный канал, охлаждая первую секцию платиновой спирали и отдавая часть тепла второй. Изменение сопротивлений R1 и R2 вызывает изменение выходного напряжения U, пропорциональное содержанию О2 в анализируемой смеси.
Рис.4. Термомагнитный газоанализатор: 1 - кольцевая камера; 2-стеклянная трубка; 3-постоянный магнит; 4-источник стабилизированного напряжения; 5-вторичный прибор; Rt и R2 - соответственно рабочий и сравнительные терморезисторы (секции платиновой спирали); R3 и R4 - постоянные резисторы.
Пневматические газоанализаторы. Их действие основано на зависимости плотности и вязкости газовой смеси от ее состава. Изменения плотности и вязкости определяют, измеряя гидромеханические параметры потока. Распространены пневматические газоанализаторы трех типов.
Газоанализаторы с дроссельными преобразователями измеряют гидравлическое сопротивление дросселя (капилляра) при пропускании через него анализируемого газа. При постоянном расходе газа перепад давления на дросселе - функция плотности (турбулентный дроссель), вязкости (ламинарный дроссель) или того и другого параметра одновременно.
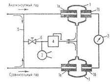
Струйные газоанализаторы измеряют, динамический напор струи газа, вытекающего из сопла. Содержат два струйных элемента типа "сопло - приемный канал" (рис.5). Для подачи анализируемого и сравнительных газов служит эжектор 2. Давление на выходе из элементов поддерживается регулятором 4. Равенство давлений газов на входе в элементы обеспечивается, соединительным каналом 5 и настройкой вентиля 6. Разница динамических давлений (напоров), воспринимаемых трубками 1б, - функция отношения и мера концентрации определяемого компонента газовой смеси. Струйные газоанализаторы используют, например, в азотной промышленности для измерения содержания Н2 в азоте (диапазон измерения 0-50%), в хлорной промышленности - для определения С12 (0-50 и 50-100%). Время установления показаний этих газоанализаторов не превышает нескольких секунд, поэтому их применяют также в газосигнализаторах довзрывных концентраций газов и паров некоторых веществ (например, дихлорэтана, винилхлорида) в воздухе промышленных помещений.
Рис.5. Пневматический струйный газоанализатор: 1 - элемент "сопло - приемный канал"; 1а-сопло; 1б-приемная трубка; 2-эжсктор; 3-вторичный прибор; 4 - регулятор давления; 5 - соединит, канал; 6-вентиль.
Пневмоакустические газоанализаторы содержат два свистка (Рис.6) с близкими частотами (3-5 кГц), через один из которых проходит анализируемый газ, через второй - сравнительный. Частота биений звуковых колебаний в смесителе частот зависит от плотности анализируемого газа. Биения (частота до 120 Гц) усиливаются и преобразуются в пневматические колебания усилителем. Для получения выходного сигнала (давления) служит частотно-аналоговый преобразователь.
Рис.6. Пневмоакустический газоанализатор: 1 - свисток; 2-смеситель частот; 3 - усилитель - преобразователь; 4 - частотно-аналоговый преобразователь; 5-вторичный прибор.
Пневматические газоанализаторы не обладают высокой избирательностью. Они пригодны для анализа смесей, в которых изменяется концентрация только одного из компонентов, а соотношение между концентрациями других остается постоянным. Диапазон измерения - от единиц до десятков процентов. Пневматические газоанализаторы не содержат электрических элементов и поэтому могут использоваться в помещениях любой категории пожаро- и взрывоопасности. Элементы схемы, контактирующие с газами, выполнены из стекла и фторопласта, что позволяет анализировать весьма агрессивные газы (хлор-, серосодержащие и др.).
Инфракрасные газоанализаторы. Их действие основано на избирательном. поглощении молекулами газов и паров ИК - излучения в диапазоне 1-15 мкм. Это излучение поглощают все газы, молекулы которых состоят не менее чем из двух различных атомов. Высокая специфичность молекулярных спектров поглощения различных газов обусловливает высокую избирательность таких газоанализаторов и их широкое применение в лабораториях и промышленности. Диапазон измеряемых концентраций 10-3 - 100%. В дисперсионных газоанализаторах используют излучение одной длины волны, полученное с помощью монохроматоров (призмы, дифракционной решетки). В недисперсионных газоанализаторах, благодаря особенностям оптической схемы прибора (применению светофильтров, специальных приемников излучения и т.д.), используют немонохроматическое излучение. В качестве примера на рис.7 приведена. Наиболее распространенная схема такого газоанализатора. Излучение от источника последовательно проходит через светофильтр и рабочую кювету, в которую подается анализируемая смесь, и попадает в специальный приемник. Если в анализируемой смеси присутствует определяемый компонент, то в зависимости от концентрации он поглощает часть излучения, и регистрируемый сигнал пропорционально изменяется. Источником излучения обычно служит нагретая спираль с широким спектром излучения, реже - ИК-лазер или светодиод, испускающие излучение в узкой области спектра. Если используется источник немонохроматического излучения, избирательность определения достигается с помощью селективного приемника.
Рис.7. Недисперсионный инфракрасный газоанализатор: 1-источник излучения; 2-светофильтр; 3-модулятор; 4 и 4'-соотв. рабочая и сравнит. (внизу) кюветы; 5-приемник излучения; 6-усилитель; 7-вторичный прибор.
Наиболее распространены газоанализаторы с газонаполненным оптико-акустическим приемником. Последний представляет собой герметичную камеру с окном, заполненную именно тем газом, содержание которого нужно измерить. Этот газ, поглощая из потока излучения определенную часть с характерным для данного газа набором спектральных линий, нагревается, вследствие чего давление в камере увеличивается. Посредством механического модулятора поток излучения прерывается с определенной частотой. В результате с этой же частотой пульсирует давление газа в приемнике. Амплитуда пульсации давления - мера интенсивности поглощенного газом излучения, зависящая от того, какая часть характерного излучения поглощается тем же газом в рабочей кювете. Другие компоненты смеси излучение на этих длинах волн не поглощают. Т. обр., амплитуда пульсации давления в приемнике излучения - мера количества определяемого компонента в анализируемой смеси, проходящей через рабочую кювету. Изменение давления измеряют обычно конденсаторным микрофоном или микроанемометром (датчиком расхода газа). Заменяя газ в приемнике излучения оптико - акустического газоанализатора, можно избирательно измерять содержание различных компонентов смесей.
