Синтез этилового спирта
2. Лебедев Н.Н. Химия и технология основного органического и нефтехимического синтеза. Изд. 3-е, перераб. М., Химия, 1981 г.
3. Справочник. Расчёты химико-технологических процессов. Под общей редакцией проф. И. П. Мухлёнова. Л., «Химия», 1976 г.
4. Справочник. Краткий справочник физико-химических величин. Изд. 8-е, пер./Под ред. А.А. Равделя и А.М. Пономарёвой. Л., Химия, 1983 г. 232с.
5. Юкельсон И.Ю.Технология основного органического синтеза. М.,Химия, 1968 г.
6. Паушкин Я.М. Нефтихимический синтез в промышленности. М.,Наука,1966 г.
7. Авторские свидетельства: №307997, №577201, №847911, №249358, №368216, №608796, №.2337967.
Приложения
.
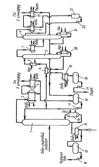
Рис. 1. Схема отделения прямой гидратации этилена:
1 - буфер; 2 - компрессор свежего этилена; 3 - компрессор циркулирующего газа; 4 - паровой подогреватель; 5, 10, 14 - теплообменники; 6, 15 - холодильники; 7,8 - котлы-утилизаторы, 9 - реактор; 11 - сепаратор; 12(1), 12(11) - газоотделители; 13 - скруббер; 16, 20 - ёмкости; 17, 18, 21 - насосы; 19 - сборник; ФВ - фузельная вода
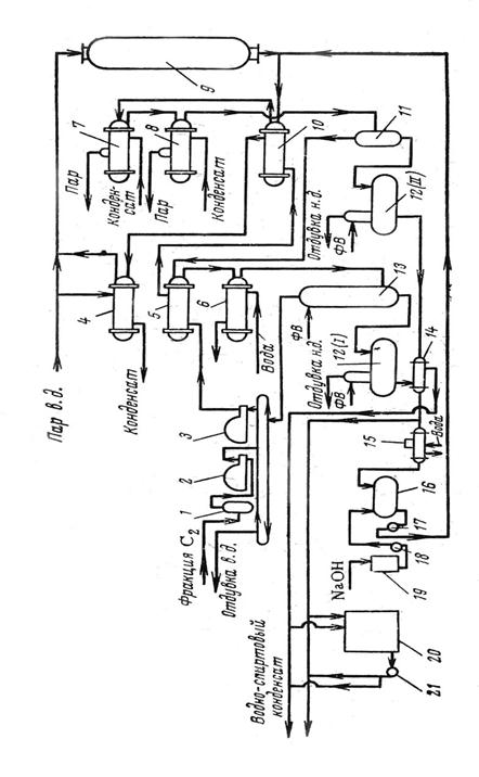
Рис.2. Схема отделения ректификации водно-спиртового конденсата:
1, 6, 8 – ректификационные колонны; 2, 3, 7, 9, 10 – конденсаторы-дефлегматоры; 4 – теплообменник; 5 – паровой подогреватель; 11, 15, 17, 22 – насосы; 12, 16, 18 – ёмкости; 14, 20, 21 – кипятильники; 23 – сборник.
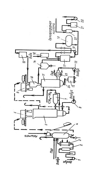
Рис. 3. Схема катализаторного отделения:
1 – воздуходувка; 2 – осушитель; 3 – паровой подогреватель; 4 – пропарочный аппарат; 5, 9 – полигональные сита; 6 – прокалочная печь; 7 – топка; 8, 13 – вентиляторы; 10 – пропиточная ванна; 11 – сушилка; 12 – бункер; 14 – отстойник; 15, 16 – сборники; 17 – смеситель; 18 – насос; 19, 20 – ёмкости; 21 – щелочной гидролизатор; 22 – вакуум-насос; 23 – калорифер; 24 – сито «Ротекс».
![]() | |||
![]() | |||
Рис. 4. Реактор: Рис. 5. Скруббер:
![]() |
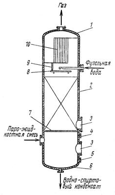
Рис. 6. Ректификационная колонна;
1 – крышка; 2, 3, 5, 6, 9 – штуцеры для термопар; 4 – люки; 7 – корпус; 8, 10 – штуцеры для замера уровня в кубе; 11 – днище; 12 – прорези; 13 – отверстия для слива жидкости; 14 – отверстия для прохода паров.



