Современные конструкции фильтровальных аппаратов
Учитывая, что производительность фильтра лимитируется eгo размерами и при диаметре фильтра 3 м не превышает 150 м3/ч, Г. Н. Никифоров предложил батарейный тип сверхскоростных напорных фильтров с автоматической системой промывки. Все фильтры, входящие в блок, связаны единым гидравлическим режимом.
В системах муниципального, а также производственного водоснабжения нашел применение прямоточный открытый контактный фильтр КФ-5 (рис. 12.21, а) с трехслойной фильтрующей загрузкой (по 0,5 каждый). Верхний слой (керамзит, аглопорит, полимеры) имеет крупность зерен 2,3 . 3,3 мм; средний (антрацит, керамзит, горелые породы) — 1,25 . 2,3 мм; нижний (кварцевый или гранитный песок, горелые породы) — 0,8 . 1,25 мм. Скорость фильтрования до 20 м/ч, интенсивность промывки 15 л/(с-м2), продолжительность — 6 . 8 мин.
Осветление воды на высокопроизводительных самопромывающихся фильтрах ВСФ-2000 непрерывного действия широко используют в системах производственного водоснабжения. Высокопроизводительные самопромывающиеся фильтры (ВСФ- 2000) применяют для предочистки высокомутной воды с последующей ее доочисткой; в схемах одноступенчатой очистки воду, используемой для производственного водоснабжения при сравнительно невысоких требованиях к ее качеству (содержание взвешенных веществ 50 . 1000 мг/л); для удаления планктона взамен микрофильтрации; для очистки оборотной воды от взвешенных веществ. По данным завода-изготовителя, фильтры ВСФ-2000 могут задерживать частицы размером 0,01 мм выше при суммарном количестве взвешенных веществ 500 . 1000 мг/л. Общая высота фильтра 5,17 м, ширина 2,545 м, диаметр 2.032 м. Производительность фильтра 2000 м3/ч, при скорости фильтрования 600 . 700 м/ч. Расход воды на промывку составляет 2 . 5%.
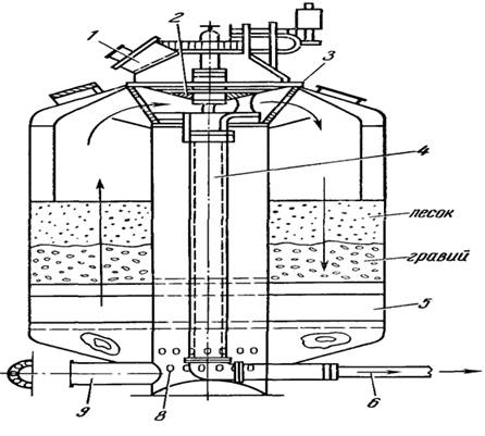
Очистка воды на двухкамерных напорных фильтрах (рис. 12.22) без предварительного осветления получила распространение в системах промышленной водоочистки. Известно, что грязеемкость обычных скорых фильтров не превышает 1,5кг/м2, а грязеемкость двухкамерных фильтров достигает 40 кг/м2 при скорости фильтрования 15 . 25 м/ч в первой и 6 . 10 м/ч во второй камере. Оптимальная доза коагулянта для воды мутностью до 100 мг/л составляет 7 мг/л (что на 70% меньше обычной дозы). При мутности исходной воды до 20 мг/л очистку воды на двухкамерных фильтрах можно производить без коагуляции. Предельное количество взвешенных веществ в воде, подлежащей очистке, для паводкового периода не должно превышать 1000 мг/л. Предложенная технологическая схема позволяет производить очистку воды для технического водоснабжения большинства равнинных рек только на двухкамерных фильтрах без предварительного отстаивания, что дает экономию на строительной стоимости 100 . 150 тыс. руб. для завода производительностью 100 тыс. м3/сут.
Рис. 12.22. Схемы напорных осветлительных фильтров. а—горизонтальный; б — вертикальный; в — двухкамерный вертикальный
Использование фильтров с плавающей полимерной загрузкой (см. рис. 12.19,6) является одним из путей интенсификации процесса фильтрования природных вод. В результате сравнения технико-экономических показателей М. Г. Журбой установлено, что наиболее рациональными в настоящее время являются гранулы вспененного полистирола, полученные в результате спекания. В настоящее время промышленностью освоен массовый выпуск различных марок пенополитирола и шунгизита. В последующем, после освоения промышленностью, могут найти применение в качестве плавающих загрузок газонаполненные гранулы керамзита, котельные и металлургические шлаки, а также различные полимерные материалы, обладающие достаточной механической прочностью, химической стойкостью и Пористостью.
Замена тяжелых фильтрующих загрузок на плавающие существенно меняет технологию фильтрования воды, позволяет увеличить допустимую по сравнению с кварцевыми фильтрами концентрацию взвеси в исходной воде и скорость фильтрования, значительно упростить регенерацию загрузки, позволяет отказаться от установки промывных насосов и специальных емкостей для воды. М. Г. Журбой подтверждено, что гранулы полистирола обладают более высокими адгезионными и электрокинетическими свойствами по сравнению с зернами песка и их применение интенсифицирует процесс фильтрования в целом.
В настоящее время в практику водоочистки внедряют напорные фильтры с плавающей загрузкой (ФПЗ) для очистки производственных вод прокатных станов, а также ФПЗ для осветления природных вод. В зависимости от содержания и характера взвеси в воде, подаваемой на очистные сооружения, а также от производительности водоочистного комплекса предложены следующие основные схемы фильтрования: через многоярусные или многослойные фильтры с убывающей крупностью гранул по ходу движения осветляемой воды снизу вверх (ФПЗ-2, ФПЗ-З, КФПЗ); через фильтры большой грязеемкости при фильтровании воды сверху вниз; с горизонтальным направлением фильтрования; с непрерывной регенерацией загрузки.
Исследованиями В. О. Орлова установлено, что при безреагентной очистке воды на ФПЗ-2 и ФПЗ-З для получения фильтрата, отвечающего нормам ГОСТа на питьевую воду, рекомендуется принимать: допустимое содержание взвеси в воде — до 500 мг/л; скорость фильтрования (в зависимости от физико-химических свойств воды и взвеси) — 0,6 . 2 м/ч; общую толщину двухъярусной или двухслойной загрузки — до 0,7 . 1,2 м; диаметр гранул плавающей загрузки — 0,3 . 1,5 мм; интенсивность промывки загрузки — 10 . 12 л/(с-м2); продолжительность промывки — 3 . 4 мин. При промывке фильтров подача промывной воды осуществляется сверху вниз (табл. 12.6).
В случае очистки природных вод для производственных целей скорость фильтрования на ФПЗ может быть установлена в пределах 20 . 25 m/'ч, содержание взвеси в фильтрате на протяжении фильтроцикла не должно превышать 20 мг/л. Суммарные потери напора за фильтроцикл достигают 2,6 м.
Результаты исследований работы контактных ФПЗ подтверждают целесообразность внедрения их в практику фильтрования природных вод для питьевых целей. Раствор реагента вводится в фильтр непосредственно перед фильтрующей загрузкой. Положительный результат работы ФПЗ был получен так же при очистке природной воды от фито- и зоопланктона. При скорости фильтрования 4 . 7 м/ч достигается удаление из очищаемой воды 90 .95% планктона при незначительных потерях напора.
Фильтры с крупнозернистой загрузкой для частичного осветления воды конструктивно аналогичны обычным скорым фильтрам. Фильтрующая загрузка однослойная. Для песка крупность зерен принимается 1 . 2 или 1,6 . 2,5 мм соответственно, высота фильтрующего слоя 1,5 .2,0 и 2,5 . 3 м, скорость фильтрования 10 . 12 и 13 . 15 м/ч. Режим промывки следующий: взрыхление загрузки воздухом 15 . 25 л/(с*м2) в течение 1 мин, водовоздушная промывка 3,5 . 5 л/(с-м2) воды и 15 .25 л/(с*м2) воздуха в течение 5 мин, отмывка водой 7 . .9 л/(с*м2) в течение 3 мин.
