Теплоемкость органических веществ и ее прогнозирование методом Бенсона и при повышенном давлении
Решение
1. Рассчитываются приведенные температуры:
= 325/650 =0,50;
= 487,5/650 =0,75;
= 780/650 =1,20.
2. При полученных приведенных температурах и значениях приведенных давлений таблиц Ли-Кеслера вычисляются значения
. Необходимые для расчета величины
получены в примере 3.1. Для
и
= 0,01 имеем:
= 187,9 + 8,31441×(3,006+0,378×13,111) = 254,1 Дж/(моль×К).
Фрагмент результатов расчета приведен в табл. 3.4 и 3.5, где жирным шрифтом выделены сведения, относящиеся к жидкому состоянию изобутилбензола.
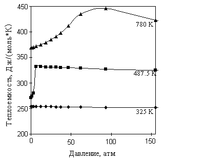
3. Зависимость теплоемкости от давления при избранных температурах приведена на рис. 3.2. Характер полученных графических зависимостей различен для изотерм, принадлежащих жидкому и газообразному состояниям вещества. Теплоемкость жидкости мало зависит от давления, что очевидно. Теплоемкость газа в закритической области возрастает с увеличением давления до некоторого уровня, а затем начинает падать, т.е. зависимость носит экстремальный характер. Для докритической изотермы резкое изменение теплоемкости происходит при изменении фазового состояния вещества.
Рис. 3.2. Зависимость теплоемкости изобутилбензола от давления при 325, 487,5 и 780 К
Таблица 3.4
|
|
при приведенном давлении, |
при приведенном давлении, | |||||||||||||||||
|
0,010 |
0,050 |
0,100 |
0,200 |
0,400 |
0,010 |
0,050 |
0,100 |
0,200 |
0,400 | ||||||||||
|
0,50 |
3,006 |
3,005 |
3,004 |
3,003 |
3,001 |
13,111 |
13,106 |
13,099 |
13,084 |
13,055 | |||||||||
|
0,010 |
0,050 |
0,100 |
0,200 |
0,400 |
0,010 |
0,050 |
0,100 |
0,200 |
0,400 | ||||||||||
|
0,75 |
0,044 |
0,236 |
0,526 |
3,351 |
3,284 |
0,129 |
0,726 |
1,747 |
10,967 |
10,995 | |||||||||
|
1,20 |
0,011 |
0,055 |
0,113 |
0,237 |
0,525 |
0,016 |
0,083 |
0,168 |
0,345 |
0,722 | |||||||||
Таблица 3.5
|
T, K |
| |||||||||
|
0,31 |
1,55 |
3,1 |
6,2 |
12,4 |
18,6 |
24,8 |
31 |
37,2 |
46,5 | |
|
325,0 |
254,00 |
253,97 |
253,94 |
253,89 |
253,78 |
253,68 |
253,56 |
253,46 |
253,35 |
253,20 |
|
487,5 |
270,70 |
274,17 |
279,79 |
332,25 |
331,79 |
331,35 |
330,92 |
330,53 |
330,14 |
329,61 |
|
780,0 |
368,68 |
369,25 |
370,00 |
371,59 |
375,17 |
379,42 |
384,52 |
390,67 |
398,05 |
411,53 |
