Производство сталиРефераты >> Металлургия >> Производство стали
Условия удаления серы при донной продувке более благоприятны, чем при верхней. Это также связанно с меньшей окисленностью шлака и увеличением поверхности контакта газ - металл. Последнее обстоятельство способствует удалению части серы в газовую фазу в виде SO2.
Преимущества процесса с донной продувкой состоят в повышении выхода годного металла на 1 - 2 %, сокращении длительности продувки, ускорении плавления лома, меньшей высоте здания цеха и т. д. Это представляет определенный интерес, прежде всего, для возможной замены мартеновских печей без коренной реконструкции зданий мартеновских цехов.
Конвертерный процесс с комбинированной продувкой.
Тщательный анализ преимуществ и недостатков способов выплавки стали в конвертерах с верхней и нижней продувкой привел к созданию процесса, в котором металл продувается сверху кислородом и снизу - кислородом в защитной рубашке или аргоном (азотом). Использование конвертера с комбинированной продувкой по сравнению с продувкой только сверху позволяет повысить выход металла, увеличить долю лома, снизить расход ферросплавов, уменьшить расход кислорода, повысить качество стали за счет снижения содержания газов при продувке инертным газом в конце операции.
Производство стали в мартеновских печах
Сущность мартеновского процесса состоит в переработке чугуна и металлического лома на паду отражательной печи. В мартеновском процессе в отличие от конвертерного не достаточно тепла химических реакций и физического тепла шихтовых материалов. Для плавление твердых шихтовых материалов, для покрытия значительных тепловых потерь и нагрева стали до необходимых температур в печь подводиться дополнительное тепло, получаемое путем сжигания в рабочем пространстве топлива в струе воздуха, нагретого до высоких температур.
Для обеспечение максимального использования подаваемого в печь топлива (мазут или предварительно подогретые газы) необходимо, чтобы процесс горения топлива заканчивался полностью в рабочем пространстве. В связи с этим в печь воздух подается в количестве, превышающем теоретически необходимое. Это создает в атмосфере печи избыток кислорода. Здесь также присутствует кислород, образующийся в результате разложения при высоких температурах углекислого газа и воды.
Таким образом, газовая атмосфера печи имеет окислительный характер, т. е. в ней содержится избыточное количество кислорода. Благодаря этому металл в мартеновской печи в течение всей плавки подвергается прямому или косвенному воздействию окислительной атмосферы.
Для интенсификации горения топлива в рабочем пространстве часть воздуха идущего на горение, может заменяться кислородом. Газообразный кислород может также подаваться непосредственно в ванну (аналогично продувке металла в конвертере).
В результате этого во время плавки происходит окисление железа и других элементов, содержащихся в шихте. Образующиеся при этом оксиды металлов FeO, Fe2O3, MnO, CaO, P2O5, SiO2 и др. Вместе с частицами постепенно разрушаемой футеровки, примесями, вносимыми шихтой, образуют шлак. Шлак легче металла, поэтому он покрывает металл во все периоды плавки.
Шихтовые материалы основного мартеновского процесса состоят, как и при других сталеплавильных процессах, из металлической части (чугун, металлический лом, раскислители, легирующие) и неметаллической части (железная руда, мартеновский агломерат, известняк, известь, боксит).
Чугун может применятся в жидком виде или в чушках. Соотношение количества чугуна и стального лома в шихте может быть различным в зависимости от процесса, выплавляемых марок стали и экономических условий.
По характеру шихтовых материалов основной мартеновский процесс делиться на несколько разновидностей, наибольшее распространение из которых получили скрап-рудный и скрап-процессы.
При скрап-рудном процессе основную массу металлической шихты (от 55 до 75 %) составляет жидкий чугун. Этот процесс широко применяется на заводах с полным металлургическим циклом.
При скрап-процессе основную массу металлической массы шихты (от 55 до 75 %) составляет металлический лом. Чугун (25 - 45 %), как правило, применяется в твердом виде. Таким процессом работают заводы, на которых нет доменного производства.
Рисунок 2. Схема двухванной сталеплавильной печи:
1 – топливно-кислородные фурмы; 2 – фурмы для вдувания твердых материалов; 3 – свод печи; 4 – вертикальные каналы; 5 – шлаковики; 6 – подины печей
Производство стали в электропечах
Электросталеплавильное производство - это получение качественных и высококачественных сталей в электрических печах, обладающих существенными преимуществами по сравнению с другими сталеплавильными агрегатами.
Выплавка стали в электропечах основана на использовании электроэнергии для нагрева металла. Тепло в электропечах выделяется в результате преобразовании электроэнергии в тепловую при горении электрической дуги либо в специальных нагревательных элементах, либо за счет возбуждения вихревых токов.
В отличие от конвертерного и мартеновского процессов выделение тепла в электропечах не связанно с потреблением окислителя. Поэтому электроплавку можно вести в любой среде - окислительной, восстановительной, нейтральной и в широком диапазоне давлений - в условиях вакуума, атмосферного или избыточного давления. Электросталь, предназначенную для дальнейшего передела, выплавляют, главным образом в дуговых печах с основной футеровкой и в индукционных печах.
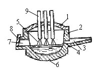
Рисунок 3. Схема рабочего пространства дуговой электропечи:
1 – куполообразный свод; 2 – стенки; 3 – желоб; 4 – сталевыпускное отверстие; 5 – электрическая дуга; 6 – сферический под; 7 – рабочее окно; 8 – заслонка; 9 – электроды
Дуговые печи бывают различной емкости (до 250 т) и с трансформаторами мощностью до 125 тысяч киловатт.
Источником тепла в дуговой печи является электрическая дуга, возникающая между электродами и жидким металлом или шихтой при приложении к электродам электрического тока необходимой силы. Дуга представляет собой поток электронов, ионизированных газов и паров металла и шлака. Температура электрической дуги превышает 3000о С. Дуга, как известно, может возникать при постоянном и постоянном токе. Дуговые печи работают на переменном токе. При горении дуги между электродом и металлической шихтой в первый период плавки, когда катодом является электрод, дуга горит, т. к. пространство между электродом и шихтой ионизируется за счет испускания электронов с нагретого конца электрода. При перемене полярности, когда катодом становится шихта - металл, дуга гаснет, т. к. в начале плавки металл еще не нагрет и его температура недостаточна для эмиссии электронов. При последующей перемене полярности дуга вновь возникает, поэтому в начальный период плавки дуга горит прерывисто, неспокойно.
После расплавления шихты, когда ванна покрывает ровным слоем шлака, дуга стабилизируется и горит ровно.
