Производство сталиРефераты >> Металлургия >> Производство стали
Основным недостатком вакуумных индукционных печей является контакт жидкого металла с огнеупорной футеровки тигля, что может приводить к загрязнению металла материалом тигля.
Производство стали в вакуумных дуговых печах.
Вакуумные дуговые печи (ВДП) подразделяют на печи с нерасходуемым и расходуемым электродом.
Нерасходуемый электрод изготавливают из вольфрама или графита. При плавке с нерасходуемым электродом измельченная шихта загружается в водоохлаждаемый медный тигель и под действием электрической дуги расплавляется, рафинируется от вредных примесей и затем кристаллизуется в виде слитка.
Эти печи промышленного применения не нашли, так как в них не возможно получать слитки большой массы. В настоящее время распространение получили вакуумные дуговые печи с расходуемым электродом.
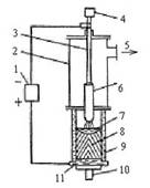
Рисунок 64 Схема вакуумной дуговой печи
1–источник питания; 2–рабочая камера; 3–электродержатель; 4–механизм подачи электрода; 5–к вакуумным насосам; 6–электрод; 7–жидкий металл; 8–слиток; 9–кристаллизатор; 10–шток для подъема поддона; 11–поддон.
Здесь представлена схема ВДП с расходуемым электродом. Печь состоит из рабочей камеры, медного водоохлаждаемого кристаллизатора, электрододержателя, механизма подачи электродов и системы вакуумных насосов. Расходуемый электрод крепится к электродержателю, который через вакуумное уплотнение проходит сквозь верхний торец рабочей камеры.
Электродержатель служит для провода тока к электроду и фиксации его в камере печи. Электродежатель с помощью гибкой подвески связан с механизмом подачи электрода. Расходуемый электрод представляет собой подлежащий переплаву исходный металл. Он может быть круглого или квадратного сечения. Как правило, расходуемые электроды содержат все необходимые легирующие элементы. Диаметр электрода выбирается таким, чтобы зазор между электродом и стенкою кристаллизатора был больше длины дуги, горящей между электродом и ванной жидкого металла. В противном случае возможен переброс электрической дуги на стенку кристаллизатора.
Кристаллизатор представляет собой медную водоохлаждаемую трубку со стенкой толщиной от 8 до 30 мм. Кристаллизаторы бывают двух типов: глухие и сквозные. При плавки металла в сквозном кристаллизаторе можно вытягивать слиток вниз по ходу плавки. Сквозные кристаллизаторы применяют при плавке тугоплавких металлов и сплавов. При плавке стали используют глуходонные кристаллизаторы. Сверху кристаллизатор имеет фланец. Через кристаллизатор к слитку подводится ток.
Вакуумные дуговые печи работают как на постоянном, так и на постоянном токе. При переплаве стальных электродов применяют постоянный ток. «Плюс» подается на электрод, «минус» – на слиток.
После установки расходуемого электрода в камере печи и откачки ее до необходимого давления (около 10-2 Па) зажигают электрическую дугу между электродом и металлической затравкой, лежащей на дне кристаллизатора. Под действием тепла электрической дуги нижний торец электрода оплавляется и капли металла стекают в кристаллизатор, образуя жидкую металлическую ванну. По мере оплавления электрод с помощью механизма подается вниз для поддержания расстояния между электродом и металлом.
Рафинирование металла от вредных примесей происходит во время прохождения жидких капель металла через электрическую дугу и с поверхности расплава в кристаллизаторе.
Одним из преимуществ вакуумного дугового переплава является отсутствие контакта жидкого металла с керамическими материалами. Основной недостаток – ограниченное время пребывания металла в жидком состоянии, что существенно снижает рафинирующие возможности вакуума.
Плазменно-дуговая плавка.
Плазменная плавка специальных сталей и сплавов является одним из важных способов получения металла высокого качества. В плазменных печах источником энергии является низкотемпературная плазма (Т = 105 К). Плазмой называется ионизированный газ, в котором концентрации положительных и отрицательных зарядов равны. Степень ионизации низкотемпературной плазмы близка к 1 %. Низкотемпературная плазма получается при введении в дуговой электрический разряд газообразного вещества. В этом случае газ ионизируется и образуется плазма. В металлургии в качестве плазмообразующего газа чаще всего применяют аргон.
Для плавки стали применяют два типа агрегатов: печи с огнеупорной футеровкой и медным водоохлаждаемым кристаллизатором.
Плазменные печи с огнеупорной футеровкой во многом похожи на дуговые сталеплавильные печи. В отличие от дуговых сталеплавильных печей в плазменной печи вместо графитовых электродов устанавливают один или три плазматрона, что зависит от размеров печи. В печах постоянного тока анодом служит ванна жидкого металла, ток к которой подводится через подовой электрод.
Металлургические возможности плазменных печей с нейтральной атмосферой очень широки и металл можно раскислять, десульфурировать, рафинировать от газов и неметаллических включений, легировать азотом.
Слитки полученные этим способом, имеют высококачественную поверхность.
Заключение
Человек с самого раннего возраста привыкает к окружающим его металлическим предметам домашнего обихода. Мы к ним настолько привыкли, что не замечаем и не задумываемся, откуда они берутся.
Современную жизнь нельзя представить без таких металлов и сплавов, как чугун, сталь, алюминий, медь, титан, бронза, золото, серебро и др. Будущее человечества тесно связано с использованием новых сплавов и металлов на металлической основе. Металл – фундамент современной цивилизации, основа основ технического прогресса. И чем выше поднимается человечество по ступеням развития, тем больше его нужда в металлах.
Список литературы:
- Основы металлургического производства (черная металлургия) Москва «Металлургия» 1988
- Энциклопедия «Радость познания», Том 1 «Наука и вселенная» Москва «МИР» 1983
- «Технология металлов и других конструкционных материалов» В.Т.Жадан, Б.Г. Гринберг, В.Я. Никонов. Издание второе.
