Сау нагревом возухонагревателя доменной печиРефераты >> Металлургия >> Сау нагревом возухонагревателя доменной печи
Задачами автоматического управления тепловым режимом воздухонагревателей являются полное и экономичное сжигание топлива, нагрев насадки до заданной температуры с ограничением предельной температуры купола для предотвращения разрушения огнеупоров, автоматическое переключение с режима нагрева на режим дутья и наоборот.
Расход газа на каждый воздухонагреватель II контролируется датчиком 2а в комплекте со вторичным прибором 2б и поддерживается на заданном уровне регулятором расхода 2г с помощью исполнительного механизма 2д с регулирующей заслонкой 2е, установленной на подводе газа к горелке III.
Температура купола стабилизируется системой, состоящей из датчика температуры 1а, вторичного прибора 1б, регулятора 1в и исполнительного механизма 1д, который воздействует на лопатки направляющего аппарата вентилятора IV.
Температура дыма после воздухонагревателя измеряется термоэлектрическим термометром - термопара 4а и вторичный прибор 4б.
Работа системы регулирования нагрева протекает следующим образом. Из схемы автоматического переключения воздухонагревателей поступают сигналы на включение вентилятора и частичное открытие клапана на газопроводе. Если в камере горения вспыхивает факел, то датчик наличия факела 3а даёт разрешение на включение регулятора расхода 2г, который с этого момента начинает поддерживать заданный расход газа. Расход воздуха в этот момент устанавливают с таким расчётом, чтобы коэффициент расхода воздуха был близок к единице. Температура купола начинает возрастать и в некоторый момент времени достигает максимально допустимого значения, установленного задатчиком. С этого момента регулятор 1в начинает увеличивать расход воздуха, открывая лопатки направляющего аппарата вентилятора 1е. При этом температура купола стабилизируется вследствие уменьшения температуры продуктов сгорания, а теплоотдача от газов к насадке воздухонагревателя увеличивается, так как возрастает количество продуктов сгорания и увеличивается скорость их движения по каналам насадки.
По мере прогрева насадки возрастает температура дыма, уходящего из воздухонагревателя. Когда она достигает максимально допустимого значения, заданного задатчиком 4в, корректирующий прибор 4б изменяет задание регулятору расхода газа 2г, не допуская дальнейшего увеличения температуры дыма. Если при этом температура купола несколько снизится, то регулятор температуры 1в сократит расход воздуха и обеспечит повышение температуры купола до заданного значения.
Выбор используемых приборов.
Датчик температуры ТТ 242.
Термоэлектрический датчик ТТ 242 предназначен для измерения температуры газовых потоков в условиях механических и температурных воздействий.
Основные технические характеристики:
Диапазон измерений, ˚С 0 +2000
Сопротивление, Ом 2,6 ± 0,2
Показатель термической инерции, с не более 1,5
Вероятность безотказной работы с вероятностью 0,8 не менее 0,98
Масса, кг не более 0,2
Номинальная статическая характеристика ВР(А)-1, ВР(А)-2, ВР(А)-3
Условия эксплуатации:
Воздействие трёх циклов изменения температуры окружающей среды, ˚С -100 +50
Температура, ˚С:
В месте установки датчика, в зоне укладки кабеля и установки
штепсельного разъёма не более +200
погруженной в контролируемую среду части корпуса датчика не более +800
давление рабочей среды в течение 2 с, МПа 0,4
вибрация в полосе частот 3…20 Гц с ускорением, м/с2 24…40
случайная вибрация в полосе частот 20…2000 Гц со спектральной
плотностью, м•с-2/Гц не более 200
ударные ускорения при частоте ударов 30…10 000 Гц, м/с2 50…50 000
акустический шум в диапазоне 20…4000 Гц с интенсивностью, дБ не более 176
Чувствительным элементом датчика является открытая вольфрам-рениевая термопара с диаметром электродов 0,35 мм. Герметизация датчика и крепление чувствительного элемента в корпусе обеспечивается герметичным выводом из прессматериала ВЭП-1. Кабель датчика состоит из вольфрам-рениевых проводников, изолированных друг от друга и экранированных плетёнкой из нержавеющей стали.
Разработчик: НПО измерительной техники, г. Королёв.
Датчик температуры ТХК 1087.
Термоэлектрический датчик ТХК 1087 предназначен для измерения температуры азотоводородной смеси и газов после сгорания природного газа (H2, N2, CO, O2, H2O, CH4), газообразного и жидкого аммиака, природного газа, конвертированного газа, моноэтанолоаминеового раствора с примесями сероводорода (H2S) и сернистого анигирида (SO2) в допустимых пределах по ГОСТ 12.1.005-76. До 4 ч допускается эксплуатация датчиков при концентрации H2S до 100 мг/м3.
Датчики выпускаются в четырёх конструктивных вариантах. Всего существует 71 заводской вариант исполнения датчика ТХК 1087. Заводские варианты исполнения различаются конструкцией, схемой электрических соединений, материалом защитной арматуры и длиной монтажной части.
Основные технические характеристики:
Диапазон измерения, ˚С 0…+600
Показатель термической инерции, с 20
Масса, кг 1,22
Номинальная статическая характеристика XK(L)
Давление рабочей среды, МПа 16
Защищённость от воздействия окружающей среды со стороны выводов IP55
Виброустойчивость - исполнение N4 по ГОСТ 12997-84
Вид взрывозащиты - взрывонепроницаемая оболочка по ГОСТ 22782.6-81
Маркировка по взрывозащите 2ExdIICT6.
Материал защитной арматуры - сталь 12X18H10T
Изготовитель: Луцкий приборостроительный завод ПО Электротермия, г. Луцк, Украина.
В качестве элемента 3а выберем фотосигнализатор пламени.
Входной сигнал - низкочастотная пульсация света с длиной волны от1 до 3 мкм в диапазоне 6-12 Гц. Выходной сигнал - замыкание контактов реле контроля пламени.
ТУ 311.00225549.084-92.
ФСП 1.1 42.1878.
Изготовитель: Московский завод тепловой автоматики.
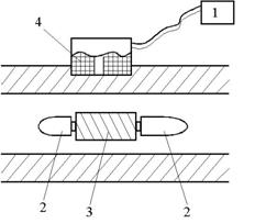
Турбинный расходомер состоит из 3-х основных элементов: турбинный первичный преобразователь расхода 3, вторичный преобразователь частоты вращения 4, регистрирующей измерительной системы 1, 2 - подшипник.
Турбинные приборы в качестве первичного преобразователя имеют как правило аксиальные трубки, оси которых совпадают с осью трубопровода, на имеют механической связи с каким-либо измерительным или счётным устройством, за счёт этого снижается погрешность измерения.
В качестве элемента 2а выберем расходомер фирмы Singer, модель 12 GT; эта модель имеет рабочее давление 10 МПа, расход 4250-415000 м3/ч, погрешность ±1.
Выбор регулятора
Исходными данными к расчёту регулятора являются статические и динамические параметры объекта, то есть коэффициент объекта Коб, чистое запаздывание
и постоянная времени
. Тип регулятора выбирают исходя из следующих рекомендаций:
