К155ие9Рефераты >> Радиоэлектроника >> К155ие9
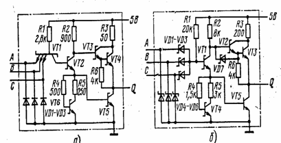
Если от переключателя S1 подать входное напряжение низкого уровня (ноль потенциала), токпрекратится и транзистор практически без задержки перейдет от насыщения к состоянию отсечки (т. е. выключится, разомкнется), так как он находился ранее на грани линейного и насыщенного режимов. Подругому, в объеме его базовой области, как в микроскопическом аккумуляторе, не были накоплены избыточные заряды.Отметим, что поскольку напряжение между базой и коллектором удерживалось на уровне нескольких десятых долей вольта (диод VD1 обычный, кремниевый), напряжение низкого выходного уровня для элемента РТЛ с ограничением тока насыщения (рисунок 5, а) может увеличиться до 1 В (вместо 0,3 В при насыщаемом ключе).
В схеме на рисунок 5,б транзистор VT1 удерживается от перехода в насыщение шунтирующим диодом Шотки VD1 с низким порогом открываиия. Здесь напряжение = О.З В, поэтому напряжение U повысится мало. На рисунке 5, в предыдущая схема заменена единым символом—транзистором Шотки. Этот транзистор не переходит в глубокое насыщение, у него очень мало время рассасывания накопленных в базе носителей. Логические элементы на основе транзисторов Шотки имеют очень малое время задержки отключения.
На основе транзисторов Шотки в начале 70-х годов были выпущены первые микросхемы двух основных современных серий ТТЛ. На рисунке 7, а показана схема высокоскоростного логического элемента, применяемого как
а-ТТЛШ; 6-МмТТЛШ
Рисунок 6 - Принципиальные схемы логических элементов с переходом Шотки:
основа микросхем серии К531. Аналогичная зарубежная серия называется 74S; здесь S — начальная буква фамилии немецкого физика Шотки (Schottky), открывшего физический эффект, оказавшийся для электроники столь важным.
В этом элементе вместо эмиттерного резистора (см. R3 на рисунке 5, а) для улучшения формы импульса использован нагрузочный генератор тока—транзистор VT4 с резисторами R4, R5. Отметим, что номиналы остальных резисторов в элементах серий К131 и К531 (сравните рисунок 4,а и 6,а) почти одинаковые. Из-за этого близки значения мощности потребления Рпот, однако время 1ад,р,ср для инвертора серии К531 снижено до 3 нс, что обусловило потребление энергии на 1 бит информации Энoтss;19•3=57 пДж.
На рисунке 6,б показана схема элемента, на котором основаны микросхемы серии К555. Аналогичная зарубежная серия имеет название74LS (т. е. low Schottky — что можно трактовать как экономичная серия с применением переходов Шотки). Для Микросхем серии К555 мощность, потребляемая одним элементом, Рпот =2 мВт ,поэтому потребляемая энергия переключения Эяот =19пДж.
В электрической схеме элемента серии К555 вместо многоэмиттерного транзистора использована матрица диодов Шотки. Микросхемы серии К555, как нетрудно видеть из Сравнительной таблицы параметров, по быстродействию соответствуют серии К 155 (потребляемый ток уменьшен в пять раз!), по экономичности уступают микросхемам серии К134 (I мВт) всего в 2 раза, но в итоге потребляют энергию на перенос 1 бита информации в 1,5 раза меньше. Сейчас микросхемы серии К555 вытеснили из аппаратуры серию К134 и по мере наращивания номенклатуры служат эффективной заменой для микросхем самой массовой, стандартной серий К155.
Микросхемы серии К531 потребляют энергию на перенос 1 бита, в 2,3 раза меньшую, чем у микросхем старой серии К131, из-за чего она также стала неперспективной Логические уровни и допустимые напряжения на входах и выходах микросхем этих серий отличаются незначительно. Однако для микросхем серий К155 и К531 велики входные токи низкого уровня 1 соответственно 1,6 и 2,0 мА для одного входа. Сила этого тока для микросхем серии К555 и К1531 в 3—4 раза меньше. Допустимый стекающий выходной ток низкого уровня для серии К531 в 2,5 раза больше, чем для серии К555. Кроме того, в составе каждой серии выпускаются так называемые буферные логические элементы, допустимый ток 1 для которых увеличен еще примерно в 3 раза.
Рассмотрим другой крайний случай взаимного применения микросхем ТТЛ. Буферный выход (самый мощный среди ТТЛ) микросхемы серии К531 может обеспечить стенание входного тока от 150 логических элементов серии К555 (1вых —150 ¸ 60 мА). Отметим, что буферный элемент серии К555 имеет более высокую нагрузочную способность, чем простой выход микросхемы серии К531.
При совместном использовании микросхем ТТЛ высокоскоростных, стандартных и микромощных следует учитывать, что микросхемы серии К531 дают увеличенный уровень помех по шинам питания из-за больших по силе и коротких по времени импульсов сквозного тока короткого замыкания выходных транзисторов логических элементов. Часть печатной платы с микросхемами серии К531 должна иметь отдельные, очень низкоомные шины питания. Токоведущие сигнальные дорожки должны быть кратчайшими, чтобы не излучались помехи.
Серии с повышенными входным и выходным сопротивлениями (например, К555) более чувствительны к помехам-наводкам и к помехам по питанию, чем мощные серии. Маломощную часть устройства требуется защитить экраном и заградительными фильтрами по питанию. Проводники на печатной плате, по которым передаются выходные сигналы микросхем серии К531, не должны проходить рядом с токоведу-щими дорожками входных сигналов микросхем серии К555. При совместном применении микросхем серий К155 и К555 помехи невелики.
Выходы однокристальных, т. е. расположенных в одном корпусе, логических элементов ТТЛ, можно соединять вместе. При этом надо учитывать, что импульсная помеха от сквозного тока по проводу питания пропорционально возрастет. Реально на печатной плате остаются неиспользованные входы и даже микросхемы (часто их специально «закладывают про запас») Такие входы логического элемента можно соединять вместе, при этом ток 1 не увеличивается. Однако для элементов серии К555 входы соединять не следует, чтобы не повышалась паразитная входная ёмкость элемента. На неиспользуемые входы можно подать напряжение высокого уровня от выхода свободного логического элемента, заземлив при этом его вход.
Как правило, микросхемы ТТЛ с логическими функциями И, ИЛИ потребляют от источников питания меньшие токи, если на всех входах присутствуют напряжения низкого уровня. Из-за этого входы таких неиспользуемых элементов ТТЛ следует заземлять.
4 Описание микросхемы К155ИЕ9
Таблица – 1. Электрические параметры микросхемы К155ИЕ9
|
Параметр |
Значение |
Режим изменения |
|
I0,мА I1,мА U0,В U1,В Вход 2 – выход 14,13,12,11 в режиме счёта в режиме записи Вход 2 – выход 15 Вход 10 – выход 15 Вход 1 – выход 14 Вход 1 – выходы 13,12,11 Вход 2 – выход 14 в режиме счёта в режиме записи Вход 2 – выход 15 Вход 10 – выход 15 Вход 2 – выходы 13,12,11 в режиме счёта в режиме записи |
101 94 0.4 2.4 23 29 35 16 38 38 20 25 35 16 20 25 |
1.2 1.2 1,3,4 1,3,5 1.6 1.6 1.6 1.6 1.6 1.6 1.6 1.6 1.6 1.6 1.6 1.6 |
