К155ие9Рефераты >> Радиоэлектроника >> К155ие9
Примечание: Т = 25 0С.
Таблица – 2. Предельно допустимые электрические режимы эксплуатации (К155)
|
Т = -10 ¸ +70 0С Кратковременное (в течении до 5 мс) максимальное напряжение питания – 7 В Максимальное напряжение источника питания – 6 В Минимальное напряжение на входе микросхемы – 0.4 В Максимальное напряжение на входе микросхемы и между эмитерами – 5.5 В Минимальное напряжение на выходе микросхемы – 0.3 В |
Рисунок 7 – Цекалёвка микросхемы
Таблица – 3. Обозначение входов и выходов
|
N выв. |
Назначение |
N выв. |
Назначение |
|
1 |
Вход установки |
9 |
Вход разрешения за- |
|
2 |
Вход синхронизации |
писи U2 | |
|
3 |
Вход информационный |
10 |
Вход разрешения пе- |
|
4 |
Вход информационный |
реноса Р1 | |
|
5 |
Вход информационный |
11 |
Выход 4 разряда |
|
6 |
Вход информационный |
12 |
Выход 3 разряда |
|
7 |
Вход разрешения |
13 |
Выход 2 разряда |
|
счета U1 |
14 |
Выход 1 разряда | |
|
15 |
Выход переноса | ||
|
8 |
Общий |
16 |
Ucc |
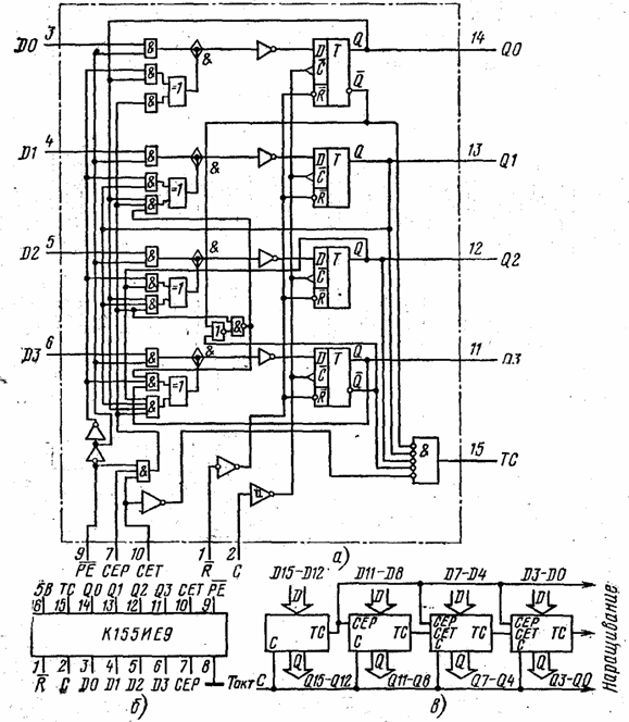
Микросхема К155ИЕ9 – декадный двоично – десятичный счетчик. Он запускается положительным перепадом тактового импульса и имеет синхронную загрузку (предварительную установку каждого триггера). Несколько счетчиков ИЕ9 образуют синхронный многодекадный счетчик. Сброс всех триггеров асинхронный по общему входу сброса R.
Принципиальная схема высокоскоростного синхронного счетчика отличается внутренней логикой ускоренного переноса и тем, что все триггеры получают перепад тактового импульса одновременно. Изменения выходных состояний триггеров совпадают по времени, поэтому в выходных импульсных последовательностях нет пиковых помех (клыков). Запускающий тактовый фронт импульса – положительный, причем для варианта этой микросхемы с переходами Шоттки буферный элемент тактового входа имеет порог Шмитта с гистерезисом Т400 мВ, что уменьшает чувствительность к импульсным помехам, а также обеспечивает устойчивое переключение триггеров при медленно нарастающем перепаде тактового импульса.
Счетчик ИЕ9 – полностью программируемый, поскольку на каждом из его выходов можно установить требуемый логический уровень. Такая предварительная установка происходит синхронно с перепадом тактового импульса и не зависит от того, какой уровень присутствует на входах разрешения счета СЕР и СЕТ. Напряжение низкого уровня, поступившее на вход параллельной загрузки РЕ, останавливает счет и разрешает подготовленным на входах DO—D3 данным загрузиться в счетчик в момент прихода следующего перепада тактового импульса (от уровня Н к В).
Сброс у счетчика ИЕ9 – асинхронный. Если на общий вход сброса R поступило напряжение низкого уровня, на выходах всех четырех триггеров устанавливаются низкие уровни независимо от сигналов на входах С, РЕ, СЕТ и СЕР. Внутренняя схема ускоренного переноса необходима для синхронизации многодекадной цепи счетчиков ИЕ9. Специально для синхронного каскадирования микросхема имеет два входа разрешения: СЕР (параллельный) и СЕТ (вспомогательный, с условным названием «трюковый»), а также выход ТС (окончание счета).
Счетчик считает тактовые импульсы, если на обоих его входах СЕР . и СЕТ напряжение высокого уровня. Вход СЕТ последующего счетчика 'получает разрешение счета в виде напряжения высокого уровня от выхода ТС предыдущего счетчика. Длительность высоких уровнейна выходе ТС примерно соответствует длительности высокого уровня на выходе QO предыдущего счетчика.
На рисунке 8, в показана схема соединения четырех микросхем ИЕ9 в быстрый синхронный 16-разрядный счетчик.
Для счетчиков ИЕ9 не допускаются перепады от высокого уровня к низкому на входах СЕР и СЕТ, если на тактовом входе присутствует напряжение низкого уровня. Нельзя подавать положительный перепад на вход РЕ, если на тактовом входе присутствует напряжение низкого уровня, а на входах СЕР и СЕТ — высокого (во время перепада или перед ним). Сигналы на входах СЕР и СЕТ можно изменять, если на тактовом входе С присутствует напряжение низкого уровня. Когда на входе РЕ появляется высокий уровень, а входы СЕ не активны (т. е. не используем СЕР и СЕТ и наних остается низкий уровень), то вместе с последующим положительным перепадом тактового импульса на выходах QO—Q3 появится код от входов DO—D3.
Запуская напряжениями высокого уровня входы СЕТ и СЕР во время низкоуровневой части тактового периода, получим на выходах наложение кодов загрузки и внутреннего счета. Если во время низкоуровневой части периода тактовой последовательности на входы СЕТ, СЕР и РЕ поданы положительные перепады, нарастающие от низкого уровня к высокому, тактовый перепад изменит код на выходах QO—Q3 на последующий.
При входных сигналах высокого уровня счетчик К155ИЕ9 (74160) потребляет ток питания 94 мА, К555ИЕ9 (74 LS160A) 32 мА; если все выходные сигналы имеют низкий уровень, то 101 и 32 мА соответственно. Максимальная частота счета 25 МГц. Время распространения сигнала от входа С до выхода ТС («Счет закончен») составляет 35 и 27 нc, а время сброса (от входа R до выходов Q) 38 и 28 не для обычного исполнения и варианта Шоттки.
