Доклад по волоконной оптикеРефераты >> Технология >> Доклад по волоконной оптике
Снаружи световода располагается защитное покрытие для предохранения его от механических воздействий и нанесения расцветки. Защитное покрытие обычно изготавливается двухслойным: вначале кремнеорганический компаунд (СИЭЛ), а затем—эпоксидакрылат, фторопласт, нейлон, полиэтилен или лак. Общий диаметр волокна 500 .800 мкм (рис. 1).
![]() |
Рис. 1. Сечение оптического волокна:
1— сердцевина ; 2 — оболочка ; 3 — защитное покрытие
![]() | ![]() | ||
![]() |
Рис. 2. Оптические волокна:
а — профиль показателя преломления; б — прохождение луча; 1 — ступенчатые; 2 — градиентные; 3 — одномодовые
По частотно-пропускной способности и дальности передачи лучшими являются одномодовые световоды, а худшими — ступенчатые.
Важнейшая проблема оптической связи — создание оптических волокон (ОВ) с малыми потерями. В качестве исходного материала для изготовления ОВ используется кварцевое стекло , которое является хорошей средой для распространения световой энергии. Однако, как правило, стекло содержит большое количество посторонних примесей, таких как металлы (железо, кобальт, никель, медь) и гидроксильные группы (ОН). Эти примеси приводят к существенному увеличению потерь за счет поглощения и рассеяния света. Для получения ОВ с малыми потерями и затуханием необходимо избавиться от примесей, чтобы было химически чистое стекло.
В настоящее время наиболее распространен метод создания ОВ с малыми потерями путем химического осаждения из газовой фазы.
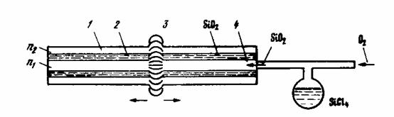
Получение ОВ путем химического осаждения из газовой фазы выполняется в два этапа: изготовляется двухслойная кварцевая заготовка и из нее вытягивается волокно. Заготовка изготавливается следующим образом (рис. 3).
![]() |
Рис. 3. Изготовление заготовки методом химического осаждения из газовой фазы:
1—опорная трубка (оболочка ); 2—осажденные продукты (сердцевина ); 3—нагревательная спираль; 4 — газообразный поток кварца
Во внутрь полой кварцевой трубки с показателем преломления длиной 0,5 .2 м и диаметром 16 .18 мм подается струя хлорированного кварца и кислорода . В результате химической реакции при высокой температуре (1500 .1700° С) на внутренней поверхности трубки слоями осаждается чистый кварц . Таким образом, заполняется вся внутренняя полость трубки, кроме самого центра. Чтобы ликвидировать этот воздушный канал, подается еще более высокая температура (1900° С), за счет которой происходит схлопывание и трубчатая заготовка превращается в сплошную цилиндрическую заготовку. Чистый осажденный кварц затем становится сердечником ОВ с показателем преломления , а сама трубка выполняет роль оболочки с показателем преломления . Вытяжка волокна из заготовки и намотка его на приемный барабан производятся при температуре размягчения стекла (1800 .2200° С). Из заготовки длиной в 1 м получается свыше 1 км оптического волокна (рис. 4).
![]() |
Рис. 4. Вытягивание волокна из заготовки:
1 — заготовка; 2 — печь; 3 — волокно; 4 — приемный барабан
Достоинством данного способа является не только получение ОВ с сердечником из химически чистого кварца, но и возможность создания градиентных волокон с заданным профилем показателя преломления. Это осуществляется: за счет применения легированного кварца с присадкой титана, германия, бора, фосфора или других реагентов. В зависимости от применяемой присадки показатель преломления волокна может изменяться. Так, германий увеличивает, а бор уменьшает показатель преломления. Подбирая рецептуру легированного кварца и соблюдая определенный объем присадки в осаждаемых на внутренней поверхности трубки слоях, можно обеспечить требуемый характер изменения по сечению сердечника волокна.
Конструкции оптических кабелей
![]() |
Рис. 5. Типовые конструкции оптических кабелей:
а—повивная концентрическая скрутка; б—скрутка вокруг профилированного сердечника; в—плоская конструкция; 1— волокно; 2— силовой элемент; 3— демпфирующая оболочка; 4—защитная оболочка; 5—профилированный сердечник; 6— ленты с волокнами
Однако все многообразие существующих типов кабелей можно подразделять на три группы (рис.5):
8. кабели повивной концентрической скрутки
9. кабели с фигурным сердечником
10. плоские кабели ленточного типа.
Кабели первой группы имеют традиционную повивную концентрическую скрутку сердечника по аналогии с электрическими кабелями. Каждый последующий повив сердечника по сравнению с предыдущим имеет на шесть волокон больше. Известны такие кабели преимущественно с числом волокон 7, 12, 19. Чаще всего волокна располагаются в отдельных пластмассовых трубках, образуя модули.
Кабели второй группы имеют в центре фигурный пластмассовый сердечник с пазами, в которых размещаются ОВ. Пазы и соответственно волокна располагаются по геликоиде, и поэтому они не испытывают продольного воздействия на разрыв. Такие кабели могут содержать 4, 6, 8 и 10 волокон. Если необходимо иметь кабель большой емкости, то применяется несколько первичных модулей.







