Исследование горячеломкости литейных сплавов на основе систем Al-Si, Al-Cu, Al-Si-CuРефераты >> Металлургия >> Исследование горячеломкости литейных сплавов на основе систем Al-Si, Al-Cu, Al-Si-Cu
Модификаторы микроструктуры почти совсем не используются как технологические добавки, специально предназначенные для снижения горячеломкости. Вместе с тем этот способ борьбы с кристаллизационными трещинами представляют практическую ценность. Например, введение 0.1% Zr в алюминиево-магниевый сплав поднимает нижнюю границу интервала хрупкости и сужает этот интервал благодаря тому, что включения эвтектической жидкости получаются более дисперсными.
Одним из очень интересных способов снижения горячеломкости высокопрочных сплавов-растворов является введение таких технологических добавок, которые образуют по границам зёрен протяжённые прослойки неравновесной эвтектической или перитектической составляющей, причём при нагреве сплава под закалку или специальную гомогенизацию эта составляющая рассасывается. Последнее условие является важнейшим, так как в противном случае ухудшаются эксплуатационные свойства. Следовательно, почти всё количество эвтектики, образующееся при введении технологической добавки, должно быть неравновесным. Например, добавка 0.5% Ce к жаропрочному сплаву АЛ19 уменьшает показатель горячеломкости по кольцевой пробе с 75 до 10 % (диаметр стержня – 44 мм), не ухудшив механических свойств при 300° (неравновесная эвтектика в сплаве АЛ19 с добавкой церия в значительной мере рассосалась при ступенчатом нагреве под закалку до 525° в течение 9 часов и до 535° в течение 12 часов). Это малоизученное направление снижения горячеломкости высокопрочных сплавов может оказаться весьма перспективным.
Ещё одна возможность снизить горячеломкость введением технологических добавок состоит в утолщении жидких прослоек, а значит, и в повышении относительного удлинения внутри интервала хрупкости, не за счёт увеличения количества эвтектики, а в результате расширения приграничных ликвационных зон твёрдого раствора. В этом направлении пока ничего не сделано, хотя оно также может оказаться перспективным.
Путь использования малых технологических добавок является одним из наиболее важных, так как он в принципе позволяет сильно снизить горячеломкость, не ухудшая эксплуатационных свойств сплава.
Повышение газосодержания расплава может привести к снижения температуры начала линейной усадки, уменьшению темпа её нарастания при падении температуры в эффективном интервале кристаллизации и тем самым снизить горячеломкость. Было предложено вводить в алюминиевый расплав водород в таких количествах, чтобы заметно снизилась горячеломкость, а пористость увеличивалась бы незначительно. Хотя этот способ и был опробован в заводских условиях с положительным результатом, но вряд ли он может найти сколько-нибудь заметное промышленное применение, так как обычно стремятся полнее дегазировать расплав для повышения герметичности и механических свойств. Однако полезное действие газа на горячеломкость необходимо иметь в виду и, если изделие трудно получить без кристаллизационных трещин, то не следует производить полной дегазации, оставив в расплаве попавший в него естественным путём газ (при условии получения необходимых эксплуатационных свойств).
1.3. ЛИТЕЙНЫЕ ПРОБЫ НА ГОРЯЧЕЛОМКОСТЬ
Для оценки горячеломкости сплавов не разработано общепризнанных проб. Иногда «новые» пробы полностью или почти полностью повторяют те, которые были предложены значительно раньше.
Литейные пробы на горячеломкость трудно разделять на классы, потому что их очень много. Однако среди всех существующих проб можно выделить три основные группы в соответствии с тем, что принимается за показатель горячеломкости или противоположную ей характеристику – сопротивляемость образованию трещин.
1.3.1. В первой группе проб показателем горячеломкости является размер трещин при неизменной геометрии отливки. Так как жёсткость пробы постоянна, то размеры трещин могут характеризовать горячеломкость сплава.
Была разработана чрезвычайно простая кольцевая проба, которая в разных модификациях быстро завоевала популярность при исследовании цветных сплавов. Сплав заливается без специальной литниковой системы прямо в открытую полость формы – простейший кокиль со стальным стержнем. На поверхности кольцевой отливки измеряется суммарная длина трещин, являющаяся показателем горячеломкости. Впоследствии эта проба была ещё более упрощена тем, что стали измерять не суммарную длину трещин, а относительную длину основной трещины.
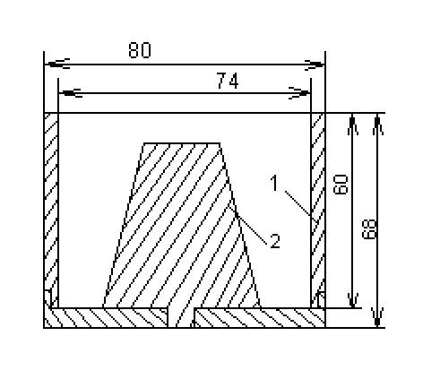
Как показали подробные исследования двойных и тройных систем на основе алюминия, проведённые в конце 40-х годов в Бирмингемском университете, кольцевая проба обладает довольно высокой чувствительностью к небольшим изменениям состава и хорошей воспроизводимостью результатов опытов. Кольцевая проба чрезвычайно проста, производительна, требует сравнительно небольшого расхода металла и позволяет в лабораторных условиях быстро наладить массовые исследования. На рисунке 5 показан кокиль для отливки кольцевой пробы. Для каждой серии сравниваемых сплавов диаметр стального стержня целесообразно подбирать в предварительных опытах так, чтобы наиболее горячеломкий сплав данной серии давал возможно более длинную трещину (но не длиннее, чем периметр радиального сечения кольца), а наименее горячеломкий сплав давал возможно более короткую трещину.
В пределах одной серии сравниваемых сплавов диаметр стального стержня кокиля должен быть постоянным (так же, как внешний диаметр и высота кольца). Тогда проба для всех сплавов этой серии обладает постоянной жёсткостью ( постоянной степенью локализации усадочных деформаций), и сплавы можно сравнивать по длине трещин на поверхности кольца. Необходимо подчеркнуть, что нельзя сравнивать по длине трещин сплавы из разных серий опытов, не учитывая диаметр стержня кокиля, так как при
Рис. 5 Кокиль для кольцевой пробы на горячеломкость
1 – съёмный стакан; 2 – стержень
разных диаметрах стержня кольцевые пробы обладают разной жёсткостью. Чем больше диаметр стержня, тем больше жёсткость пробы. Именно поэтому, приводя сведения о горячеломкости, необходимо указывать диаметр стального стержня, использованного при отливке кольцевой пробы. В большинстве случаев достаточно шести повторных опытов (заливок), чтобы надёжно определить показатель горячеломкости (суммарную длину всех трещин или относительную длину основной трещины). Длину трещины, которая бывает весьма извилиста, удобно измерять с помощью простого приспособления: укреплённое на конце рукоятки зубчатое колесо катится вдоль трещины и подсчитывает число полных его оборотов, а при неполном обороте – число зубьев, коснувшихся поверхности кольца.
Кристаллизационная трещина в принципе может развиваться в длину как в интервале кристаллизации, так и при температуре ниже солидуса. Поэтому естественен вопрос, какова уверенность в том, что на кольцевой пробе измеряется длина трещин чисто кристаллизационного происхождения. Фрактологический анализ многочисленных кольцевых проб из самых разнообразных цветных сплавов наглядно показал, что в подавляющем большинстве случаев на всей своей длине трещины на поверхности кольца имели кристаллизационное происхождение. Кроме того, данные о запасе пластичности в твёрдо-жидком состоянии и результаты измерения длины трещин на кольцевых пробах, как правило, очень хорошо согласуются. Следовательно, за редкими исключениями, (например, сплавы с очень высокой хрупкостью в твёрдом состоянии), на кольцевых пробах измеряется длина именно кристаллизационных трещин. Это не значит, что все получаемые с помощью кольцевой пробы сплавы не склонны к образованию холодных трещин. Рассматриваемая кольцевая проба обладает сравнительно небольшой жёсткостью, и поэтому холодные трещины на ней при изучении цветных сплавов появляются крайне редко. Само образование радиальной кристаллизационной трещины приводит к разрядке усадочных напряжений в кольце и этим уменьшает вероятность образования холодной трещины в нём. В то же время при непрерывном литье, когда в охлаждаемом водой слитке возникают очень большие термические напряжения, в кокильных отливках сложной конфигурации и при сварке, когда наблюдается сильная концентрация усадочных напряжений, типичные холодные трещины могут появиться и у тех сплавов, у которых, согласно кольцевой пробе, проявляется только горячеломкость.
