Применяемые Финансовые Информационные Системы
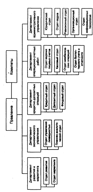
Департамент развития и маркетинга банка, как правило, включает два отдела.
Отдел развития обеспечивает анализ внешней ситуации и, согласовав его с оценкой внутренней ситуации в банке, подготавливает возможные направления политики банка и продвижения его услуг на рынок. Эти решения должны согласовываться с генеральными целями, утвержденными правлением банка.
Отдел маркетинга осуществляет оценку конъюнктуры рынка банковских услуг, анализирует соответствие номенклатуры, качества и цены собственных услуг уровню рынка, продвигает свои услуги на рынок, вырабатывая для этого рекламную политику. Этот отдел обеспечивает связь с клиентурой и с общественностью. В развитом обществе существенным является не только объем и качество оказываемых услуг, но и соответствие принятым нормам (поддержка науки, искусства, внимание к окружающей среде). Отдел, с одной стороны, информирует руководство банка обо всех важных событиях вне банка, с другой стороны, объясняет общественности цели банка, его стратегию.
Департамент экономического управления обеспечивает тактическое управление и включает планово-аналитический отдел и отдел управления ликвидностью. Тактический уровень управления необходим для детализации стратегических целей до уровня мероприятий и отслеживания их в дальнейшем как целей, носящих траекторный характер.
Рис. 6 Организационная структура коммерческого банка.
Отдел управления ликвидностью осуществляет расчет показателей ликвидности банка, их факторный анализ и ежедневный контроль.
Планово-аналитический отдел, изучая внутренние банковские показатели, устанавливает планы сбыта (например, число открываемых новых счетов), финансовый план, планирует внутренние мероприятия. Отдел рассчитывает ожидаемую сумму пассивов и решает задачу их эффективного размещения. Проводятся анализ структуры активов и пассивов банка по группам и оценка эффективности соотношения между ними. При этом должно соблюдаться «золотое правило»: длинные кредиты должны покрываться длинными депозитами и т.д.
Департамент кредитив - депозитных операций включает кредитный, депозитный и фондовый отделы.
Кредитный и фондовый отделы дополняют друг друга, не только выполняя принятую стратегию банка в кредитной и инвестиционной политике, но и оперативно реагируя на требования, выдвигаемые сложившейся экономической ситуацией на рынке капитала. Например, в период экономического роста объем ссуд увеличивается, а портфель ценных бумаг сокращается; в периоды низкого спроса на ссуды картина меняется.
Функции кредитного и депозитного отделов, несмотря на принципиально разное содержание их операций, по форме очень близки. Сходство функций выражается в необходимости выполнения весьма трудоемких работ по проверке и соблюдению целого ряда формально-правовых принципов кредитования, которые должны соблюдаться как кредиторами, так и заемщиками. Отличие обусловливается тем, кто является ссудозаемщиком, а кто кредитором, - банк или клиент. В любом случае, как и при выполнении большинства услуг банка, взаимоотношения клиента и банка регулируются договором, который они заключают. Проверка кредитоспособности является предпосылкой для всех других действий банка по отношению к ссудозаемщику, т.е. осуществляются анализ возможности обеспечения выплаты кредита и своевременность взносов, процентов и других платежей физическим и юридическим лицом. Эта проверка требует анализа баланса заемщика, ликвидности залога, ежегодного финансового отчета и ряда других регистров, содержащих показатели работы предприятия.
Департамент операционно-учетных работ (ОУР) реализует весь комплекс задач по открытию и закрытию лицевых счетов, выполнению кассовых операций, ведению лицевых счетов, выполнению расчетов по поручению каждого клиента, ведению межбанковских операций, ведению бухгалтерского учета на синтетическом уровне и составлению отчетности, которая используется как самим банком (ревизия и контроллинг), так и учреждениями внешней среды (вышестоящие, налоговые и другие органы). Этот департамент выполняет следующие функции:
• расчет и распределение доходов и налогов между бюджетами;
• учет расчетно-платежных документов до наступления срока платежа и не оплаченных в срок;
• обеспечение правильных и своевременных расчетов между клиентами;
• начисление и списание процентов по текущим и расчетным счетам;
• учет ценностей и документов на внебалансовых счетах;
• учет срочных обязательств по ссудам;
• депонирование средств для выдачи чековых книжек, аккредитивов и акцептов платежных поручений;
• организация и контроль операций межфилиального оборота; .
• составление баланса.
реализация этих функций поддерживается работой соответствующих отделов.
Операционный и бухгалтерский учет в банке взаимосвязаны гораздо более тесно, чем на промышленном предприятии, что обусловлено ежедневным составлением баланса и необходимостью поддержания в актуальном состоянии всех аналитических (лицевых) счетов. Назначение комплекса учетно-операционных работ:
• формирование полной информации о финансовом состоянии клиентов в реальном масштабе времени;
• ведение аналитического и синтетического учета по всем банковским операциям.
Департамент административного управления обеспечивает работу отделов, создаваемых при дирекции (юридический отдел, отдел кадров, ревизионный и организационный отделы), и хозяйственно-управленческих отделов (отдел информационных технологий и др.), которые входят в обычный состав управленческой структуры любого предприятия и в данной работе не рассматриваются.
В случае, если банк начинает выполнять новые операции (факторинговые, лизинговые, трастовые и др.), приведенная структура управления может быть соответствующим образом скорректирована.
Состав операций, осуществляемых банком на рынке услуг, достаточно сильно влияет на структуру управления банком.
Важнейшей функцией деятельности банка является привлечение средств из внешней среды и размещение их с максимальной доходностью и допустимым риском. При размещении временно свободных средств банк должен выполнять ряд требований, которые обеспечивали бы соблюдение необходимых нормативов, определенных НБУ и гарантирующих его , ликвидность.
Одна из особенностей украинских коммерческих банков заключается в том, что их деятельность, несмотря на формальную специализацию, носит в большинстве случаев универсальный характер. Это определяет в целом схожесть палитры услуг, а также определяет выбор структуры управления банком. Итак, банк - коммерческое учреждение, являющееся юридическим лицом, которому в соответствии с Законом о банках и на основании лицензии (разрешения), выдаваемой Центральным банком РФ, предоставлено право привлекать денежные средства от юридических и физических лиц и от своего имени размещать их на условиях возвратности, платности и срочности, а также осуществлять иные банковские операции. Таким образом, функции банка заключаются в аккумуляции временно свободных средств и размещении их оптимальным образом, а также в содействии платежному обороту и трансформации рисков. Аккумуляция временно свободных средств предполагает привлечение вкладов всех видов (депозитов - срочных и до востребования, сберегательных вкладов) и выпуск ценных бумаг (акций, облигаций и др.). Размещение средств в кредиты зависит от периода и способов кредитования (по договору, через покупку долговых обязательств, через принятие ответственности перед третьим лицом - гарантийный либо акцептный кредит). Последний способ фактически реализует трансформацию риска. Содействие платежам -выполнение платежных операций клиента, оплата переводов, чеков, векселей и других документов. Кроме того, банк выполняет операции по покупке и продаже валюты и фондовых ценностей, размещению акций и облигаций, хранению ценных бумаг.
