Применяемые Финансовые Информационные Системы
Возможной структурой построения интегрированной БИС может служить структура (рис.21), включающая в себя наиболее распространенные в наших программных продуктах АРМ и блоки.
На основе проведенного аналитического обзора рынка Украинских БИС был выделен и скомпонован состав АРМ и определены их функции для условной интегрированной БИС. В реальной интегрированной БИС такое выделение зависит от структуры управления, разделения управленческих функций и целей, а также от выбранного подхода к проектированию системы и многих других факторов. В структуре БИС в процессе ее разработки выделяют перемещаемые блоки, которые обеспечивают выполнение некоторых стандартных банковских технологий: обслуживание договоров (кредитного, депозитного, трастового, договора на расчетно-кассовое обслуживание и др.), обслуживание процентов по различным договорам, обслуживание штрафных процентов и др. Перемещаемые блоки после соответствующей настройки и функционально специализированные программы образуют АРМ конкретных рабочих мест.
Здесь (см. рис. 7) имеется ряд АРМ, которые необходимы относительно полноценности управления, но отсутствуют как самостоятельные в большинстве БИС: АРМ специалиста по маркетингу, АРМ сотрудника
Рис. 7. Структура интегрированной БИС.
по управлению активами и пассивами, АРМ аналитика, АРМ планировщика, АРМ сотрудника по управлению ликвидностью и др.
Блок информационного обеспечения руководства предназначается для поддержки и принятия решений руководства банка и формирует аналитическую информацию по результатам деятельности банка. Обычно этот блок выполняется в виде АРМ, который реализует получение сведений о ликвидности банка и другой стратегической информации, а также данных о состоянии счетов, архивных справок и пр.
Если банк обладает филиалами, то в его структуре предусматривается отдел, обеспечивающий обмен информацией с ними в режиме on-line с ис^-пользованием телекоммуникационных каналов через АРМ коммуникаций либо в режиме off-line на основе электронной почты, дискетой или бумажной технологии. АРМ по работе с филиалами дает сотруднику возможность ввода информации о финансовых операциях филиалов, учета их деятельности при формировании консолидированного баланса, анализа деятельности филиалов и расчета для них нормативных коэффициентов.
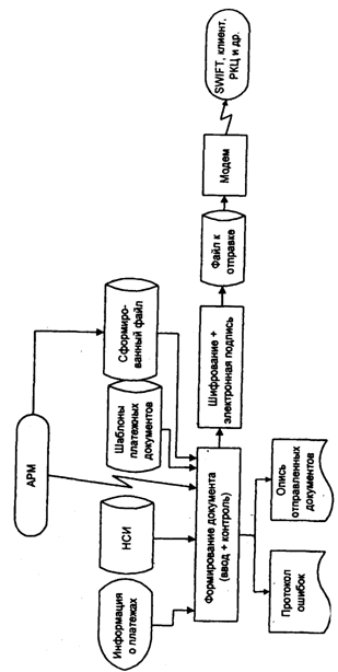
Работа с, внешней средой осуществляется по каналам телекоммуникаций через АРМ коммуникаций. АРМ обеспечивает экспорт-импорт информации, т.е. двусторонний обмен данными с внешними абонентами: ЦБ РФ (ГВЦ ОПЕРУ, РКЦ), филиалами, системой межбанковских расчетов, процессинговым центром (Union Card, STB-Card и др.), пунктом обмена валюты, клиентами, биржей и пр. При использовании телекоммуникационной среды происходят трансформация передаваемой информации в определенный стандарт, ее шифрование (обычным способом и с применением электронной подписи) и установление связи: либо напрямую с использованием телефонных и других каналов, либо через какую-либо компьютерную сеть (рис. 8).
Для обеспечения взаимодействия по схеме клиент-банк у клиента устанавливается программный комплекс АРМ клиента, который позволяет:
вводить, редактировать платежные документы с использованием типового набора бланков, печатать подготовленные документы, шифровать и дешифровать информацию и обеспечивать авторизацию через механизм электронной подписи, отправлять и принимать документы, файлы и сообщения. В банке внутри базового блока устанавливается для взаимодействия с клиентом АРМ банка. Этот комплекс обеспечивает через АРМ коммуникаций аналогичные функции по взаимодействию с клиентом, поддерживает архивы взаимодействия с клиентом и отправляет поступившие платежные документы по ЛВС на обработку в нужный АРМ.
АРМ сотрудника межбанковских расчетов (МБР) обеспечивает ведение расчетов с другими коммерческими банками через системы РКЦ и ОПЕРУ, через сеть клиринговых центров и через взаимное открытие корреспондентских счетов. При работе на основе прямых межбанковских расчетов АРМ позволяет осуществлять контроль, корректировку и отмену текущих операций МБР и формирование начальных авизо, реестров и соответствующих платежных документов. При работе с ответными авизо
Рис. 8. Схема работы АРМ коммуникаций по экспорту данных.
АРМ проводит весь комплекс работ с входным документом: ввод, корректировку, отмену текущих документов (с одновременным контролем сумм авизо и платежных документов); выполнение квитовки ответных авизо, ведение соответствующего журнала и документов по квитовке; открытие, ведение и закрытие заключительных оборотов.
Для проведения электронных взаимодействий с другими банками, клиентами, процессинговым центром или биржами информация пересылается по ЛВС на АРМ коммуникаций, через которое реализуются телекоммуникационные взаимодействия.
АРМ сотрудника кредитного отдела (АРМ СКО) обеспечивает заключение и ведение договора, его пролонгацию и закрытие (поступление в архив), формирование графиков погашения основного долга и выплаты процентов по различным схемам, а также контроль выполнения этих графиков и начисление пеней по основной части долга и по процентам. При этом формируется ряд ведомостей. АРМ поддерживает стандартные и индивидуальные процентные ставки: по основной части долга, за неиспользованный кредит (если это не указано в договоре), за просроченный возврат ссуды или за несвоевременную выплату процентов за кредит.
АРМ сотрудника по работе с физическими лицами все чаще включается в состав БИС, что обусловлено необходимостью привлечения средств от физических лиц, хотя эти операции связаны с большой трудоемкостью из-за массовости. В основном они носят характер депозитных операций, и поэтому данный АРМ принципиально отличается от АРМ сотрудника депозитного отдела лишь специфическим набором оказываемых услуг.
АРМ. сотрудника фондового отдела обеспечивает выполнение политики банка в части фондового портфеля, а также выполнение доверительных соглашений с физическими и юридическими лицами. АРМ включает такие режимы, как оценка экономического состояния объекта инвестиций, расчет аналитических показателей по ценным бумагам, оценка инвестиционной привлекательности объекта, портфеля ценных бумаг, учет поступления и движения ценных бумаг.
АРМ сотрудника депозитного отдела обеспечивает привлечение временно свободных средств. Относительно предметной технологии в этот АРМ включаются такие же режимы, как и в АРМ СКО: заключение договора, расчет процентов по различным схемам, причисление их к остатку и др.
Проблемой банковской технологии остается разграничение функций между базовым модулем, реализующим комплекс операционно-учетных работ, и АРМ сотрудников других отделов. Например, в настоящее время существуют две наиболее распространенные технологии начисления процентов за кредит. По первой технологии начислением процентов занимается базовый блок, а сотрудник кредитного отдела лишь пересылает в него данные для расчетов и осуществляет контроль за этими операциями по графику платежей и за отклонениями от него. По второй технологии взаимосвязь между этими отделами осуществляется на уровне проводок, при этом сотрудник кредитного отдела генерирует их, а операционно-учетный модуль выполняет ведение кредитных счетов, просмотр работы по счету и расчет процентов по кредитам (в соответствии с желанием сотрудника кредитного отдела). Как показывает опыт, контроль документов, проходящих по договорам, сотрудниками кредитного и депозитного отделов более распространен.
