Микроконтроллеры семейства Zilog Z86Рефераты >> Программирование и компьютеры >> Микроконтроллеры семейства Zilog Z86
Разработчики МК предусмотрели в них целый ряд аппаратных функций, обеспечивающих надежность работы в условиях воздействия помех и дестабилизирующих факторов: автоматический сброс при включении питания (Power-On Reset), сторожевой таймер (Watch-Dog Timer), защита от снижения напряжения питания (Low-Voltage Protection), защита ОЗУ (RAM Protect).
Автоматический сброс при включении питания обеспечивается специальным таймером сброса, синхронизируемым от встроенного RC-генератора. Этот таймер обеспечивает удержание процессора в состоянии сброса, пока питающее напряжение не достигнет номинального уровня, а генератор основной синхронизации не выйдет на стабильный режим.
Сторожевой таймер защищает процессор от "зависания". Управляется он программно специальными командами. При "зависании" программы очередная команда перезапуска сторожевого таймера не выполнится, он досчитает до конца и вызовет функцию сброса МК -тем самым вычислительный процесс будет восстановлен.
Функция защиты от снижения напряжения питания позволяет обеспечить корректное возобновление вычислительного процесса при "провалах" питающего напряжения.
Сущность защиты ОЗУ заключается в возможности программно управлять доступом к определенной области ОЗУ, содержащей управляющую информацию. Запрещение доступа гарантирует сохранение этой информации и правильное ее использование в случае, например, сбоя программного счетчика, в результате которого может произойти некорректное обращение к этой области ОЗУ и искажение управляющей информации.
МК работают в широком диапазоне питающих напряжений:
3 -5,5В -для масочного исполнения; 4,5 -5,5В -для однократно программируемого и 2 -3,9В -для исполнения с пониженным питающим напряжением. Потребляемая мощность в стандартном режиме на максимальной допустимой частоте составляет 30 -60 мВт.
Для целей экономии потребляемой мощности предусмотрено также два резервных режима с микропотреблением: HALT и STOP. В первом режиме отключается синхронизация процессора, активными остаются лишь таймеры/счетчики и прерывания. Во втором режиме отключается и синхрогенератор, только сторожевой таймер может продолжать свою работу.
Оригинальная схема встроенного генератора синхронизации позволяет использовать в качестве времязадающих элементов кварцевые и керамические резонаторы, LC и RC-цепи. Возможна и синхронизация от внешнего источника. Функционирование МК обеспечивается в широком диапазоне рабочих частот от 10 кГц до максимальной (см. табл.1.1). Причем, чем ниже частота, тем меньше потребляемый ток от источника питания. Например, для версии "C" большинства МК на частоте 32 кГц гарантируется потребляемый ток 8 мкА.
Для применений с высокими требованиями к электромагнитной совместимости МК Z8 могут быть переведены в малошумящий режим (Low Noise). В этом режиме несколько ухудшается нагрузочная способность портов вывода и увеличивается время переходных процессов, однако значительно снижается уровень электромагнитного излучения. Частота внешнего кварцевого резонатора при этом ограничивается величиной 4 МГц.
Изготовитель гарантирует надежную работу МК при температуре окружающей среды от 0 до 70 градусов Цельсия для стандартного исполнения и от -40 до 105 градусов для исполнения с расширенным температурным диапазоном (Extended Temperature). В последнем исполнении поставляются все МК с литерой "C" и модели 02, 04, 08, 30, 31 и 40 с литерой "E".
И, наконец, для исключения возможности копирования программы МК конкурентами предусмотрен, бит защиты ПЗУ (ROM Protect). В более ранних версиях МК установка бита защиты запрещала команды загрузки из ПЗУ (LDC и LDCI), что одновременно заставляло программиста отказываться от использования весьма эффективных алгоритмов, основанных на просмотре таблиц. В последних версиях МК доступ к ПЗУ блокируется установкой бита защиты без запрета указанных команд и каких-либо алгоритмических ограничений.
1.2. Архитектура микроконтроллеров Z8
1.2.1. Структурная схема микроконтроллеров
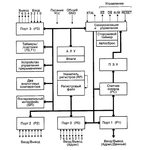
На рис.1.1 приведена обобщенная структурная схема МК, а в табл. 1.2 указаны наборы вариативных элементов структуры для каждой модели.
Рис. 1.1 Обобщенная структурная схема микроконтроллеров Z8
![]() |
Таблица 1.2
Параметры структуры рис.1.1 для моделей микроконтроллеров Z8
|
Модель |
Узлы |
Выводы | |||||
|
T0 |
T1 |
SPI |
Управление |
Порт P0 76543210 |
Порт P1 |
Порт P3 76543210 | |
|
02 |
- |
* |
- |
- |
*** |
- |
*** |
|
03 |
- |
* |
- |
- |
- |
- |
****** |
|
04 |
* |
* |
- |
- |
*** |
- |
*** |
|
06 |
* |
* |
* |
- |
- |
- |
****** |
|
08 |
* |
* |
- |
- |
*** |
- |
*** |
|
31 |
* |
* |
- |
- |
******** |
- |
******** |
|
30 |
* |
* |
- |
- |
******** |
- |
******** |
|
40 |
* |
* |
- |
* |
******** |
* |
******** |

