Экспериментальные термометрические шкалы и методы измерения температур
Данный тип пирометров позволяет измерять температуру от 700 до 8000 0С. Для оптических пирометров промышленного применения в интервале температур 1200¸2000 0С основная допустимая погрешность измерения составляет ±20 0С. На точность измерения влияют неопределенность и изменяемость спектральной степени черноты, возможное изменение интенсивности излучения за счет ослабления в промежуточной среде, а так же за счет отражения посторонних лучей.
Фотоэлектрические пирометры
Фотоэлектрические пирометры частичного излучение обеспечивают непрерывное автоматическое измерения и регистрацию температуры. Их принцип действия основан на использовании зависимости интенсивности излучения от температуры в узком интервале длин волн спектра. В качестве приемников в данных устройствах используются фотодиоды, фотосопротивления, фотоэлементы и фотоумножители.
Фотоэлектрические пирометры частичного излучения делятся на две группы:
1. пирометры, в которых мерой температуры объекта является непосредственно величина фототока приемника излучения;
2. пирометры, которые содержат стабильный источник излучения, при чем фотоприемник служит лишь индикатором равенства яркостей данного источника и объекта.
На (рис. 12) приведена схема фотоэлектрического пирометра, относящегося ко второй группе пирометров. В нем в качестве приемника излучения применяется фотоэлемент. Поток от излучателя 1 линзой 2 и диафрагмой 3 объектива фокусируется на отверстии 7 в держателе светофильтра 5 таким образом, чтобы изображение визируемого участка поверхности излучателя перекрывало данное отверстие. В этом случае величина светового потока, падающего на катод фотоэлемента 6, расположенного за светофильтром, определяется яркостью излучателя, т. е. его температурой. В держателе светофильтра расположено еще одно отверстие 8, через которое на фотоэлемент попадает поток от лампы обратной связи 17. Световые потоки от излучателя 1 и лампы 17 подаются на катод попеременно с частотой 50 Гц, что обеспечивается с помощью вибрирующей заслонки 9. Возвратно-поступательное движение заслонки обеспечивается с помощью катушки возбуждения 10 и постоянного магнита 12. В вибраторе происходит перемагничивание стального якоря 11, который с частотой 50 Гц поочередно притягивается полюсами магнита 12 и перемещает заслонку 9.
При различии световых потоков излучателя 1 и лампы 17 в токе фотоэлемента появится переменная составляющая, имеющая частоту 50 Гц и амплитуду, пропорциональную разности данных потоков. Усилитель 13 обеспечивает усиление переменной составляющей, а фазовый детектор 14 последующее ее выпрямление. Полученный выходной сигнал подается на лампу, что вызывает изменение силы тока накаливания. Это будет происходить до тех пор, пока на катоде фотоэлемента световые потоки от двух источников не уравняются. Следовательно, ток лампы обратной связи однозначно связан с яркостной температурой объекта измерения.
В цепь лампы 17 включено калиброванное сопротивление 16, падение напряжения на котором пропорционально силе тока и измеряется быстродействующим потенциометром 15, снабженным температурной шкалой. Окуляр 4 обеспечивает наводку устройства на объект измерения.
В фотоэлектрических пирометрах с пределами измерения от 500 до 1100 0С применяют кислородно-цезиевый фотоэлемент, а в приборах со шкалой 800¸4000 0С вакуумный сурьмяно-цезиевый. Сочетание последнего с красным светофильтром обеспечивает получение эффективной длины волны пирометра 0.65±0.01 мкм, что приводит к совпадению показаний фотоэлектрического пирометра с показаниями визуального оптического пирометра.
Пирометры спектрального отношения
Пирометры данного типа измеряют цветовую температуру объекта по отношению интенсивностей излучения в двух определенных участках спектра, каждая из которых характеризуется эффективной длиной волны
,
.
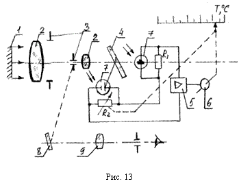
На (рис. 13) приведена схема двухканального пирометра спектрального отношения (ПСО), в котором преобразование энергии получения в электрические сигналы производится с помощью двух кремниевых фотодиодов. Поток излучения от объекта измерения 1 с помощью оптической системы, состоящей из линз 2, апертурной и полевой диафрагмы 3, передается на интерференционный светофильтр 4. Последний обеспечивает выделение двух потоков, каждый из которых характеризуется собственным спектром. Данные потоки попадают на кремниевые фотодиоды 7, которые преобразуют излучение в фототок, протекающий через сопротивление R1 и R2, включенные в измерительную схему вторичного регистрирующего прибора – логометра. Разность падений напряжений на сопротивлениях подается на вход усилителя 5, выходной сигнал которого поступает на реверсивный двигатель 6, перемещающий движок реохорда R2 и стрелку относительно шкалы наступления баланса, соответствующего измеряемой температуре.
Интерференционный фильтр 4 является полупрозрачным зеркалом, имеющем высокий коэффициент пропускания в одной и высокий коэффициент отражения в другой области спектра. Зеркало 8 и окуляр 9 обеспечивают визуальную наводку объектива пирометра на объект измерения. Для уменьшения погрешности от влияния окружающей температуры фильтр 4 и приемники излучения 7 помещены в термостат.
ПСО используются для измерения температур твердого и расплавленного металла в широком интервале температур от 300 до 2200 0С и имеют класс точности 1 и 1.5 (в зависимости от предела измерения). Данные пирометры имеют в 3-5 раз меньшую методическую погрешность, связанную с изменением степени черноты излучателя. На их показания значительно меньше влияют поглощения промежуточной среды. Однако в тех случаях, когда объект характеризуется селективным излучением (степень черноты при одной и той же температуре резко изменяется с длиной волны), погрешность ПСО может быть выше погрешности пирометров излучения других типов. ПСО более сложны и менее надежны, чем другие приборы.
Пирометры суммарного излучения
Пирометры суммарного излучения измеряют радиационную температуру тела, поэтому их часто называют радиационными. Принцип действия данных измерителей температуры основан на использовании закона Стефана-Больцмана. Однако в случае применения оптических систем в ПСИ определение температуры ведется по плотности интегрального излучения не во всем интервале длин волн, а значительно меньшем: для стекла рабочий спектральный диапазон составляет 0.4¸2.5, а для плавленого кварца 0.4¸4 мкм.
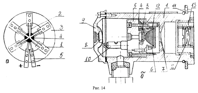
Датчик пирометра выполняется в виде телескопа, линза объектива которого фокусируется на термочувствительном приемнике излучения нагретого тела. В качестве термочувствительного элемента используются термопары, термобатареи, болометры (металлические и полупроводниковые), биметаллические спирали и т. п. Наиболее широко применяются термобатареи (рис. 14 а), в которых используется 6-10 миниатюрных термопар (например, хромель-копелевые), соединенных последовательно. Поток излучения попадает на расклепанные в виде тонких зачерненных лепестков рабочие концы 4 термопар 2. Свободные концы термопар привариваются к тонким пластинкам 1, закрепленным на слюдяном кольце 3. Металлические выводы 5 служат для присоединения к измерительному прибору, в качестве которого обычно используются потенциометры или милливольтметры.
