Оптические квантовые генераторы
Оптические квантовые генераторы на твердом теле
В оптических квантовых генераторах на твердом теле, или твердотельных ОКГ, в качестве активной усиливающей среды используются кристаллы или аморфные диэлектрики. Рабочими частицами, переходы меяду энергетическими состояниями которых определяют генерацию, как правило, являются ионы атомов переходных групп Периодической таблицы Менделеева, Наиболее часто используются ионы Na3+, Cr3+, Но3+, Pr3+ . Активные частицы составляют доли или единицы процента от общего числа атомов рабочей среды, так что они как бы образуют "раствор" слабой концентрации и потому мало взаимодействуют друг с другом. Используемые энергетические уровни представляют собой уровни рабочих частиц, расщепленные и уширенные сильными неоднородными внутренними полями твердого вещества. В качестве основы активной усиливающей среды используются наиболее часто кристаллы корунда (Al2O3), иттриево-алюминиевого гранатаYAG (Y3Al5O12), разные марки стекол и т.д.
Инверсия населенностей в рабочем веществе твердотельных ОКГ создается методом, аналогичным используемому в парамагнитных усилителях. Она осуществляется с помощью оптической накачки, т.е. воздействием на вещество светового излучения высокой интенсивности.
Как показывают исследования, большинство существующих в настоящее время активных сред, используемых- в твердотельных ОКГ, удовлетворительно описываются двумя основными идеализированными энергетическими схемами: трех- и четырехуровневой (рис.71).
|
|
Рассмотрим вначале метод создания инверсии населенностей в средах, описываемых трехуровневой схемой (см.рис.71,а). В нормальном состоянии заселен лишь нижний основной уровень 1 (энергетическое расстояние между уровнями значительно больше kT), так как переходы 1—>2, и 1—>3) принадлежат оптическому диапазону. Переход между уровнями 2 и 1 является рабочим. Уровень 3 вспомогательный и используется для создания инверсии рабочей пары уровней. Он в действительности занимает широкую полосу допустимых значений энергии, обусловленную взаимодействием рабочих частиц с внутрикристаллическими полями.
Для создания инверсии рабочее вещество облучают интенсивным светом с частотным спектром, соответствующим переходу между уровнями 1—>3. С уровня 3 атомы переходят на уровень 2, . Этот переход, как правило, является безизлучательным. Энергия при этом идет на нагревание рабочего тела. При достаточной интенсивности накачки на уровне 2. удается получить больше атомов, чем их остается на основном уровне, т.е. возникает инверсия населенностей для рабочей пары уровней.
В активных средах, описываемых четырехуровневой схемой (см .рис. 71,б), переход 3-2 является рабочим, верхний уровень так же, как в трехуровневой схеме, представляет собой широкую полосу. Второй уровень находится от основного на энергетическом расстоянии, значительно большем kT. Поэтому при термодинамическом равновесии он практически не заселен. Большинство частиц, попавших на уровень 4 , затем переходит безизлучательным путем на уровень 3 , что при соответствующих условиях приводит к инверсии населенностей для пары уровней 3-2.
В четырехуровневой системе по сравнению с трехуровневой легче создать инверсию населенностей, так как нижний рабочий уровень не заселен. Для этого необходимо перевести незначительное количество частиц с основного уровня на верхний рабочий. В трехуровневой системе для получения инверсии требуется перебросить на верхний рабочий уровень с основного по крайней мере половину частиц.
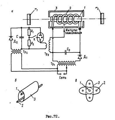
На рис.72, а приведена схема ОКГ на твердом теле. Она включает оптический резонатор, рабочее тело 1 , лампу накачки 2 с отражателем 3 , систему ее питания и зажигания разряда. Оптический резонатор образован зеркалами r1 и r2. Обычно в них используются многослойные интерференционные диэлектрические отражающие покрытия, в которых показатель преломления переменно меняется от слоя к слою. Слои наносят вакуумным напылением или химическим путем, они имеют толщину, равную четверти длины волны в диэлектрике на рабочей частоте. С увеличением количества слоев коэффициент отражения возрастает. При n=15 и больше он превышает 99%.
Иногда в качестве отражающих покрытий используются серебряные пленки, но они позволяют получать коэффициент отражения не выше 95-96% и в отличие от интерференционных диэлектрических покрытий имеют большое поглощение, а потому часто выгорают в процессе работы. Одно из зеркал резонатора делается полупрозрачным для вывода энергии. Коэффициент пропускания выходного зеркала выбирается так, чтобы вывести из ОКГ максимальную энергию. При малом коэффициенте пропускания будет выводиться лишь незначительная доля энергии из резонатора. В случае большого пропускания ухудшаются условия возбуждения колебаний. При некотором пропускании выходного зеркала генерация срывается, так как не выполняются пороговые условия. Оптимальный коэффициент пропускания, при котором выводится максимальная энергия генерации, зависят от качества кристалла, его длины, энергии накачки. Оптимальное пропускание выходного зеркала для большинства твердотельных ОКГ составляет 20-60%.
Рабочее тело выполняют в форме стержня с хорошо обработанными торцевыми поверхностями, имеющими плоскопараллельную или сферическую форму. Точность отклонения обработки торцевых поверхностей от заданной формы лежит в пределах десятых долей длины волны. Параллельность плоских торцов выдерживается с точностью до нескольких угловых минут.
Иногда вместо внешних зеркал используются отражающие покрытия, нанесенные непосредственно на торцы рабочего тела. Боковая поверхность рабочих стержней частично или полностью делается матовой, чтобы предотвратить возбуждение типов колебаний, распространяющихся с отражением от боковых поверхностей.
Инверсия населенностей в рабочем теле создается методом оптической накачки. Как отмечено выше, пороговая мощность накачки имеет величину до сотен ватт на кубический сантиметр рабочего вещества ОКГ. Столь высокая плотность мощности накачки приводит к сильному нагреванию рабочих тел ОКГ. Это вызывает трудности, часто непреодолимые, в реализации непрерывного режима накачки твердотельных ОКГ. Поэтому ОКГ на твердом теле, как правило, работают в режиме одиночных или периодически повторяющихся импульсов. Источником накачки служат газоразрядные лампы. Наиболее часто используются импульсные ксено-новые лампы, обладающие наилучшей эффективностью преобразования электрической энергии в световое излучение, спектральный состав которого соответствует линиям поглощения используемых активных сред.
Лампы конструктивно выполняются в виде прямой или свитой в спираль трубки с введенными на концах электродами. Для инициации разряда в лампах предусматривается специальный внутренний или внешний поджигающий электрод. Лампы и рабочий стержень размещают внутри отражателя, обеспечивающего эффективность передачи световой энергии накачки в активную среду. При использовании спиральных ламп рабочее тело помещается внутри них, а отражатель, выполняемый в виде кругового цилиндра, охватывает лампу.
