Оптические квантовые генераторы
Спектр излучения гелий-неонового ОКГ состоит из отдельных . линий, соответствующих продольным к поперечным типам колебаний используемого открытого резонатора. Общая ширина спектра генерации определяется шириной линии усиления активной среды ОКГ. Линия усиления активной среды гелий-неонового ОКГ определяется эффектом Доплера, и ее ширина Д-^у растет с увеличением интенсивности накачки. Для перехода с Л/ = 0,6328 мкм она достигает 2000 МГц, для ^ = 1,152 мкм Ai)^» 1000 МГц, для Л = = 3,394 мкм Дг?,, йг 400 МГц. При длине резонатора I м в ОКГ может генерироваться на ^ = 0,6328 мкм до 10+12, на Л.=1,]5мкм - до 5-6 продольных типов колебаний.
Применяя специальные методы селекции типов колебаний (см. § 5 гл.17), можно получить генерацию в гелий-неоновом ОКГ на одной частоте.
Аргоновый ОКГ. В отличие от атомных ОКГ, к которым относится рассмотренный гелий-неоновый ОКГ и в которых используются переходы между возбужденными состояниями атомов, в ионных ОКГ рабочий переход соответствует возбужденным уровням ионов. Ионный ОКГ в настоящее время - один из наиболее мощных газовых ОКГ, излучение которых лежит в видимой области спектра. Это связано с особенностями структуры энергетических уровней ионов и механизмом создания инверсии населенностей.
Инверсия населен— ностей в ионных ОКГ осуществляется газовым разрядом. Так как рабочими частицами в них являются ионы, то газовая плазма разряда должна быть высокоионизированной. Поэтому в ионных ОКГ используется дуговой разряд, отличающийся повышенной степенью ионизации.
Характерным представителем ионных ОКГ служит аргоновый ионный ОКГ, наиболее изученный и разработанный в настоящее время. Давно налажен их промышленный выпуск.
Рассмотрим механизм возбуждения аргоновых ионных ОКГ. На рис. 83 приведена упрощенная диаграмма нижних состояний ионов аргона.В основном.состоянии атом
Др имеет электронную конфигурацию fs^Ss^p-Ss-S^6. Первое возбужденное
состояние атома Аг соответствует переводу одного из внешних электронов на 4 д -оболочку. При однократной ионизации получается конфигурация iss•г,sг•г.pGЗsг'Зp5, которой соответствуют два уровня. Перевод одного из электронов с Зр -оболочки иона аргона на оболочку ^ дает пять энергетических уровней, а возбуждение электрона с Зр -оболочки на 4р -оболочку ведет к образованию 13 уровней.
Генерация в аргонных ОКГ осуществляется на переходах между состояниями иона Аг''' с электронной конфигурацией Зр^4р и З/^з. Инверсия населенностей обеспечивается процессами ступенчатого электронного возбуждения и разным временем жизни верхних и нижних рабочих уровней. В аргоновой плазме с большой эффективностью идет процесс образования возбужденных атомов и ионов посредством электронных соударений:
Далее повторные соударения с электронами приводят к образованию возбужденных ионов с электронными конфигурациями Зр^р и
Кроме того, рабочие уровни заселяются в результате ступенчатых переходов через уровни состояний ионов с электронной конфигурацией 3p^d и Зр^д (эта система уровней на рис.83 не изображена).
Как показывают исследования, скорость заселения верхних и нижних уровней одинакова. Инверсия населенностей образуется лишь вследствие того, что время жизни уровней Зр^р примерно в 25 раз выше, чем время жизни уровней 3p^4s. Нижние рабочие уровни Зр^д опустошаются вследствие спонтанных переходов в основное состояние ионов с излучением в ультрафиолетовой вакуумной области. Наибольшая инверсия населенностей получается для переходов ^ р ^^ -* 4s г?^.
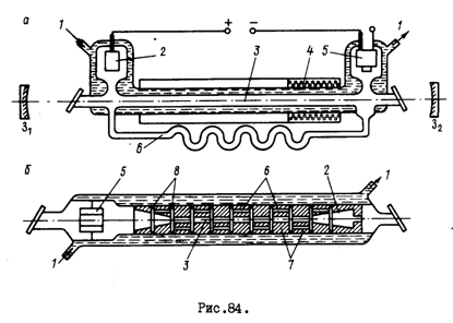
На рис.84, о. приведена схема аргонового ОКГ. Он отличается от гелий-неонового ОКГ лишь конструкцией газоразряцной трубки. Как уже отмечалось, в ионных ОКГ используется сильноточный дуговой разряд, обеспечивающий высокую степень ионизации газа. Для генерации необходима плотность тока разряда до нескольких сотен ампер на I см~. Разряд происходит в узкой капиллярной трубке 3 , охлаждаемой водой 1 . Рабочее давление аргона в разрядном капилляре устанавливается в несколько десятков паокалей. Электроды трубки должны быть рассчитаны на разрядные токи до сотен ампер и иметь высокую стойкость к электронной и ионной бомбардировке. Анод Ч обычно охлаждают водой. Часто применяют в таких ОКГ оксвдные катоды 5 . Хорошо зарекомендовали себя также импрегнированные катоды, представляющие собой пористую
вольфрамовую губку, пропитанную алюминатом бария или кальция. Такие катоды обладают большой удельной эмиссией, превышающей во много раз оксвдные катоды. Они не теряют своей эмиссионной способности при многократных нарушениях вакуума в трубке.
При мощном дуговом разряде происходит процесс перекачки газа от анодного конца трубки к катодному, в результате чего образуется перепад давления и разряд гаснет. Для выравнивания давления по длине капилляра катодную и анодную колбы соединяют обводным каналом 6 , обеспечивающим свободную циркуляцию газа.
Разрядный капилляр должен выдерживать высокие тепловые нагрузки (сотни ватт на квадратный сантиметр) и ионную бомбардировку. Капилляр часто выполняется из кварца. Он термостоек, имеет хорошие электроизоляционные свойства и устойчив к эрозии. Изготовление разрядных трубок из кварца не представляет технологических трудностей. Обычно используют разрядные трубки диаметром до I5+20 мм и длиной от 10 см до нескольких метров. Существенный недостаток кварца - малая теплопроводность . Она позволяет доводить плотность разрядного тока только до сотен ампер на I си2 в ОКГ непрерывного действия. Кварцевые капилляры пока не обеспечивают длительную работу ОКГ при больших мощностях. Срок службы кварцевых капилляров достигает нескольких сотен часов. При плотностях тока 500 А/см и более кварцевые капилляры практически непригодны для работа. В этом случае в качестве материала для разрядных капилляров используют различную тугоплавкую керамику и анодированный алюминий.
Разрядные капилляры из керамики значительно долговечнее, обладают более высокой теплопроводностью, чем плавленный кварц.
Проблема создания стойких разрядных трубок для аргоновых ОКГ во многом решается путем использования секционированных разрядных трубок, состоящих из металлических шайб 7 тугоплавкого материала (молибдена, тантала, графита, керамики из окиси берилия), разделенных диэлектрическими изоляционными кольцами 8 (из кварца, резины) (рис.84, (у). В ряде стран промышленностью выпускаются ОКГ с капиллярами из тугоплавких керамик и секционированными разрядными трубками мощностью 3+10 Вт и выше. Срок службы их достигает нескольких тысяч часов.
Многочисленные исследования ионных аргоновых ОКГ привели к оригинальному решению проблемы создания дугового разряда высокочастотными поляки. На рис.85 приведена схема аргонового ОКГ с высокочастотным питанием < . Замкнутая кольцевая трубка 2 ОКГ служит как бы одновитковой вторичной обмоткой высокочастотного трансформатора 3 . Для питания используется генератор с частотой в несколько мегагерц. Высокочастотное возбуждение имеет следующие достоинства: снижается эрозия кварцевого капилляра, отсутствует жестчение газа, существенно уменьшаются шумы в излучении. Уменьшение эрозии, по-видимому, связано с тем, что ионы не успевают приобрести значительную скорость при движении в высокочастотном поле. В ОКГ с высокочастотным возбуждением нет металлических электродов, что позволяет использовать в них химически активные газы (в таком разряде получена генерация на ионах мышьяка, брома, селена).
