Оптические квантовые генераторы
По устройству ОКГ на СОо не имеют принципиальных отличий от других газоразрядных генераторов. Однако они характеризуются конструктивными особенностями, обусловленными спектральным диапазоном и высокой мощностью излучения.
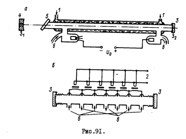
На рис.91 приведены схемы конструкций ОКГ на углекислом газе. В мощных СКГ длина разрядных трубок достигает нескольких метров, а диаметр - 70 -5-80 мм. Дальнейшему увеличению диаметра препятствует контрагирование столба газового разряда, которое наступает для смеси No-СОо при диаметрах, больших,чеп 40 мм, а на смесях Nn-CO-He при диаметрах, больших» чем 70* т80 мм. В ОКГ на СО^ используется принудительное водяное охла ждение трубок ( 1 на рис.91,а). 1%
Разряд осуществляют как на постоянном токе (см.рис.91, а), так и переменным напряжением промышленной частоты ( и на рис. 91.ff ). В длинных трубках для упрощения зажигания и поддержания разряда создают секции длиной 80+100 см, разряд в каждой из которых поддерживается независимо от других секций. Обычно используют источники с напряжением примерно 20 кВ и током, достигающим десятков и сотен миллиампер.
Применяют как внутренние (3), так и внешние зеркала(^> Пло-скопараллельные пластины брюстеровских окон (.5) газоразрядных трубок делают из NuCL , KCL , Ge , SL , -прозрачных в области 9+11 мкм. Используют зеркала с металлическими или интерференционными диэлектрическими отражающими покрытиями. Подложки зеркал для ОКГ небольшой мощности (порядка I Вт) делаются из кварца. Наилучшим материалом при высоких уровнях мощности для подложек зеркал и для брюстеровских окон является иртрай, представляющий собой прессованный поликристалл ZnSe . Для вывода излучения из ОКГ в зеркалах с металлическими отражающими покрытиями делается небольшое отверстие" - окно (диаметром несколько миллиметров). Коэффициент пропускания выходных зеркал с диэлектрическими покрытиями имеет величину 10 т 30%.
Разрад в рабочей смеси газов сопровождается диссоциацией и изменением исходного состава газа. Поэтому очень часто, особенно в мощных ОКГ, используется непрерывная прокачка газа (б) через разрядную трубку.
|
|
Рассмотрим основные характеристики ОКГ на COg . На рис.92 показана зависимость выходной мощности от силы тока разряда паи различных давленяях СОп для ОКГ с отпаянной трубкой длиной I м и диаметром 10 мм. Сначала мощность возрастает вместе с током, а затем падает. Такая зависимость объясняется конкуренцией двух факторов. Увеличение концентрации электронов, о одной стороны, ведет к возрастанию скорости возбуждения молекул СОп на уровень (00^1), а с другой,- повышает газовую температуру, что увеличивает ^ скорость разрушения антисимме-- тричных колебаний молекул.
Значительное увеличение мощности генерации достигается добавлением к СО^ азота.
Рис.93 иллюстрирует влияние введения азота в разрядную трубку на мощность и КПД ОКГ на СОп • При добавлении азота благодаря резонансной передаче колебательной энергии от молекул Nn антисимметричному типу колебаний СОо инверсия населенностей. а следовательно, и мощность растут. Однако по мере введения N^ повышается температура газа, что приводит к увеличению скорости релаксации уровня (00°1), уменьшению его заселенности, а также росту населенности нижнего лазерного уровня (Ю°0). Поэтому инверсия населенностей снижается и мощность падает.
Существенное влияние на энергетические характеристики ОКГ на COp-Nn оказывает введение в разрядную камеру гелия (рис.94)1 Гелий, обладая теплопроводностью, в несколько раз превышавшей теплопроводность СОв^ и Nn, снижает газовую температуру, что способствует увеличению инверсной населенности, а значит,и выходной мощности. Кроме того, с введением в разряд гелия воз
|
|
растает возбуждение колебательных уровней молекул СО- , Мд и СО . Однако при больших парциальных давлениях гелия в газовой смеси мощность генерации падает, так как уменьшается населенность верхнего лазерного уровня (00°!) из-за релаксации антисимметричных колебаний молекул СОр при столкновениях COn-He . Мощность генерации также повышается при введения в разряд паров воды.
Оптимальный состав рабочей смеси газов в ОКГ на СОр зависит от размеров разрядной трубки, температуры ее стенок, скорости прокачки смеси и т.д. Обычно используются смеси угле
кислого газа, азота и гелия в соотношении 1:1+5:3*8 при общем давлении порядка I03 Па. Удельная мощность генерации достигает I Вт на I см разряда газовой смеси. Типичный ОКГ на углекислом газе при длине разрядной трубки 200 см дает непрерывную мощность около 150 Вт. Увеличение длины разрядной трубки ведет к примерно пропорциональному росту мощности. Таким путем удается создать ОКГ на углекислом газе с выходной мощностью больше I кВт. На уникальной установке с длиной разрядного канала ВО м была получена мощность генерации около 9 кВт.*
