Оборудование для резки пластинРефераты >> Технология >> Оборудование для резки пластин
Резку диском с внутренней алмазной режущей кромкой осуществляют следующим образом (рис.9). Диск 2 закрепляют в шпинделе и растягивают в радиальном направлении для придания ему большей жесткости. Слиток 3, закрепленный в державке 4, разрезают алмазоносной кромкой вращающегося диска при перемещении слитка или диска в направлении, перпендикулярном оси барабана. Отрезанные пластины 5 попадают в сборник, заполненный водой, остаются на оправке в случае приклейки по способу (б) и (в) (см. рис.2) или удаляются вакуумным съемником.
В процессе резки выделяется большое количество тепла. Обычные скорости вращения диска 1600 – 2500 об/мин. Поэтому алмазный диск непрерывно охлаждают водой или специальной охлаждающей жидкостью.
Для резки слитков диаметром до 60 мм используют станок 2405Т, диаметром до 76 мм – станок “Алмаз-4”. Станки “Алмаз-6Н”, “Алмаз-11”. Позволяют разрезать слитки диаметром до 102 мм, а “Алмаз-12Н” – до 175 мм.
Все виды конструктивных компоновок выпускаемых в настоящее время станков для резки слитков полупроводниковых материалов можно разделить на три группы:
с горизонтальным расположением шпинделя и суппортом, осуществляющим как дискретное перемещение слитка на толщину отрезаемой пластины, так и подачу резания (рис. 10, а);
с вертикальным расположением шпинделя и суппортом, также осуществляющим и дискретное перемещение слитка на толщину отрезаемой пластины, и подачу резания (рис. 10,б);
с горизонтальным расположением шпинделя, осуществляющим подачу резания за счет качания его вокруг некоторой оси, и суппортом, осуществляющим только дискретное перемещение слитка на толщину отрезаемой пластины (рис. 10, в).
Станки первого типа (рис. 10, а), к которым относятся модели 2405, «Алмаз-4», TS-21 и TS-23, появились в промышленности раньше других и являются наиболее распространенными. При такой компоновке горизонтально расположенный шпиндель вращается в подшипниках относительно малого диаметра, что позволяет сравнительно легко обеспечить необходимую частоту вращения, прецизионность и виброустойчивость узла. Недостатком такого типа компоновки станков является достаточно интенсивный износ направляющих суппорта и, как следствие этого, — потеря точности.
|
| ||||
Примером станков второго типа компоновки (рис. 53, б) является модель ASM10A фирмы «Окамото» (Япония). Вертикальное расположение шпинделя позволяет увеличить длину разрезаемого слитка и производить автоматическое снятие пластин через полый шпиндель. Диаметр шпинделя выбирают таким, чтобы внутри него свободно проходил слиток. Но большой диаметр шпинделя требует применения прецизионных подшипников соответствующего диаметра, а это связано с увеличением линейной скорости, а следовательно, и с усиленным их износом. На станках типа ASM10A можно разрезать слитки диаметром до 95 мм и длиной до 350 мм. Они имеют частоту вращения до 5*103 об/мин и пределы продольных дискретных перемещений слитков в интервале 0,2— 2,5 мм. Для этих станков также характерным является износ направляющих суппорта, что приводит к сравнительно быстрой потере им точности. Станки, скомпонованные по третьему типу (рис. 53, в), являются лучшими по точности. Они имеют подачу резания за счет качания узла шпинделя вместе с патроном и режущим диском вокруг оси на роликовых подшипниках. У суппорта остается только одно движение — перемещение слитка на толщину отрезаемой пластины. При этом точность и долговечность суппорта повышаются. К станкам этого типа относится «Алмаз-6М».
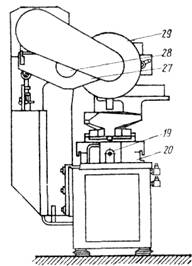
Станок «Алмаз-6М», предназначенный для резки слитка на пластины полупроводниковых материалов диаметром до 102 мм и длиной до 500 мм отрезными алмазными кругами с внутренней режущей кромкой, показан на рис. 11.
В отличие от станка «Алмаз-4», на «Алмаз-6М» можно обрабатывать слитки большего диаметра и длины. Отрезаемые на станке пластины имеют более высокую чистоту поверхности реза, большую точность по толщине и параллельности. Это дает возможность исключить промежуточную технологическую операцию - шлифовку пластин, а также увеличить выход пластин из того же объема исходного материала.
|

«Алмаз-6М» - высокоточный станок, принцип работы которого основан на разрезании слитка диском с внутренней алмазной режущей кромкой при обильном охлаждении места резания смазывающе-охлаждающей жидкостью, непрерывно циркулирующей и очищаемой в замкнутой системе.
Станок имеет два режима управления — ручной (наладочный) и программный. Программное управление станком обеспечивает резку по одной пластине и резку пакетов. При поштучной резке съем пластин осуществляется автоматически с помощью присоски.
Резка слитков пилами.
В качестве режущего инструмента используются пилы в виде ленты ( рис.12), проволоки ( рис.13).
|
|
