Архитектурные конструкции многоэтажных зданийРефераты >> Строительство >> Архитектурные конструкции многоэтажных зданий
Содержание
1. Составные элементы конструктивных систем и их назначение
2. Конструктивные системы остова многоэтажных зданий
3. Типы лестничных клеток
4. Типы лестнично-лифтовых блоков
5. Конструктивные решения фасадных систем: многослойные, вентилируемые, светопрозрачные
6. Конструктивные решения крыш
Используемая литература
1. Составные элементы конструктивных систем и их назначение
Фундаменты — подземные конструктивные элементы зданий воспринимающие все нагрузки от выше расположенных вертикальных элементов несущего остова и передающие эти нагрузки на основание.
Работа фундаментов протекает в постоянно изменяющихся условиях под воздействием больших нагрузок поэтому к их качеству предьявляют повышенные требования. Материалы из которых делают фундаменты, должны обладать высокой морозостойкостью, механической прочностью ,долговечностью и не разрушаться под агрессивным воздействием грунтовых вод. Таким качеством отвечают такие материалы, как бутобетон, бетон, железобетон. В настоящее время в конструкциях фундаментов используется в основном железобетон, который находит применение как в монолитных фундаментах так и для изготовления сборных элементов.
По характеру конструктивного решения и особенностям выполнения различают следующие типы фундаментов:
а) ленточные, состоящие из непрерывной в плане стеновой опоры под всей длиной нагруженной стены здания (рис.1}
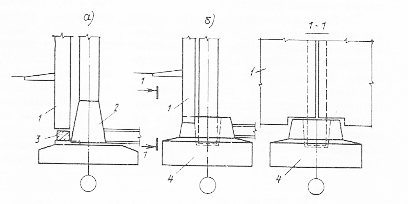
б)столбчатые или отдельно стоящие, представляющие собой ряд отдельных опор, устанавливаемых под стойками или колоннами, а также под стенами, опертыми на фундаментные балки (рис.2)
в] свайные, устраиваемые из свай, опускаемых в грунт (рис.3)
г) сплошные илц плитные, состоящие из обшей фундаментной плиты, принимающей вес всего здания или сооружения в целом (рис.4)
Разновидностью сплошных фундаментов являются так называемые ребристые и коробчатые конструкции {рис.5)
По технологии возведения фундаменты разделяются на монолитные и сборные;
по величине заглубления — на фундаменты мелкого заложения(менее 2 м) и глубокого(более 3ч).
Рис.1
Конструкции ленточных фундаментов:
а — из сплошных стеновых фундаментных блоков
б — из пустотелых блоков
в — вариант с устройством подвала
г — монолитный фундамент
1 — фундаментная плита
2 — фундаментный блок
3 — стеновой блок подвала
4 — монолитный бетон(бутобетон)
Рис.2
Конструкция столбчатых фундаментов
а — конструкция на фундаментной подушке
б — конструкция фундамента стаканного типа
1 — наружная цокольная панель
2 — пирамидальное основание колонны
3 — фундаментная балка
4 — фундаментный стакан
Рис.3
Конструкция свайных фундаментов
а — сопряжение сборного оголовка под одиночную сваю
б — однорядное расположение свай
в — шахматное расположение свай
г — двурядное расположение свай
д — куст свай под одиночную колонну
1 — свая
2 — сборный оголовок
3 — монолитный ж.б. ростверк
4 — ж.б.ростверк под колонну
Рис.4
Конструкция сплошных фундаментов
а — перекрестная конструкция
б, в— варианты устройства сплошной фундаментной плиты
г — коробчатая конструкция фундамента
Конструктивно-технологические решения фундаментов. ВЗ принимаются на основании оценки геотехнической опасности территории строительства и технико-экономического сравнения возможных вариантов обеспечивающих наиболее полное использование прочностных и деформационных характеристик грунтов и физико-механических свойств материалов фундаментов и подземных конструкций. Три геотехнические особенности ВЗ обуславливают следующие основные типы фундаментов для них:
– массивные плитные (предпочтительно повышенной жесткости, в т.ч. коробчатые с развитой подземной частью) на естественном или укрепленном основании.
– свайные (предпочтительно глубокие опоры);
– комбинированные, в т.ч. свайно-плитные (СПФ), плитно-анкерные, щелевые.
Подробно об этих видах фундаментов:
Плитные фундаменты. Плитные (сплошные) фундаменты проектируют в виде балочных или безбалочных, бетонных или железобетонных плит. Ребра балочных плит могут быть обращены вверх и вниз. Места пересечения ребер служат для установки колонн каркаса. Пространство между ребрами в плитах с ребрами вверх заполняют песком или гравием, а поверх устраивают бетонную подготовку. Бетонные плиты не армируют. Железобетонные армируют по расчету. При большом заглублении сплошных фундаментов и необходимости обеспечить большую их жесткость фундаментные плиты можно проектировать коробчатого сечения с размещением между ребрами и перекрытиями коробок помещений подвалов.
Показаны различные варианты решений сплошных фундаментов. (Рис.5)
Рис.5. Плитные фундаменты
а - в виде ребристой железобетонной плиты;
б - в виде плиты сплошного сечения
Свайные фундаменты. Основными элементами свайных фундаментов являются собственно сваи, оголовки и ростверки. Сваи представляют собой железобетонные, бетонные и реже деревянные или металлические стержни, погруженные в грунт ударным или вибрационным способом, ввинчиванием, или бетонируемые на месте, в заранее пробуренных скважинах.
В зависимости от способа погружения в грунт различают забивные, набивные, сваи-оболочки, буроопускные и винтовые сваи.
Забивные железобетонные и деревянные сваи погружают с помощью копров, вибропогружателей и вибровдавливающих агрегатов. Эти сваи получили наибольшее распространение в массовом строительстве. Железобетонные забивные сваи и сваи-оболочки могут иметь обычную и предварительно напряженную арматуру и изготовляться цельными и составными, из отдельных секций. В поперечном сечении они могут быть квадратные, прямоугольные, квадратные с круглой полостью и полые круглые: обычные сваи диаметром до 800 мм, а сваи-оболочки - свыше 800 мм. По продольному сечению сваи могут быть призматические и с наклонными боковыми гранями - пирамидальными, трапецеидальными и ромбовидными. Нижние концы свай могут быть заостренными или плоскими, с уширением или без него, а полые сваи - с закрытым или открытым концом и с камуфлетной пятой. В последнее время получили распространение новые конструкции свай с корневидным основанием.
На рис. 3. представлены различные виды забивных свай и свай-оболочек.
Деревянные забивные сваи устраивают там, где существуют постоянные температурно-влажностные условия. Деревянные сваи могут быть цельные или срощенные по длине; из одиночных бревен или пакетные. Их изготовляют из бревен хвойных пород, очищенных от коры и сучьев. Набивные сваи устраивают методом заполнения бетонной или иной смесью предварительно пробуренных, пробитых или выштампованных скважин. Нижняя часть скважин может быть уширена с помощью взрывов (сваи с камуфлетной пятой).
