Архитектурные конструкции многоэтажных зданийРефераты >> Строительство >> Архитектурные конструкции многоэтажных зданий
Ствол мусоропровода опирается на лестничные площадки хомутами из уголков. Хомут укладывается беззазорно на свежеподлитый слой цементного раствора и туго затягивается на трубе ствола.
В месте установки приемного клапана в трубе вырезается с предварительным рассверливанием по шаблону отверстие 300 X 600 мм. На уровне низа отверстия и над ним труба охватывается стальными ободами с вваренными в них шпильками; кожух клапана привинчивается к четырем шпилькам. Сопряжение кожуха с трубой уплотняется по всему периметру резиновыми прокладками. Связанный с крышкой опрокидной ковш при загрузке перекрывает отверстие в стволе. Обрез ствола мусоропровода должен превышать более чем на 1 м верхний приемный клапан. Вентиляционный ствол выполняется из асбестоцементной трубы с условным проходом 300 мм (наружный диаметр 315 мм), сопряженной с основным стволом через стальной переходный фланец. Нижняя обечайка фланца перекрывает основной ствол. Ее стык уплотняется аналогично стыку в соединительной муфте. Труба вентиляционного ствола перед заведением в верхнюю обечайку обматывается тремя слоями изоляционной ленты. Фланец дефлектора крепится к ней на болтах. Способствующее тяге утепление вентиляционного ствола в пределах чердака может быть заключено в гильзу из кровельной стали.
Отклонение оси ствола мусоропровода на подходе к бункеру допускается не более чем на 20°. В целях охраны труда в камере мусороудаления ствол перекрывается челюстным затвором или шиберами бункеров. Напольный или подвесной бункера образуют переходную емкость, способствующую равномерному заполнению контейнера. Бункера снабжены дверкой для прочистки и рамой с направляющими для шибера. Подвесной бункер крепится на сварке к плите перекрытия соосно стволу; напольный — устанавливается в камере мусороудаления так, чтобы ось его корпуса отклонялась от оси ствола в допустимых пределах. Рама шибера и установленная на ней опора ствола привариваются к бункеру после монтажа мусоропровода.
5. Конструктивные решения фасадных систем: многослойные, вентилируемые, светопрозрачные
Многослойные системы:
1. Экструдированный пенополистирол
2. Клеевой адгезивный состав
3. Щелочестойкая стеклосетка
4. Клеевой адгезивный состав
5. Акриловая грунтовка
6. Финишное покрытие
Вентилируемые фасады. Навесной фасад представляет собой конструкцию, состоящую из материалов облицовки (плит или листовых материалов) и подоблицовочной конструкции, которая, в свою очередь, крепится к стене таким образом, чтобы между защитно-декоративным покрытием и стеной оставался воздушный промежуток. Для дополнительного утепления наружных конструкций между стеной и облицовкой может устанавливаться теплоизоляционный слой - в этом случае вентиляционный зазор оставляется между облицовкой и теплоизоляцией.
Светопрозрачные вертикальные конструкции. К светопрозрачным вертикальным ограждениям относят, окна, балконные дверн, витражн и витрины. Окнами называют застекленные проемы а стенах. Витражи отличаются от окон
существенно большей площадью остекления: это может быть и целиком светопрозрачная стена, навесная или самонесущая.
В качестве светопропускающих материалов для светопрозрачных ограждений используют силикатные стекла в виде листов (оконное, витринное, тепло- и солнцезащитное и др.}| и изделий (стеклопакеты, стеклоблоки, стеклопрофилит). В зависимости от вида креплений стекла в ограждении, его конструкция решается с переплетами или без них них (беспереплетная).
Переплет — это каркас (из деревянных брусков, стальных, алюминиевых или пластмасовых профилей, из железобетона или легкого армированного бетона}, которым заполняют оконные проемы и к которому осуществляют крепление листовых стекол и стеклопакетов.
Остекленные переплеты можно непосредственно крепить к стенам. В этом случае их называют глухими,т е. неоткрывающимися. Чтобы переплеты могли открываться, их шарнирно крепят на раме из того же материала, что и переплет, но больших размеров, которую называют коробкой, а открывающийся переплет — створкой, Коробка с переплетом представляет оконный блок.
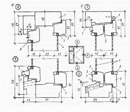
Закрепление стекол в переплетах и герметизации стыка стекла с переплетом.
А-в в алюминевых переплетах;б-в в переплетах из стальных гнутых тонкостенных профилей;
в - в деревянных переплетах; 1 –стекло(стеклопакет); 2 – уплотняющие прокладки; 3 – пружинящий штапик;4 – штапик;5 – пластинчатые стальные пружинки; 6 – переплет; 7 – винты из нержавеющей или оцинкованной стали; 8 – опорная прокладка; 9 – уплотняющая п-образная прокладка;10 – гнутый стальной уголок ,на винтах(штапик); 11 – гнутый стальной уголок ,прикрепленный к переплету электросваркой; 12 – герметизируящая мастика;13 – шпилька; 14 – деревянный штапик;15 наплав;16 капельник(только для наружных переплетов); 17 – замазка.
Теплоизоляционные качества светопрозрачных ограждений, их воздухо- и звуконепроницаемость обеспечиваются прежде всего тщательной герметизацией стыков светопрозрачного ограждения со стеной, герметизацией сопряжения стекол с переплетами и устройством плотных притворов в створных переплетах На тепло- и звукоизоляционные свойства влияет также количество слоев остекления, толщина стекол и толщина воздушной прослойки между стеклами.
Схемы оконных блоков комбинированного типа
А – с тройным остеклением; б – с четверным остеклением; 1 – переплет; 2 – коробка; 3 – спаренный переплет; 4 – переплет с двойным стеклопакетом; 5 - переплет с тройным стеклопакетом.
Деревянные оконные блоки с двойным остеклением
А – в раздельных переплетах; б – в спаренных переплетах; 1 – коробка; 2 – переплет створки; 3 – замазка или резиновый профиль; 4 – стекло; 5 – уплотняющие прокладки;6 – прорезь в нижнем бруске коробки для стока воды;7 – капельник; 8 – штапик; петли (только со стороны навески)
Габаритные размеры конструкции окон и балконных дверей гражданских зданий приняты кратными укрупненному модулю 3М(300мм.) и дополнительному 1,5М(150мм), а размеры конструкций окон пром. зданий модулю 6М(600мм).Освещенность жилых комнат удовлетворяется при размерах окон площадью 1/6… 1/10 от площади помещения .При наличии балконов , лоджий, размеры окон допускается увеличивать на 20 …30%.
Витражи и витрины. Витражи и витрины возводят из индустриальных элементов, размеры которых кратны укрупненному модулю ЗМ (300 мм), с одинарным, двойным и тройным остеклением в зависимости от климатических условий и параметров внутренней среды помещений.
Переплеты витражей и витрин часто называют каркасом, который может быть стальным, деревянным. Но наибольшее применение получили профили из алюминиевых сплавов.
