Архитектурные конструкции многоэтажных зданийРефераты >> Строительство >> Архитектурные конструкции многоэтажных зданий
Внутренние стены выполняют в здании ограждающие и несущие функции, перегородки только ограждающие. Конструкции стен и перегородок должны удовлетворять нормативным требованиям прочности, устойчивости, огнестойкости, звукоизоляции, быть паро- и газонепроницаемыми, легковозводимыми Перегородки и стены влажных помещений, кроме того, должны быть водостойкими и водонепроницаемыми.
Общая ограждающая функция внутренних стен и перегородок - обеспечение звукоизоляции от воздушного шума. В связи с этим уровень требований к звукоизоляционным качествам этих конструкций совпадает и зависит не от их статической роли в здании, а от расположения в нем. Для межквартирных и межсекционных стен и перегородок, для ограждений, отделяющих жилые комнаты от лестничных клеток и лифтовых холлов требуемый главой СНиП "Защита от шума" индекс изоляции должен составлять не менее 50 дБ, для межкомнатных - 41, для стен и перегородок, разделяющих жилые комнаты и санитарные помещения квартиры, - 45, а для ограждений между жилыми комнатами и встроенными магазинами или кафе - соответственно 55 и 60 дБ.
Для обеспечения звукоизоляции применяют акустически однородные или неоднородные конструкции. В качестве акустически однородных используют массивные однослойные ограждающие конструкции сплошного или многопустотного сечения, в качестве неоднородных- двойные стены и перегородки, стены с гибким экраном, многослойные легкие перегородки. Способ звукоизоляции выбирают исходя из целесообразного использования свойств применяемых материалов.
Ригели железобетонные - в строительстве - линейный несущий элемент (сплошной или решетчатый) в конструкциях зданий и сооружений. Соединяет стойки, колонны (ригель рамы); служит опорой прогонов, плит (ригель перекрытия, покрытия). Выполняется из железобетона.
Ригели подразделяют на типы: РДП - для опоры много пустотных плит на две его полки (двух полочный);
РДР - то же, для опоры ребристых плит;
РОП - для опоры много пустотных плит на одну его полку (одно полочный);
РЛП - то же, применяемый только в лестничных клетках;
РОР - для опоры ребристых плит на одну его полку (одно полочный);
РЛР - то же, применяемый только в лестничных клетках;
РКП - консольный для опоры много пустотных плит балконов;
Рис.9. Схема крепления ригелей.
Перекрытия — это внутренние горизонтальные ограждающие конструкции здания, членящие его по высоте на этажи. Их назначение — воспринять и передать на стены или колонны постоянные и временные нагрузки от людей, мебели и оборудования, а также изолировать помещения друг от друга и от влияния внешней среды. Эти функции и определяют их прочностные, а также тепло-, влаго-, газо- и звукоизолирующие качества. В многоэтажных жилых зданиях перекрытия служат связями — жесткими диафрагмами, способными придавать зданию повышенную устойчивость.
Для изготовления несущих элементов перекрытий многоэтажных зданий обычно применяются несгораемые материалы; железобетон на тяжелом и на легком заполнителях (керамзито-.шла-ко-, перлитобетонах и др.}; стальной профилированный настил, металлические балки, защищенные от непосредственного воздействия огня, и т. п. Перекрытия выполняются сборными, монолитными и сборно-монолитными.Монолитные железобетонные перекрытия изготовляют на стройке в специально изготовленной опалубке, их выполняют чаше трех видов: ребристыми, кессоннированными и безбалочными (плитными)
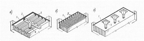
Рис.10. Типы междуэтажных монолитных перекрытий.
а — ребристое, 6— кессонированное, в — безбалочное 1 — плита, 2 — главная балка(ригель)
3 — второстепенная балка, 4 — колонна, 5 — капитель.
Первый состоит из плиты, второстепенных и главных балок. На рисунке балки (или ребра) направлены вниз; при необходимости получить гладкий потолок устраивают перекрытие ребрами вверх, что менее экономично, так как площадь поперечного сечения верхней сжатой зоны уменьшена. Кессонированное перекрытие получают при пересечении равномерно расположенных в двух направленииях ребер одной высоты; его применяют из эстетических соображений в интерьерах обшественных зданий, а также как средство облегчения собственной
Массы плиты при больших пролетах. Безбалочные перекрытия опираются на колонны или через капители.
Типы междуэтажных сборных перекрытий.
а—балочные; б — плитные; 1 — балки; 2 — межбалочное заполнение; 3 — плиты
Перекрытия разделяют по видам и по типу конструкций.
Расположенные над подвальными (полуподвальными) этажами — называют подвальными (полуподвальными),
расположенные над техническими подпольями — цокольными,
отделяющие верхний этаж от чердака — чердачными,
расположенные между смежными этажами — междуэтажными.
1 — опирание элементов здания; 2 — собственный вес; 3 — движение теплового потока; 4 — диффузия водяных паров; 5 — воздухопроницание; 6—ударный шум; 7 — воздушный шум; 8— эксплуатационные нагрузки; 9 — специфические воздействия
Рис. 12. Перекрытия по металлическим балкам
1 — балки; 2 — гипсобетонная плита; 3 — промазка щелей раствором или подстилка толя; 4 — усиление изоляции воздушного шума (песок); 5 — изоляция ударного шума (упругие прокладки); 6 — пол по лагам; 7 — пароизоляция; 8 — теплоизоляция; 9— стяжка; 10 — затирка; 11 — металлическая сетка; 12 — деревянный короб
Перекрытие по железобетонным балкам(используются редко)
а — с заполнением из плит; б — с заполнением из пустотелых блоков: 1 — балки; 2 — плиты; 3 — пустотелые блоки; 4 — промазка щелей раствором или подстилка толя; 5 — усиление изоляции воздушного шума (песок); 6 — изоляция ударного шума (упругие прокладки); 7 изоляция воздушного и ударного шумов; 8 — пол по лагам; 9 — пол по стяжке; 10 — пароизоляция; И — теплоизоляция; 12 — стяжка; 13 — затирка
Перекрытие по железобетонный плитам
а —виды несущих плит; б— конструкции перекрытий; 1 — сплошная плита (Y=400 кг/м2); 2 — круглопустотная; 3 — ребристая; 4 — типа ТТ; 5 — изоляция ударного шума; 6 — пол по стяжке; 7 — усиление изоляции воздушного шума (гипсобетонные плиты по лагам); 8 — пол; 9 — пароизоляция; 10—теплоизоляция; 11 — стяжка.
Крыша — верхняя конструкция, отделяющая помещения здания от внешней среды и защищающая их от атмосферных осадков и других внешних воздействий. Состоит из несущей части {стропил} и изолирующих (ограждающих) частей, в том числе — наружной водонепроницаемой оболочки — кровли. Крыши устраивают чердачные и бесчердачные. Чердачные (над чердаком) бывают холодными (теплозащитные функции выполняет чердачное перекрытие) и утепленными. Утепленная или как говорят, «теплая крыша устраивается при наличии и при отсутствии чердака, когда функции чердачного перекрытия и кровли совмещаются (в последнем случае применяются названия: совмещенная крыша, совмещенное покрытие, и бесчердачное перекрытие.
