Проектирование моста через несудоходную рекуРефераты >> Строительство >> Проектирование моста через несудоходную реку
Для слабосвязных грунтов разработана технология вытрамбовки скважины специальным пробойником, изготовленном из толстостенной трубы с приваренным острием на одном конце. Острым концом пробойник забивается копром на проектную глубину без устройства лидерных скважин. При этом стенки скважины уплотняются до состояния, позволяющего установить в полученную скважину арматурный каркас и забетонировать сваю.
1.5 Конструкции промежуточных опор и устоев
При наличии ледохода принимают массивные промежуточные опоры сборно-монолитной конструкции обтекаемой формы ( для уменьшения местного размыва).
Конструкция устоев зависит от высоты насыпи на подходах к мосту (HH) и длины береговых пролетных строений. Высота насыпи
HH = БН – ОД (1.1)
где БН – отметка бровки насыпи , назначенная на 0,9 м и ниже отметки
подошвы рельса на дорогах I и II категории;
ОД – отметка дна у концов моста.
Данные о типовых свайных устоях (типовые проекты №708 и 8828) имеются в справочном материале, выдаваемом каждому студенту.
1.6 Тип пролетного строения
Определим длину пролетного строения по формуле
lп =
(1.6) lп =
м.
Полная длина принимается 16.5 м, расчетный пролет l=15.8 м, строительная высота 1.9 м, высота балки (плиты hб)=1.4 м, объем железобетона = 36.93
.
Выбирая тип пролетного строения, и назначая его длину, следует контролировать соблюдение требования о возвышении низа пролетного строения над УВВ. Максимально допустимая строительная высота пролетного строения
(1.7)
ориентируясь на
принимаем типовые ребристые пролетные строения из обычного ж/б.
lп=16,5м;
lр=15,8м;
hстр.=1,9м;
hт=1,4м;
Vж.б. =36,93
.
2 Разработка моста
Заданный для курсового проектирования мостового перехода вычерчивают в масштабе 1:200 на листе миллиметровой бумаги формата А2. На профиле показывают геологическое строение, уровни воды, линию дна реки после размыва, линию подошвы рельса (ПР).
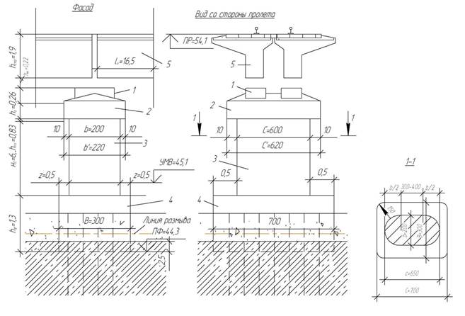
2.1 Эскизное проектирование промежуточной опоры
На рисунке 2.1 представлен эскиз промежуточной опоры. Выбрав в первом приближении типовое ребристое напряженное пролетное строение полной длины
м, ширина имеющую строительную высоту
(не превышающую максимально допустимую по рекомендации разд. 1.6), ширину тела опоры b=200см, С=600см, определяем отметку верха опорной площадки (ОП)
, (2.1)
где
- высота опорных частей пролетного строения (для
…16,5м
=0,22м )
.
При заданной толщине льда (
) определяем отметку обреза фундамента (ОФ)
, (2.2)
Минимальные значения толщины опорной площадки (
) и оголовка (подферменной плиты)
принимаются
;
, (2.3)
здесь
- ширина подферменника по фасаду, принимаемая на 20см шире толщины опоры
1-опорная площадка;
2-подферменная плита (оголовок);
3-тело опоры;
4-фундамент;
5-пролетные строения;
Рис. 2.1 - Эскиз промежуточной опоры с фундаментом на опускном колодце
Высота тела опоры
(2.3)
Принимаем
тогда
.
Тогда, чтобы определить обрез фундамента (ОФ) необходимо
(2.4)
44,6
1,3=43,3м.
Вычисляем объем подферменной плиты по формуле
(2.5)
Вычисляем объем тела
(2.6)
.
Вычисляем объем фундамента
(2.7)
.
2.2 Эскизное проектирование устоев
Размеры устоя по фасаду определяют геометрически в зависимости от высоты Нн. Подошва фундамента заглублена в несущий слой на 0.5м.
а – рекомендации и пример эскиза фасада устоя;
б – вид со стороны пролета;
Рисунок 2.1- Эскизное проектирование устоя
2.3 Составление чертежа моста
Фасад моста вычерчивают в масштабе 1:200. Пролетные строения изображают в виде прямоугольников высотой, равной строительной высоте минус 0.15 м, и длиной, равной половине длине пролетных строений. На фасадах промежуточных опор и устоев показывают отдельные их части и фундаменты. При вычерчивании устоев изображают также насыпь и конусы. Рядом с фасадом моста вычерчивают поперечный разрез, на котором показывают сечение пролетного строения и вид на промежуточную опору.
На фасаде моста указывают длину моста (расстояние между задними гранями устоев); длины пролетных строений и величины зазоров между ними; строительные высоты пролетных строений; возвышение низа конструкции пролетных строений над уровнем высокий вод; размеры по фасаду отдельных частей одной из промежуточных опор; отметки уровней воды, подошвы рельса и Бровки Насыпи (БН), Низа Конструкции пролетного строения (НК), Верха Опоры (ВО), Обреза Фундамента (ОФ), номера опор, начиная с левого берега. Размеры на чертеже дают в метрах, отметки в метрах.
