Специализированная поликлиника в г. КраснодареРефераты >> Строительство >> Специализированная поликлиника в г. Краснодаре
22. Требуемая среднесуточная кратность воздухообмена в общественных зданиях, функционирующих не круглосуточно, определяется по формуле:
где
— продолжительность рабочего времени в учреждении, ч;
— кратность воздухообмена в рабочее время, ч-1, согласно СНиП 2.08.02 для учебных заведений, поликлиник и других учреждений, функционирующих в рабочем режиме неполные сутки, 0,5 ч-1 в нерабочее время;
na=
=0,75 ч-1
23. Приведенный инфильтрационный (условный) коэффициент теплопередачи здания определяется по формуле:
Кminf= 0.28×c×na×bv ×Vh gaht×k/Acsum, gaht=353/(275+textav)
Кminf = 0,28×1×0,75×0,85×10101×1,27×0,8/3745,7 = 0,489 (Вт/м2×0С).
24. Общий коэффициент теплопередачи здания, (Вт/м2×0С) определяемый по формуле:
Кm = Kmtr+ Кminf= 0,651+0,489 = 1,14 (Вт/м2×0С)
Теплоэнергетические показатели
25. Общие теплопотери через ограждающую оболочку здания за отопительный период, МДж
Qh = 0.0864×Km×Dd× Aesum = 0,0864×1,14×3058×3745,7 = 1128207(МДж)
26. Удельные бытовые тепловыделения qint, Вт/м3, следует устанавливать исходя из расчетного удельного электро- и газопотребления здания, но не менее 10 Вт/м3
Принимаем 12 Вт/м3.
27. Бытовые теплопоступления в здание за отопительный период, МДж:
Qint = 0,0864×qint×Zht×AL = 0,0864×12×168×2528,6 = 440437 МДж
28. Теплопоступления в здание от солнечной радиации за отопительный период, МДж:
Qs =tF×kF×(AF1l1+AF2l2+ AF3l3+AF4l4)= 0,9×0,9×(185,26×382+ 131,26×816+ 98,52 ×382+126,96×816)= 0,81×(70769+107108+37634+103599)=258479 МДж
29. Потребность в тепловой энергии на отопление здания за отопительный период, МДж, определяют по формуле:
Qhy = [Qh – (Qint + Qs)×Y]×bh
Qhy = [1128207- (440437+258479)×0,8]×1,13 = 643053 МДж
30.Удельный расход тепловой энергии на отопление здания qhdes, кДж/(м3×0Ссут): qhdes = 103 Qhy/Ah×Dd
qhdes= 103×643053 /10101×3058 = 20,81 кДж/(м3×0Ссут)
Разница между удельным расходом энергии на отопление здания и требуемым (20,81 против 31) составляет 32,87%, что превышает допустимую разницу (5%), поэтому необходим пересмотр вариантов до достижения условия:
qhreg ≥ qhdes.
Уменьшаем приведенные сопротивления теплопередачи ограждающих конструкций, определенные по таблице 1”б” СНиП II-3-79*, исходя из условий энергосбережения. (Изменения вносим в пункт 19).
19. Для второго этапа принимаем следующие сопротивления ограждающих конструкций:
- стен Rwred= 1,72 м2×0С/Вт;
- окон и балконных дверей Rfred= 0,377 м2×0С/Вт;
- входных дверей Rwred= 1,35 м2×0С/Вт;
- совмещенное покрытие Redred= 20,5 м2×0С/Вт;
- пол первого этажа Rf = 1,15 м2×0С/Вт;
20. Приведенный трансмиссионный коэффициент теплопередачи:
Kmtr = b(Aw/Rwr+AF/ RFr + Aed/ Rtdr+n× Ac/ Rcr+ n× Af/ Rfr)/ Аеsum
Kmtr = 1,1(1426,6/1,72 + 542,5/0,38 + 5,75/1,35 + 1×885,4/2,05 +0,6×885,4/3,25)/3745,7 = 1.1(829,4 + 1427,6 + 4,25 + 431,9+769,9)/3745,7 = 0,92 (Вт/м2×0С),
21. (Без изменения.) Воздухопроницаемость наружных ограждений принимается по таблице 12* СниП П-3-79*. Согласно этой таблице воздухопроницаемость стен, покрытия, перекрытия первого этажа Gmw = Gmc = Gmf = 0,5 кг/(м2×0С), окон и деревянных переплетов и балконных дверей GmF = 6 кг/(м2×0С).
22. (Без изменения.) Требуемая среднесуточная кратность воздухообмена в общественных зданиях, функционирующих не круглосуточно, определяется по формуле:
где
— продолжительность рабочего времени в учреждении, ч;
— кратность воздухообмена в рабочее время, ч-1, согласно СНиП 2.08.02 для учебных заведений, поликлиник и других учреждений, функционирующих в рабочем режиме неполные сутки, 0,5 ч-1 в нерабочее время;
na=
=0,75 ч-1
24. Общий коэффициент теплопередачи здания, (Вт/м2×0С) определяемый по формуле:
Кm = Kmtr+ Кminf= 0,92+0,489 = 1,409 (Вт/м2×0С)
Теплоэнергетические показатели
25. Общие теплопотери через ограждающую оболочку здания за отопительный период, МДж
Qh = 0.0864×Km×Dd× Aesum = 0,0864×1,409×3058×3745,7 = 1394425,7(МДж)
26. (Без изменения.) Удельные бытовые тепловыделения qint, Вт/м3, следует устанавливать исходя из расчетного удельного электро- и газопотребления здания, но не менее 10 Вт/м3
Принимаем 12 Вт/м3.
27. (Без изменения.) Бытовые теплопоступления в здание за отопительный период, МДж:
Qint = 0,0864×qint×Zht×AL = 0,0864×12×168×2528,6 = 440437,3 МДж
28. (Без изменения.) Теплопоступления в здание от солнечной радиации за отопительный период, МДж:
Qs =tF×kF×(AF1l1+AF2l2+ AF3l3+AF4l4)= 0,9×0,9×(185,26×382+131,26×816 +98,52 ×382+126,96×816)= 0,81×(70769+107108+37634+103599)=258479 МДж
29. Потребность в тепловой энергии на отопление здания за отопительный период, МДж, определяют по формуле:
Qhy = [Qh – (Qint + Qs)×Y]×bh
Qhy = [1394425,7- (440437,3+258479,1)×0,8]×1,13 = 943880,2 МДж
30. Удельный расход тепловой энергии на отопление здания qhdes, кДж/(м3×0Ссут): qhdes = 103 Qhy/Ah×Dd
qhdes= 103×943880,2 /10101×3058 = 30,55 кДж/(м3×0Ссут)
При требуемом qhred = 31 кДж/(м3×0Ссут)
По принятым сопротивлениям теплопередаче определимся конструкциями ограждений и толщиной утеплителя совмещенного покрытия и перекрытия первого этажа.
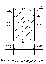
Стены: принимаем следующую конструкцию стены, теплотехнические характеристики материалов (рис. 4)
1. Известково-песчанный раствор плотностью 1600 кг/м3 d1=20мм, с коэффициентом теплопроводности
А=0,70 Вт/(моС)
2. Пенобетон плотностью 800 кг/м3 d2=Х мм, с коэффициентом теплопроводности
А=0,33 Вт/(моС)
3. Цементно-песчаный раствор плотностью 1800 кг/м3 d3=20 мм, с коэффициентом теплопроводности
А=0,76 Вт/(моС)
Сопротивление теплопередаче:
R0 =RВ+Rраств+Rж/б +Rраств + Rн =Roтреб
