Определение оптимальных рабочих параметров процесса экстрактивной ректификации смеси ацетон-хлороформ в сложной колонне с боковой секцией
1.3. ПРИМЕНЕНИЕ СЛОЖНЫХ КОЛОНН ДЛЯ РАЗДЕЛЕНИЯ ЗЕТРОПНЫХ И АЗЕОТРОПНЫХ СМЕСЕЙ.
К сложным колоннам относятся колонны с боковыми отборами, колонны с несколькими питаниями, а также колонны с полностью или частично связанными (колонны с боковыми секциями) тепловыми и материальными потоками. Использование сложных колонн как элементов разделительного комплекса резко повышает число возможных вариантов организации процесса разделения.
Комплексы со связанными тепловыми потоками были исследованы применительно к разделению ряда промышленных смесей.
Их использование на установках газофракционирования для разделения смеси изо-С4, н-С4, изо-С5, н-С5 позволяет уменьшить энергозатраты на разделение приблизительно на 50 % [14].
Аналогичные результаты может дать применение комплексов со связанными тепловыми потоками в установках вторичной перегонки бензинов.
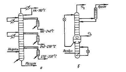
Колонны с выносными отпарными секциями, широко распространенные в нефтепереработке (установки первичной перегонки нефти, каталитического крекинга, разделения ароматических углеводородов, первичной перегонки бензинов и др.), и колонны с выносными укрепляющими секциями (например, комплексы для разделения воздуха с получением азота, аргона и кислорода) следует классифицировать, как комплексы с частично связанными тепловыми потоками. Промышленные комплексы с частично связанными тепловыми потоками показаны на рис.1.5. Эти комплексы занимают промежуточное место между комплексами со связанными тепловыми потоками и обычными схемами ректификации. По схеме разделения–это или схемы последовательного отделения тяжелых компонентов (колонны с выносными отпарными секциями) или схемы последовательного отделения легких компонентов (колонны с выносными укрепляющими секциями). Эти схемы имеют один общий дефлегматор и несколько кипятильников (вместо кипятильников на установках первичной перегонки нефти используют отпарку острым водяным паром) или один общий кипятильник и несколько дефлегматоров. Энергетические затраты на разделение в комплексах с частично связанными тепловыми потоками являются средними между затратами в комплексах с полностью связанными тепловыми потоками.
Рис. 1.5. Схемы промышленных ректификационных комплексов с частично связанными тепловыми потоками: а – с боковыми отпарными секциями для разделения сырой нефти на фракции; б – с боковой укрепляющей секцией для разделения воздуха на кислород, азот и аргон [14].
Недавно в литературе появились сведения о возможности организации процесса экстрактивной ректификации бинарных азеотропных смесей в одной сложной колонне с боковым отбором. Этот способ позволяет уменьшить энергозатраты по сравнению с классической схемой, но одновременно наблюдается снижение качества продуктовых потоков.
В работе [15] предлагается разделять бинарные азеотропные смеси новым способом экстрактивной ректификации. В этом случае три компонента выделяются в различных частях экстрактивной колонны (см. рис.1.6). Среднекипящий компонент отбирают в паровой фазе в качестве бокового отбора. Этот способ может быть использован только в том случае, если растворитель является высококипящим, что является типичной ситуацией, с которой сталкиваются на практике. В качестве примера авторами [15] рассмотрен процесс разделения смеси этанол - вода с использованием в качестве экстрактивного агента этиленгликоля.
а б
Рис. 1.6. Типичный процесс экстрактивной ректификации (а). Новый процесс экстрактивной ректификации (б).
Предполагается, что этот способ может быть использован для разделения других систем.
Методом вычислительного эксперимента авторы провели сопоставление традиционного и нового вариантов. Для расчета фазового равновесия они использовали уравнение NRTL. Число тарелок в новой экстрактивной колонне было равно числу тарелок в первой колонне традиционной схемы экстрактивной ректификации.
Авторами получены профили концентраций компонентов по высоте колонны, которые существенно отличаются от профилей в традиционной схеме.
Новый способ организации процесса позволяет несколько снизить энергетические затраты. Однако при этом снижается и качество продуктовых потоков, а при больших расходах ЭА содержание его в продукте, отбираемом в виде бокового потока, ещё увеличивается.
Авторами [16] рассмотрены схемы с полностью связанными тепловыми и материальными потоками.
Для осуществления тепловой связи между отдельными двухсекционными колоннами каждая из них в точке питания и в концевых точках соединяется со смежными колоннами противоположно направленными паровым и жидкостным потоками (см. рис. 1.7).
Рис.1.7. Схемы со связанными тепловыми потоками и минимальным числом колонн для n=2-3.
При этом не только снижаются суммарные термодинамические потери при теплопередаче, но и уменьшается термодинамическая необратимость процесса (снижаются термодинамические потери при смешении потоков на концах колонн). Это также позволяет отказаться от всех дефлегматоров и кипятильников в точках вывода промежуточных по летучести продуктов. В то же время исключаются соответствующие затраты тепла и холода, при чем происходит не перенос этих нагрузок из одной точки схемы в другую, а их взаимное погашение. При всех своих термодинамических преимуществах способ ректификации с обратимым смешением потоков имеет один существенный недостаток: с увеличением числа разделяемых компонентов резко возрастает число секций.
Авторами рассмотрен ряд примеров разделения промышленных смесей, показана экономическая эффективность применения ректификационных систем со связанными тепловыми потоками:
1) смесь этилбензола и изомеров ксилола (орто-, мета-, пара-). Применение усовершенствованной схемы позволяет на 50% сократить расход тепла и на 10% – капиталовложения;
2) разделение ШФЛУ на ЦГФУ (С2-С6). Сокращение нагрузки на кипятильники и дефлегматоры на 48 и 38% соответственно и уменьшение числа кипятильников и дефлегматоров с 12 до 6 шт;
3) разделение диэтилбензола – сырца;
4) смесь хлорметанов;
5) смесь ароматических углеводородов С9.
В первых четырех примерах экономия энергии составляет 20-50%, причем в трех из них экономия близка к максимальной; только при разделении диэтилбензола - сырца, когда ректификационная система со связанными тепловыми потоками охватывает выделение лишь части продуктов разделения, она снижается до 20%.
Экономический эффект может быть значительно повышен, если объединить большее число двухсекционных колонн. Сравнительно небольшая экономия энергии (40%), полученная в последнем, пятом, примере при объединении в одну систему пяти двухсекционных колонн, объясняется малой относительной летучестью одной пары компонентов по сравнению с остальными.
В работе [17] исследовано разделение эквимассовых трех-, четырех-, и пятикомпонентных смесей предельных углеводородов С5-С9 при атмосферном давлении. Показано, что с ростом числа продуктов разделения при ограниченном числе тарелок в системе экономичность схем со связанными тепловыми и материальными потоками (СТМП) прогрессивно снижается по сравнению со схемами с частично связанными потоками и схемами с минимальным числом секций. Схемы с СТМП обладают наибольшей эффективностью по сравнению со схемами из простых колонн при относительно невысокой четкости разделения и содержании в исходной смеси не менее 20%мас. среднелетучего компонента. Так, при сравнении различных схем разделения смеси гексан–гептан–октан на три продукта (см. рис.1.8) в простых (схемы 1 и 2) и сложных – с частично связанными (схема 3) и полностью связанными (схема 4) потоками в при качестве продуктов 91,5 – 96,3%мас. обеспечивается экономия тепла, подводимого в кипятильники колонн, на 11,6 – 27,7%.
