Переработка полимеров
2.2 ТЕХНОЛОГИЯ ПЕРЕРАБОТКИ
Тот факт, что полимерные материалы используют в самых различных формах, таких, как стержни, трубы, листы, пенопласты, покрытия или адгезивы, а также как прессованные изделия, подразумевает наличие разнообразных способов переработки полимерных компаундов в конечные продукты. Большинство полимерных изделий получено либо формованием, либо обработкой, либо отливкой жидких форнолимеров в форме с последующим отвердением или сшиванием. Волокна получают в процессе прядения.
Процесс формования можно сравнить, например, с лепкой какой-либо фигуры из глины, а процесс обработки — с вырезанием той же фигуры из куска мыла. В процессе формования компаунд в виде порошка, чешуек или гранул помещают в пресс-форму и подвергают воздействию температуры и давления, в результате чего образуется конечный продукт. В процессе обработки получают изделия в виде простых форм, таких, как листы, стержни или трубы, используя штапелирование, штамповку, склейку и сварку.
Прежде чем перейти к обсуждению разнообразных методов переработки полимеров, напомним, что полимерные материалы могут быть термопластичными или термореактивными (термоотверждающимися). После формования термопластичных материалов под действием температуры и давления перед освобождением из пресс-формы их следует охлаждать ниже температуры размягчения полимера, так как в противном случае они теряют форму. В случае термореактивных материалов такой необходимости нет, поскольку после однократного совместного воздействия температуры и давления изделие сохраняет приобретенную форму даже при его освобождении из пресс-формы при высокой температуре.
2.3 КАЛАНДРОВАНИЕ
Процесс каландрования обычно применяют для производства непрерывных пленок и листов. Основной частью аппарата (рис.1) для каландрования является комплект гладко отполированных металлических валков, вращающихся в противоположных направлениях, и устройство для точного регулирования зазора между ними. Зазор между валками определяет толщину каландрованного листа. Полимерный компаунд подается на горячие валки, а лист, поступающий с этих валков, охлаждается при прохождении через холодные валки. На последнем этапе листы сматываются в рулоны, как показано на рис.1. Однако если вместо листов требуется получить тонкие полимерные пленки, применяют серию валков с постепенно уменьшающимся зазором между ними. Обычно в листы каландруют такие полимеры, как поливинилхлорид, полиэтилен, каучук и сополимер бутадиена, стирола и акрилонитрила.
Рис. 1. Схема аппарата для каландрования
/ — полимерный компаунд; 2 — каландровочные валки: горячие (3) и холодный (4); 5 — каландрованный лист; б — направляющие валки; 7 — сматывающее устройство
При использовании в каландровочной машине профилированных валков можно получать тисненые листы различных рисунков. Различные декоративные эффекты, такие, как имитация под мрамор, могут быть достигнуты путем введения в каландр смеси компаундов различных цветов. Технология обработки под мрамор обычно используется в производстве плиток для пола из поливинилхлорида.
2.4 ЛИТЬЕ
ЛИТЬЕ В ФОРМЕ. Это сравнительно недорогой процесс, который состоит в переработке жидкого форполимера в твердые изделия требуемой формы. Этим методом могут быть получены листы, трубы, стержни и т.п. изделия ограниченной длины. Схематически процесс литья в форме представлен на рис.2. В этом случае форполимер, смешанный в соответствующих пропорциях с отвердителем и другими ингредиентами, выливают в чашку Петри, которая и служит формой. Затем чашку Петри помещают на несколько часов в печь, нагретую до необходимой температуры, до полного завершения реакции отвердения. После охлаждения до комнатной температуры твердый продукт вынимают из формы. Твердое тело, отлитое таким образом, будет иметь форму внутреннего рельефа чашки Петри.
Рис.2. Простейшее изображение процесса литья в форме
б — наполнение чашки Петри форполимером и отвердителем; б - нагревание в печи; б — извлечение из формы остывшего продукта
Если вместо чашки Петри использовать цилиндрическую стеклянную трубу, закрытую с одного конца, можно получить изделие в виде цилиндрического стержня. Кроме того, вместо форполимера и отвердителя в форме можно вылить смесь мономера, катализатора и других ингредиентов, нагретую до температуры полимеризации. Полимеризация в этом случае будет протекать внутри формы до образования твердого продукта. Для литья в форме подходят акрилы, эпоксиды, полиэфиры, фенолы и уретаны.
Формы для литья изготавливают из алебастра, свинца или стекла. В процессе отвердения происходит усадка полимерного блока, что облегчает его освобождение из формы.
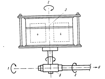
РОТАЦИОННОЕ ЛИТЬЕ. Полые изделия, такие, как мячи и куклы, получают в процессе, называемом "ротационное литье". Аппарат, используемый в этом процессе, представлен на рис.3.
Компаунд термопластического материала в виде мелкого порошка помещают в полую форму. Используемый аппарат имеет специальное приспособление для одновременного вращения формы вокруг первичной и вторичной осей. Форму закрывают, нагревают и вращают. Это приводит к однородному распределению расплавленного пластика по всей внутренней поверхности полой формы. Затем вращающуюся форму охлаждают холодной водой. При охлаждении расплавленный пластический материал, однородно распределенный по внутренней поверхности формы, затвердевает. Теперь форму можно открывать и вынуть конечное изделие.
Также в форму может быть загружена жидкая смесь термореактивного форполимера с отвердителем. Отвердение в этом случае будет происходить при вращении под действием повышенной температуры.
Ротационным литьем производят изделия из поливинилхлорида, такие, как галоши, полые шары или головы для кукол. Отвердение поливинилхлорида осуществляется путем физического гелеобразования между поливинилхлоридом и жидким пластификатором при температурах 150
200°С. Мелкие частицы поливинилхлорида однородно диспергированы в жидком пластификаторе вместе со стабилизаторами и красителями, образуя, таким образом, вещество со сравнительно низкой вязкостью. Этот пастообразный материал, называемый "пластизоль", загружают в форму и откачивают из нее воздух. Затем форму начинают вращать и нагревать до требуемой температуры, что приводит к гелеобразованию поливинилхлорида. Толщина стенок образующегося продукта определяется временем гелеобразования.
Рис.3. В процессе ротационного литья полые формы, наполненные полимерным материалом, одновременно вращают вокруг первичной и вторичной осей
