Умягчение воды катионированием
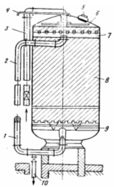
Рис. 20.12. Схема одноступенчатого натрий-катионирования воды.
1,7 — подача исходной и отвод умягченной воды; 2 — натрий- катионитовый фильтр; 3 — бак с раствором поваренной соли; 4 — бак с частично умягченной водой для взрыхления катионита; 5 — резервуар умягченной воды; 6 — насос
Регенерация Na-катионита достигается фильтрованием через него со скоростью 3 . 4 м/ч хлористого натрия концентрацией 5 . 8%. При жесткости умягченной воды до 0,2 мг-экв/л принимают концентрацию соли 5%, при жесткости менее 0,05 мг-экв/л предусматривают ступенчатую регенерацию: сначала 5%-ным раствором NaCl в количестве 1,2 м3 раствора на 1 м3 катионита, затем остальным количеством соли в виде 8%-ного раствора.
Процесс регенерации описывается следующей реакцией:
Поваренную соль применяют для регенерации из-за ее доступности, дешевизны, а также вследствие того, что получают при этом хорошо растворимые соли СаС12 и MgCl2, легко удаляемые с регенерационным раствором и отмывочной водой.
Расход соли р на одну регенерацию Na-катионитового фильтра первой ступени находят из выражения
где а — площадь фильтра, м2; hK — высота слоя катионита в фильтре, м; epNa — рабочая обменная емкость катионита при Na-катионировании; а — удельный расход соли на 1 г-экв рабочей обменной емкости катионита (для фильтров I ступени в двухступенчатой схеме 120 . 150, а в одноступенчатой а=150 . 200 г/г-экв, удельный расход соли на фильтрах II ступени 300 .400 г/г-экв).
При фильтровании раствора поваренной соли сверху вниз при регенерации полный обмен ионов натрия на содержащиеся в катионите Са2+ и Mg2+ происходит в верхних слоях ионообменника, при этом в фильтре возрастает концентрация вытесненных из катионита Са2+ и Mg2+ и снижается концентрация ионов натрия. Возрастание концентрации противоионов (в рассматриваемом случае Ca(II) и Mg(II) в регенерационном растворе подавляет диссоциацию истощенного катионита и ослабляет процесс ионного обмена. Образующийся при этом противоионный эффект тормозит регенерацию, в результате чего по мере продвижения регенерационного раствора в нижние слои катионита их регенерация происходит не полно, и некоторое количество катионов Ca(II) и Mg(II) остаются невытесненными из нижних слоев катионита. Устранение этого недостатка возможно пропуском через катионит свежих порций раствора реагента. Однако, это увеличивает удельный расход поваренной соли и повышает стоимость обработки воды. На практике ограничиваются однократным пропуском соли при жесткости умягченной воды до 0,20 мг-экв/л или двукратным — при жесткости ниже 0,05 мг-экв/л. По аналогии, при фильтровании умягчаемой воды сверху вниз также возникает противоионный эффект, снижающий глубину умягчения воды, при этом противоионами являются катионы натрия. Этот недостаток устраняется путем подачи регенерационного раствора и умягчаемой воды в разных направлениях, последняя, фильтруясь снизу вверх при выходе из фильтра, соприкасается с наиболее полно отрегенерированными слоями катионита, благодаря чему обеспечивается более глубокое умягчение воды. Такой метод умягчения воды называется методом противоточного катионирования. При этом значительно снижается расход реагентов на регенерацию катионита без уменьшения глубины умягчения.
На рис. 20.13 показан фильтр противоточного катионирования.
Схема одноступенчатого Na-катионирования имеет недостатки, лимитирующие ее применение: невозможность глубокого умягчения воды (до 0,01 . 0,02 мг-экв/л); высокий удельный расход соли на регенерацию; неполное использование емкости поглощения катионита.
Более глубокого умягчения воды, экономии соли и увеличения фильтроцикла достигают двухступенчатым Nа-катионированием (рис. 20.14). В этом случае в фильтрах 1 ступени вода подвергается умягчению до остаточной жесткости 0,1 .0,20 мг-экв/л при обычной скорости фильтрования 15 . 25 м/ч. Затем умягченная вода передается на натрий-катионитовые фильтры II ступени, где жесткость предварительно умягченной воды снижается до 0,02 . 0,01 мг-экв/л. Так как количество солей жесткости, поступающих на фильтры II ступени незначительно, скорость фильтрования принимают до 40 м/ч, а высоту слоя катионита 1,5 м. Фильтры II ступени создают своего рода барьер, препятствующий проскоку удаляемых катионов при случайных отклонениях в работе фильтров первой ступени. Поэтому натрий-катионитовые фильтры второй ступени называют барьерными.
Рис. 20.13. Противоточный катионитовый фильтр
1,2 — ввод исходной и отвод умягченной воды; 3, 10 — подача регенерационного раствора и сброс отмывочной воды; 4 — воздушник; 5 — люк; 6 — реагентораспределитель; 7, 9 — дренажная и распределительная колпачковая система; 8 — слой катионита
При их наличии упрощается эксплуатация установки, поскольку катионитовые фильтры первой ступени отключаются на регенерацию не по проскоку катионов солей жесткости, требующему тщательного контроля жесткости фильтрата, а по количеству воды, прошедшей через них. Некоторое повышение количества солей жесткости после фильтров первой ступени неопасно, так как они будут задержаны барьерными фильтрами. Емкость поглощения на фильтрах и сроки их полезной работы при двухступенчатом катионировании увеличиваются. Так как фильтры второй ступени несут небольшую нагрузку по умягчению воды, продолжительность межрегенерационной их работы достигает 200 ч.
Рис. 20.14. Схема двухступенчатого натрий-катионитового умугчения воды
1,9— подача исходной и отвод умягченной воды; 2, 6 — натрий-катионитовые фильтры I и II ступени; 3, 5 — баки с раствором соли для регенерации фильтров I и II ступени; 4 — бак с водой для взрыхления загрузки фильтров; 7 — резервуар умягченной воды; 8 — насос
Катионит после регенерации фильтров первой ступени отмывают неумягченной водой до тех пор, пока содержание хлоридов в фильтрате не станет примерно равным содержанию их в отмывочной воде. Половину отмывочной воды направляют в водостоки, а вторую половину в баки для использования при взрыхлении катионита или для приготовления регенерационного раствора. Удельный расход воды на отмывку принимают равным 4 . 5 м3/м3 катионита. Катионит в фильтрах второй ступени отмывают фильтратом первой ступени. Удельный расход соли принимают 300 . 400 г/г-экв задержанных катионов жесткости.
Таблица 20.4
Примечания: 1. В скобках даны скорости фильтрования при загрузке мелким катионитом с крупностью зерен 0,3—0,8 мм.
1 Допускается кратковременное увеличение скорости на 10 м/ч по сравнению с указанными при выключении фильтра на регенерацию (максимально допустимая скорость). Скорость фильтрования менее 5 м/ч не допускается из-за возможного резкого снижения обменной емкости катионита.
