Умягчение воды катионированием
Схему параллельного Н—Na-катионирования целесообразно применять в тех случаях, когда суммарная концентрация сульфатов и хлоридов в умягчаемой воде не превышает 4 мг-экв/л и содержание натрия не более 2 мг-экв/л.
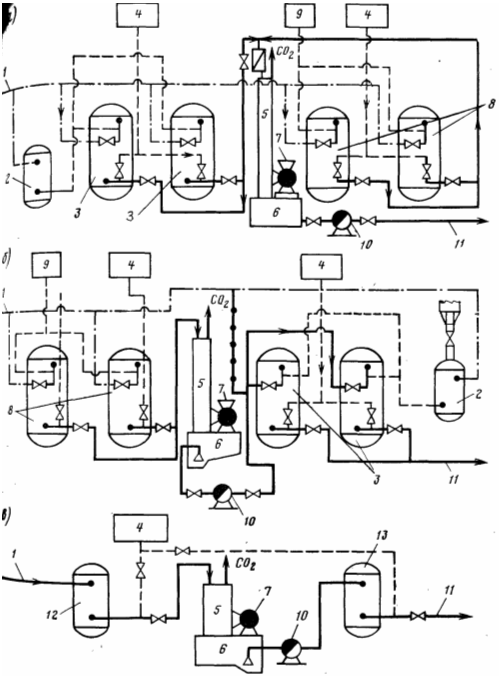
При последовательном Н—Nа-катионировании (рис. 20.15,6) часть воды пропускают через Н-катионитовые фильтры, затем смешивают с остальной водой, полученную смесь пропускают через дегазатор для удаления оксида углерода (IV), а затем всю воду подают на натрий-катионитовые фильтры. Количество воды, подаваемое на Н-катионирование, определяют, как и при параллельном Н—Nа-катионировании. Подобная схема позволяет более полно использовать обменную емкость Н-катионита и снизить расход кислоты на его регенерацию, поскольку отключение Н-катионитовых фильтров в данном случае диктуется не проскоком катионов жесткости порядка 0,5 мг-экв/л, а допускаемым их содержанием — 1,0 мг-экв/л. При повышенных требованиях к умягчению воды схема дополняется барьерными натрий-катионитовыми фильтрами. К недостатку схемы следует отнести большой расход электроэнергии, затрачиваемой на передачу воды через последовательно включенные фильтры. Схему последовательного Н—Nа-катионирования применяют при умягчении воды с повышенными жесткостью и содержанием солей; остаточная щелочность при этом составляет примерно 0,7 мг-экв/л.
Известна схема последовательного Н-Nа-катионирования воды при «голодном» режиме регенерации Н-катионитовых фильтров.
При обычном Н-катионировании регенерация проводится с удельным расходом кислоты, в 2,5—2 раза больше теоретически необходимого, который отвечает процессу эквивалентного обмена катионов между раствором и катионитом. Избыток кислоты, не участвующий в реакциях обмена ионов, сбрасывается из фильтра вместе с продуктами регенерации. При «голодной» регенерации Н-катионитного фильтра удельный расход кислоты равен его теоретическому удельному расходу, т. е. 1 г-экв/г-экв, или в пересчете на граммы для H2S04 — 49 г/г-экв. Все ионы водорода регенерационного раствора при этом полностью задерживаются катионитом, вследствие чего сбрасываемый регенерационный раствор и отмывочные воды не содержат кислоты. В отличие от обычных Н-катионитных фильтров, в которых весь слой катионита при регенерации переводится в Н-форму, при «голодном» режиме регенерируются, т. е. переводятся в Н-форму, только верхние слои, а нижние слои остаются в солевых формах и содержат катионы Ca(II), Mg(II) и Na(I).
Рис. 20.15. Схемы параллельного (а), последовательного (б) и совместного (в) водород-натрий-катионитового умягчения воды.
1,11 ~ подача исходной и отвод умягченной воды; 2 — солерастворитель; 3 — группа натрий-катионитовых фильтров; 4 — бак для взрыхления; 5 — дегазатор; 6 - резервуар умягченной воды; 7 — вентилятор; 8 — группа водород-катионитовых натрий фильтров; 9- бак для хранения раствора кислоты; 10 — насос; 12 — водород— катионитовый фильтр; 13 — буферный натрий-катионитовый фильтр
В верхних слоях катионита, отрегенерированного «голодной» нормой кислоты, при работе фильтра имеют место все реакции ионного обмена, приведенные выше. В нижележащих, неотрегенерированных слоях катионита ионы водорода образовавшихся минеральных кислот обмениваются на ионы Ca(II), Mg(II) и Na(I) по уравнениям
т. е. происходит нейтрализация кислотности воды и при этом восстанавливается ее некарбонатная жесткость, а зона слоя, содержащего ионы Н+, смещается постепенно книзу.
Так как содержащаяся в воде угольная кислота является слабой, в реакциях ионного обмена она может участвовать лишь после удаления сильных кислот. В самых нижних слоях фильтра этот процесс завершиться до полного восстановления карбонатной жесткости не успевает. Поэтому фильтрат имеет малую карбонатную жесткость (численно она равна щелочности) и содержит много углекислоты. К моменту окончания рабочего цикла фильтра ионы водорода, введенные в катионит при регенерации, полностью удаляются из катионита в виде Н2С03, которая находится в равновесии с дегидратированной формой СО2.
Технология Н-катионирования с «голодной» регенерацией обеспечивает получение фильтрата с минимальной щелочностью (исключение сброса кислых стоков при регенерации и кислого фильтрата в рабочем цикле). Она рекомендуется для обработки природных вод определенного состава и при использовании катионита средне- или слабокислотного типа при условиии правильного осуществления режима регенерации.
При непостоянстве качества исходной воды, неточном соблюдении рекомендаций по применению рассматриваемой технологии Н-катионирования во избежание колебаний щелочности и проскоков кислого фильтрата после Н-катионитных фильтров с «голодной» регенерацией в схеме ВПУ устанавливаются буферные нерегенерирующиеся фильтры с высотой слоя катионита 2 м и скоростью фильтрования до 40 м/ч. К буферным фильтрам не допускается подвод регенерационного раствора кислоты; взрыхляющая промывка осуществляется осветленной исходной водой.
Разработанная Н. П. Субботиной технология Н-катионирования с «голодной» регенерацией предназначена для обработки природных вод гидрокарбонатного класса. В гидрохимии к водам этого класса принято относить воды, в которых из числа главных анионов (SO42-, С1~, НСО3-) наибольшую концентрацию, выраженную в мг-экв/л, имеет ион НСО3-. Воды около 80% рек России принадлежат к гидрокарбонатному классу.
В процессе Н-катионирования с «голодной» регенерацией происходит частичное умягчение воды и существенное снижение ее щелочности; в результате удаления карбонатной жесткости достигается уменьшение общего солесодержания воды; концентрация углекислоты увеличивается на величину снижения щелочности. На эффект очистки воды влияет присутствие в исходной воде ионов натрия. Когда концентрация натрия невелика, общая жесткость фильтрата по величине близка к некарбонатной жесткости исходной воды и незначительно изменяется на протяжении рабочего цикла фильтра, так же как и общая щелочность фильтрата, которая составляет 0,3—0,5 мг- экв/л. Когда в исходной воде много натрия, щелочность фильтрата от начала рабочего цикла снижается, затем возрастает и в среднем за цикл составляет 0,7—0,8 мг-экв/л; в начале и конце рабочего цикла получается глубокоумягченный фильтрат, появление некарбонатной жесткости наблюдается в средней части фильтроцикла.
Если для ионного состава исходной воды ввести обозначения для соотношения концентраций катионов (К) и анионов (А) в виде выражений
где [Na+], [Са2+], [Mg2+] — концентрации в воде соответственно ионов натрия, кальция и магния, мг-экв/л; [НС03~], [С1~], [S042-] — концентрации в воде соответственно бикарбонатов, хлоридов и сульфатов, мг-экв/л; Жо — общая жесткость исходной воды, мг-экв/л; то условия применения Н-катионирования с «голодной» регенерацией фильтров определяются данными, приведенными в табл. 20.7, а их расчет согласно данных табл. 20.8.
