Гидродинамика
В трубчатом нагревателе теплоноситель воспринимает тепло топочных газов, а в рубашке обогреваемого аппарата 4 отдает его обрабатываемому материалу.
Циркуляционные насосы должны безотказно работать при высокой температуре. Высокотемпературные насосы, выпускаемые в СССР, обеспечивают достаточно надежную работу.
Расход жидкого промежуточного теплоносителя при нагревании в установках с естественной или принудительной циркуляцией определяют из уравнения теплового баланса:
где Gпp — количество перерабатываемого в обогреваемом аппарате продукта, кг/ч; Спр—теплоемкость перерабатываемого продукта, кДж/(кг°С); tпр. и tap. K — начальная и конечная температуры перерабатываемого продукта, °С; Qп — потери тепла в окружающую среду, кДж/ч; остальные обозначения те же, что и в предыдущем равенстве.
Отсюда расход жидкого промежуточного теплоносителя составит
В зависимости от заданных температур и давлений для установок с естественной и принудительной циркуляцией подбирают соответствующие жидкие промежуточные теплоносители: воду, газойль, высокотемпературные органические теплоносители, силикон), расплавленные смеси солей, расплавленные металлы.
Нагревание дымовыми газами с применением жидких промежуточных теплоносителей возможно до температур 500 °С. При необходимости нагревания обрабатываемых материалов до более высоких температур применяя твердые зернистые промежуточные теплоносители.
Нагревание топочными газами с циркулирующим твердым зернистым промежуточным теплоносителем получает все более широкое распространение в технике. Этим способом можно нагревать различные технологические газы до температур порядка 1500°С. В качестве зернистых теплоносителей применяют жаростойкие твердые материалы (кварц, алюмосиликаты, диабаз, алунд, шамот и др.), измельченные до частиц размером 0,05—8 мм.
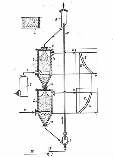
Рис. 5. Нагревательная установка с циркулирующим зернистым материалом, движущимся сплошным потоком:
1 — загрузочное устройство пневмотранспортной системы: 2 — аппарат для нагревания технологических газов; 3— топка под давлением; 4—распределительное устройство: 5— аппарат для нагревания зернистого материала; 6 -бункер-сепаратор; 7 - пневмотранспортная труба- 8-11 -патрубки; 12 -воздуходувка: /—топочные газы; //-технологические газы; ///—зернистый материал; /V—транспортирующий газ/
Зернистые материалы имеют очень большую удельную поверхность—до 500—100000 м2/м3 в зависимости от размеров частиц. Благодаря этому в сравнительно небольших аппаратах удается разместить значительные теплообменные поверхности и осуществить почти полный теплообмен между заполняющими аппараты зернистыми материалами и продуваемыми через них газами.
Для нагревания топочными газами каких-либо других газов с помощью зернистых материалов могут быть применены установки двух типов: 1) с циркулирующим зернистым материалом, движущимся в- аппаратах сплошным потоком; 2) с циркулирующим зернистым материалом, который находится в аппаратах в псевдоожиженном состоянии.
Нагревательная установка с циркулирующим зернистым материалом, движущимся сплошным потоком, изображена на рис. 5. В футерованном огнеупорным кирпичом аппарате 5 находится зернистый материал. Через распределительное устройство 4 в аппарат из топки 3, работающей под давлением, поступают топочные газы. Устройство 4, выполненное, например, в виде нескольких перевернутых желобов, обеспечивает равномерное распределение потока топочных газов по сечению аппарата. Топочные газы, взаимодействуя противоточно с зернистым материалом, охлаждаются и выводятся через патрубок 9.
Зернистый материал поступает через патрубок 8 и движется в аппарате сплошным потоком по всему сечению, нагреваясь при этом топочными газами. Нагретый зернистый материал непрерывно выгружается через патрубок 10.
Аппарат 2 работает аналогично аппарату 5. В нем осуществляется нагревание технологических газов за счет взаимодействия с поступающим в верхнюю часть нагретым зернистым материалом. Охлажденный зернистый материал непрерывно отводится из аппарата 2 через патрубок II в загрузочное устройство 1 пневмотранспортной системы, куда воздуходувкой 12 подается транспортирующий газ. Последний подхватывает частицы зернистого материала и направляет их по пневмотранспортной трубе 7 в бункер-сепаратор 6. Здесь частицы осаждаются и пересыпаются в аппарат 5 а транспортирующий газ, освобожденный от твердых частиц, удаляется из аппарата.
Циркулирующий таким образом зернистый материал воспринимает тепло топочных газов в аппарате 5 и передает его нагреваемым технологическим газам в аппарате 2. Графики на рис. 5, построенные в координатах t— Н (температура— высота слоя зернистого материала), показывают характер изменения температур газов и зернистого материала в результате противоточного взаимодействия их. В аппарате 5 можно нагреть зернистый материал до температуры, на 5—10°С меньшей, чем температура поступающих в аппарат топочных газов, а в аппарате 2 можно нагреть технологические газы до температуры, на 5—10°Ñ меньшей, чем температура поступающего в аппарат зернистого материала. Работа этих аппаратов протекает в условиях, соответствующих условиям работы аппаратов идеального вытеснения. Температура нагретых в установке технологических газов лишь на 10—20 °С ниже температуры поступающих топочных газов.
Описанная установка может работать при скоростях газов в аппаратах 5 и 2, меньших, чем скорость псевдоожижения. Стремление повысить производительность установки увеличением скорости газов приводит к необходимости работать с частицами больших размеров (2--8 мм). Однако при этом уменьшается удельная поверхность зернистого материала и, следовательно, возрастают габариты аппаратуры. Кроме того, пневмотранспорт частиц больших размеров затруднителен и осуществляется при повышенных расходах транспортирующего газа.
НАГРЕВАНИЕ ЭЛЕКТРИЧЕСКИМ ТОКОМ
.В химической технике довольно широко применяют нагревание электрическим током в электропечах. При нагревании электротоком необходимо предусматривать меры, предотвращающие перегрев материала и обеспечивающие электро- и пожаробезопасность.
По способу превращения электрической энергии в тепловую различают электрические печи сопротивления, индукционные и дуговые. Электрические лечи сопротивления делятся на печи прямого действия и печи косвенного действия. Электрические печи прямого действия. В этих печах нагреваемое тело включается непосредственно в электрическую цепь и нагревается при прохождении через него электрического : тока. Часто печь прямого действия представляет собой аппарат, корпус которого является одним из электродов; другой электрод размещают в аппарате. Между электродами помечтают жидкие или расплавленные нагреваемые материалы.
Электрические печи сопротивления косвенного действия получили большое распространение. В них тепло выделяется при прохождении электрического тока по специальным нагревательным элементам; выделяющееся тепло передается материалу лучеиспусканием, теплопроводностью и конвекцией. В таких печах осуществляется нагревание до температур 1000—1100°С. Схема такой печи показана на рис. 6. Футеровка печи 2 1:выполнена из огнеупорного кирпича. В пазах футеровки уложены спиральные нагревательные элементы 4, к которым подводится ток через электрошины 5, Тепло, выделяющееся при прохождении электрического тока через спиральные нагревательные элементы, передается обогреваемому аппарату 1 лучеиспусканием и конвекцией. Тепловая изоляция 3 уменьшает потери тепла в окружающую среду.
