Гидродинамика
Нагревательные элементы печей изготовляют из проволоки либо из ленты нихрома (сплав, содержащий 20% Сг, 30—80% Ni и 0,5—50% Fe) или хроможелезоалюминиевых сплавов. Диаметр проволоки обычно 3—7 мм; в применяемых лентах отношение толщины к ширине 0,05—0,2.
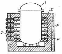
Рис. 6. Элекрическая печь сопротивления косвенного действия: 1 —обогреваемый аппарат; 2— футеровка печи- 3 тепловая изоляция; 4— спиральные нагревательные элементы; 5— выводные электрошины.
Количество тепла, которое необходимо подвести в процессе нагревания электрическим током, определяют из уравнениях теплового баланса:
где Qэ—количество тепла, выделяющегося в нагревательном электрическом устройстве при прохождении электрического тока, кДж/ч; G количество перерабатываемого в обогреваемом аппарате продукта, кг/ч; с—теплоемкость перерабатываемого продукта, кДж/(кг-°С); tн и tк—соответственно-начальная и конечная температура перерабатываемого продукта, °С; Qп— потери тепла в окружающую среду, кДж/ч.
Отсюда
а мощность (в кВт) нагревательного электрического устройства
Электрические индукционные печи (рис. 7). Нагревание в этих печах осуществляется индукционными токами. Обогреваемый аппарат 1 является сердечником соленоида охватывающего аппарат. По соленоиду пропускают переменный ток, при этом вокруг соленоида возникает переменное магнитное поле, которое индуцирует в стенках обогреваемого аппарата электродвижущую силу. Под действием возникающего вторичного тока нагреваются стенки аппарата. Соленоид выполняется из медной или алюминиевой проволоки, имеющей малое осмическое сопротивление.
Диэлектрическое нагревание токами высокой частоты применяется при нагревании диэлектриков (пластмасс, резины, дерева и др.). Нагреваемое тело помещают между обкладками конденсатора. Под действием переменного электрического тока-молекулы диэлектрика колеблются со скоростью, соответствующей частоте электрического поля, при этом в результате внутреннего трения между молекулами выделяется тепло. Количество выделяющегося тепла пропорционально квадрату напряжения и частоте тока. Нагревание ведут обычно токами высокой частоты (0,5´106—100´106 Гц) при напряженности электрического поля 1000- -2000 В/см. Для получения токов высокой частоты пользуются ламповыми генераторами. Диэлектрическое нагревание отличается большими преимуществами: непосредственное выделение тепла во всей толщине нагреваемого материала (обеспечивающее равномерный прогрев обрабатываемого материала), большая скорость нагревания, возможность нагревания только отдельных частей материала, легкость регулирования процесса нагревания и возможность полной автоматизации его.
Дуговые печи. В дуговых печах применяется нагревание электрической дугой до температур 1500—1300 °С. Электрическая дуга возникает в. газообразной среде. В дуговых печах при возникающих больших температурных перепадах невозможны равномерный обогрев и точное регулирование температуры. Дуговые печи применяют для плавки металлов, получения карбида кальция и фосфора.
Рис. 7. Принципиальнаясхема электрической индукционной печи: 1 -обогреваемый аппарат; 2 соленоид
