Износостойкость трибореактопластов на основе отвержденных эпоксидных смол
Для акустических колебаний модель изолированной полимерной цепи становится неудовлетворительной, поскольку в этой области частот межмолекулярные взаимодействия оказывают определяющее влияние на спектр.
Из всех спектральных методов ИК спектроскопия имеет наибольшее применение в химии и физике полимеров. Ведущая роль в становлении современной теории колебательной спектроскопии принадлежит отечественным ученым М.А. Ельяшевичу, Б.И. Степанову и М.В. Волькенштейну. В начале 50-х гг., когда метод ИК спектроскопии еще только начинал внедряться в практику химических лабораторий, широко использовалась ближняя ИК область спектра (0,75 - 2,5 мкм, 1300-4000 см-1), как наиболее доступная. Поглощение в ней связано в основном с обертонами валентных колебаний C-H, N-H, O-H группировок, обертонами более высокого порядка С-С, С=С, С-О, С=О групп и комбинационными составными частотами. В настоящее время большинство лабораторий оснащено современными ИК спектрометрами, рассчитанными на средний диапазон длин волн (2,5 - 50 мкм, 4000 - 200 см-1), в котором поглощение обусловлено основными колебаниями молекул. С развитием исследований в среднем диапазоне длин волн ближняя ИК область спектра стала реже использоваться. Между тем применение ближней ИК области для решения практических задач имеет ряд преимуществ. Если для получения спектра поглощения валентных колебаний СН - групп полистирола (2923 и 3029 см-1) требуется пленка толщиной не более 20 мкм, то чтобы получить спектр на первом обертоне этих колебаний (5846 и 6058 см-1), нужна пластина полистирола толщиной 2 мм. Другое преимущество ближней ИК области - использование в качестве окон кювет из негигроскопических материалов (стекло, кварц). Это позволяет проводить анализ растворителей, мономеров и других жидких объектов на присутствие значительного количества влаги, что невозможно сделать, используя средний диапазон ИК излучения. Ближняя ИК спектроскопия используется для количественного анализа функциональных групп полимеров (СН -, СН3 -, NH -, ОН -, C=O групп и т.д.), исследования водородных связей, изучения взаимодействия растворителя с полимером.
Дальняя ИК область ограничена частотами 10 - 200 см-1. Измерения в этой области позволяют найти: 1 - момент инерции и геометрию простых молекул по вращательному спектру; 2 - потенциалы барьеров свободного вращения атомных групп по частотам торсионных колебаний; 3 - силовые постоянные и вид потенциальной функции различных межмолекулярных связей в полимерах, в том числе в полимерах, имеющих водородные связи по низкочастотным колебаниям самих межмолекулярных связей; 4 - характер колебаний в молекулярных кристаллах - резонансных колебаний решетки, трансляционных и вибрационных колебаний отдельных атомов в кристалле; 5 - деформационные колебания, чувствительные к пространственному строению молекул. Поглощение в дальней ИК области весьма чувствительно к общим изменениям молекулярной структуры (тактичности, конформации, молекулярной подвижности).
При изучении спектров в дальней ИК области возникают большие экспериментальные трудности. Они вызваны прежде всего необходимостью использовать источники излучения типа абсолютно черного тела, которые обладают слабой интенсивностью в рассматриваемом интервале. Кроме того, проведение экспериментов затрудняется дисперсией. Благодаря последним достижениям в изготовлении интерферометров, а не обычных дисперсионных спектрометров становятся доступными исследования в дальней ИК области.
3.2. Аппаратура и приготовление образцов.
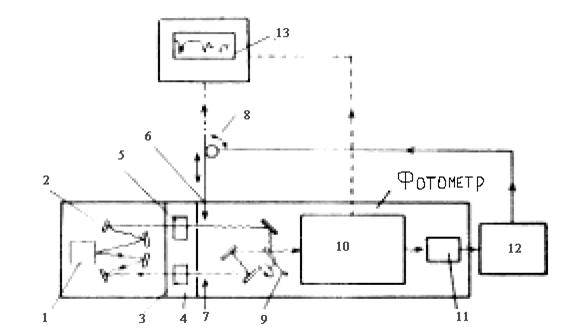
Двухлучевой инфракрасный спектрометр (рис. 10) имеет следующие части:
1. Источник излучения, который образуется при нагревании электрическим током до 1000 – 1800 °С штифта – оксидов циркония,, тория и церия (7100 – 1000 см-1) или карбида кремния (5500 –600 см-1). Инфракрасное излучение затем делится на два пучка и с помощью системы зеркал направляется на образцы.
2. Зона образца, в которой можно разместить кюветы самых различных конструкций. Сравнительный и рабочий пучки проходят через кювету сравнения и кювету с образцом.
Рис. 10 Схема устройства автоматического двухлучевого инфракрасного спектрофотометра [12].
1 – источник излучения; 2 – зеркала; 3 – кювета с образцом; 4 – зона образца; 5 – кювета сравнения; 6 – аттенюаторная гребёнка; 7 – гребёнка; 8 – сервомотор; 9 – прерыватель; 10 – монохроматор; 11 – детектор (термолинза); 12 – усилитель; 13 – самописец.
3. Фотометр - оптическая система нуля. Для измерения поглощения образца нужно сопоставить интенсивности сравнительного пучка и луча, прошедшего через образец (рабочего пучка). Пучок сравнения и рабочий пучок проходят через аттенюатор и гребенку, соответственно, и отражаются системой зеркал на вращающиеся секторное зеркало, которое попеременно отражает или пропускает пучки на монохроматическую щель. После прерывателя пучки попадают на детектор (термопара) и устанавливаются. При одинаковой интенсивности обоих пучков выходной сигнал на усилителе отсутствует. При наличии разности интенсивностей образуется выходной сигнал, имеющий частоту прерывателя. Этот сигнал усиливается и приводит в действие аттенюатор, который вводится в сравнительный пучок или выводится из него как отклик на сигнал, подаваемый детектором под влиянием рабочего пучка. Положение аттенюатора характеризует относительное поглощение образца, передача этого положения на цифровое устройство дает количественное выражение поглощения.
4. Система записи результатов. Отношение интенсивностей сравнительного и рабочего пучков (I0/I) поступает на перьевой самописец, который в линейной шкале рисует зависимость пропускания (Т) от волнового числа (n).
Инфракрасные спектрометры выпускаются для областей от 4000 до 600 см-1 (и даже вплоть до 200 см-1).
В настоящее время стала обычной автоматизация записи инфракрасных спектров путем цифрового преобразования сигнала спектрометра. На бумажной ленте приводятся положение, интенсивность и полуширина полос поглощения. С помощью электронного программирующего устройства регулируются циклы ввода образца, сканирование по длинам волн и цифровая запись. Наряду с цифровыми данными, автоматически печатающимися на машинке, приборы также выдают обычные спектры. Число спектров, имеющихся в различных атласах, каталогах или других публикациях, превышает 100000. В настоящее время стало возможным использование цифровых данных и программ, имеющихся в каталогах спектров.
Для записи спектров отвержденных эпоксидных смол используется следующие приемы:
1. Прессование таблеток (дисков) с KBr. Мелко измельченный полимер тщательно размешивают с бромистым калием. На 2 мг полимера берут 100 -200 мг, прессуют прозрачную таблетку. KBr необходимо обезводить сушкой при 105 °С. Если можно, то перед измельчением образец полимера и KBr следует нагреть до 40 °С под инфракрасной лампой, для того чтобы избежать конденсации атмосферной влаги. Последняя дает широкую полосу поглощения в интервале 3500 - 3400 см-1. Измельчение обычно проводят в агатовой ступке в течение 10 -15 мин или вибрационной мельнице (1- 2 мин). Важно, чтобы дисперсия была мелкой и однородной, так как плохо измельченные смеси в таблетке больше рассеивают свет, чем его пропускают. Размер частиц должен быть меньше 2 мкм. Для получения качественной таблетки прессование проводят при высоких давлениях (15 мин при давлении 2 тонны и еще 15 мин при давлении 8 - 10 тонн) в вакуумируемых пресс-формах (рис. 11).
