Износостойкость трибореактопластов на основе отвержденных эпоксидных смол
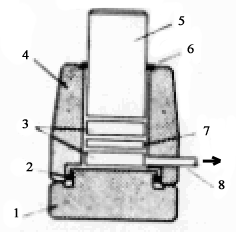
Рис. 11 Вакуум-форма для приготовления таблеток (дисков) с KBr [12].
1 –основание формы; 2 – герметизирующая прокладка; 3 – таблетки; 4 – цилиндр пресс-формы; 5 – пуансон; 6 – герметизирующая прокладка к пуансону; 7 – образец; 8 – трубка для подсоединения к вакууму.
Эти формы конструируют таким образом, чтобы можно было проводить удаление воздуха из таблетки, находящейся под давлением, с помощью подсоединенного вакуум - насоса. Полученные таким способом таблетки обычно имеют толщину 0,3 мм и диаметр 13 мм. Края таблеток следует тщательно обрабатывать. Хорошо сделанная таблетка прозрачна. Для изготовления качественных таблеток необходимы определенные навыки. Следующие советы могут оказаться полезными:
А) следует использовать порошкообразный мелкозернистый KBr, при наличии крупных зерен в таблетке могут быть белые пятна;
Б) из-за влаги поверхность таблетки может быть грубой, шероховатой;
В) недостаточная прозрачность таблетки является часто следствием неудовлетворительного размалывания полимера в смеси с порошкообразным KBr, а также слишком низкого давления или плохого удаления воздуха;
Г) при слишком продолжительном размалывании таблетка может стать мелоподобной;
Д) такие эластомеры, как, например, каучук, нужно измельчать в вибрационной мельнице при низкой температуре (-40°C).
2. Приготовление таблеток с KBr из микрообразцов.При проведении анализов методом тонкослойной хроматографии получают микрообразцы, которые затем должны быть подвергнуты ИК - спектроскопии.
После выделения образца, содержащего анализируемое соединение, из поля хроматограммы удаляют сорбент, вещество извлекают соответствующим растворителем, фильтруют для удаления сорбента и, наконец, смешивают с KBr.
Помещая пористый треугольник прессованию КВr, фирменное название которого «уик - стик» (Wick – Stick), в маленький стеклянный пузырек, закрытый таким образом, что испарение происходит только в середине пузырька, можно осуществить фильтрацию сорбента и нанесение образца на КВr в один прием. Сорбент, содержащий требуемый образец, соскребают с пластинки для тонкослойной хроматографии и переносят в стеклянный пузырек, содержащий уик - стик, с помощью воронки с тонким носиком, для того чтобы сорбент не садился на верхнюю половину прессованного треугольника. Добавляют соответствующий элюент и закрывают пузырек крышкой с отверстием.
Использование уик - стика показано на рис. 12. Прессованный треугольник из КВr имеет высоту 2,5 см, ширину у основания 0,8 см и толщину 0,2 см. Растворитель поднимается по этому треугольнику под влиянием капиллярных сил, испарение происходит преимущественно на вершине треугольника, где и осаждается исследуемый образец. Для ускорения испарения растворителя температуру можно поддерживать на 10- 20 °C ниже температуры кипения растворителя и продувать пузырек потоком воздуха, направляемым через крышку.
Рис. 12 Прибор для лиофильной сушки. 1 – сухой лед (СО2); 2 – вакуум. [12].
3. Лиофильный способ.По этому методу измельченный полимер (около 200 мг) помещают в маленькую емкость, содержащую ~2 г КВr в 5 мл воды. Эту емкость соединяют со специальным вымораживающим устройством. К такому устройству можно одновременно подсоединить несколько колбочек с различными образцами. Затем растворы в колбочках охлаждают до температуры замерзания и дают вакуум. Сублимирующийся лед собирается в холодильнике, заполненном сухим льдом. Спустя 6 ч дегидратация полностью завершается, при этом полимер полностью покрывается КВr. Затем образец измельчают в агатовой ступке и готовят таблетку обычным способом.
4. Суспензионный способ. Полимер в виде мелких частиц диспергирует в капле суспензионной жидкости, например жидком парафине (нуйол), гексахлорбутадиене или хлорфторуглеводородах (Кель - К). Затем суспензию помещают между двумя пластинками из NaCl, причем толщина слоя при этом составляет 0,1- 0,01 мкм.
Такие суспензионные жидкости прозрачны в широком диапазоне частот.
Некоторые образцы являются слишком толстыми для того, чтобы с них можно было снимать ИК - спектры, причем их толщину нужно уменьшить, не меняя физического состояния путем плавления или растворения. Существуют два способа уменьшения толщины пленки.
5. Вырезание микротомом. Образец вставляют в маленький металлический блок и затем отрезают стеклянным ножом, в качестве которого выступает край только что разбитого куска стеклянной пластинки. Нельзя определить угол направления резки такого ножа, этот угол очень сильно зависит от природы полимерного образца. Режущую поверхность смазывают разбавленным водным детергентом или такими органическими растворителями, как спирты, ацетон или лигроин. К блоку образцы прикрепляют с помощью эпоксидной смолы, однако есть опасность, что такие смолы могут реагировать с исследуемым образцом. После вырезания образцы закрепляют в соответствующих рамках или на солевых пластинках.
6. Шлифование пастой на основе тонкодисперсного оксида алюминия.
3.3. Применение ИК спектроскопии.
Одним из наиболее результативных применений метода ИК спектроскопии является исследование химического состава и молекулярного строения полимеров и сополимеров. Эти Исследования, в свою очередь, базируются на качественном и количественном спектральном анализе.
Качественный спектральный анализ. Идентификация неизвестных полимеров занимает важное место в аналитической химии. Наибольший интерес с точки зрения качественного анализа представляют колебательные спектры. Они весьма характерны, и их нередко называют спектрами отпечатков пальцев, имея в виду неповторимость инфракрасного спектра соединений. ИК спектроскопия оказывается здесь наиболее подходящим методом, так как с ее помощью можно очень быстро определить химическое строение и наиболее важные структурные особенности полимерного вещества и сопутствующих соединений. Различные полимерные молекулы, содержащие одну и ту же атомную группировку, дают в ИК спектре полосы поглощения в области одной и той же характеристической частоты. Это и является основой качественного анализа по ИК спектрам. Характеристические полосы поглощения дают возможность установить по спектру наличие определенных групп атомов в молекуле и тем самым установить качественный состав вещества и строения молекулы. Например, полосы в области 3000 - 3600 см-1 могут быть отнесены к валентным колебаниям ОН – или NH - групп, и отсутствие полос в этой области однозначно свидетельствует об отсутствии ОН - и NH - групп в анализируемом полимере. Примеры такого рода исследований весьма многообразны.
Следует также всегда помнить, что наиболее интенсивными полосами поглощения в ИК спектре являются полосы, отвечающие валентным колебаниям.
К настоящему времени изучены и сведены в соответствующие атласы и таблицы ИК спектры более 20000 органических соединений, в том числе более 2000 полимеров, что существенно облегчает практическое проведение анализа. Для первых ориентировочных данных часто пользуются так называемой картой Колтупа, на которой указаны спектральные области появления многих характеристических частот и их возможное отнесение. При этом могут возникать осложнения, связанные с тем, что характеристические полосы часто перекрываются. В связи с этим нужно привлекать дополнительные данные, в частности относительные интенсивности различных полос, другие спектроскопические данные или какие - либо имеющиеся в распоряжении физические и химические характеристики. После отнесения наиболее сильных полос следует сделать отнесение полос средней и даже слабой интенсивности. При этом также может возникнуть ряд проблем, обусловленных наличием обертонов и комбинационных частот. Несомненную пользу оказывает определение спектров модельных соединений. Наконец в соответствии с правилами отбора следует предположить ряд возможных моделей и сравнить их с экспериментальными результатами. Полный колебательный анализ представляет значительные трудности.
