Надежность буксового узла вагона тележки модели 18-100
Рисунок 1.2 – Лабиринтное кольцо
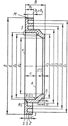
Рисунок 1.3 – Крепительная крышка буксы
Рисунок 1.4 – Торцовая гайка (Размеры в скобках для букс диаметром 250 миллиметров)
Рисунок 1.5 – Болты:
а) – стопорной планки, кольца и смотровой крышки;
б) – крепительной крышки и шайбы
Рисунок 1.6 – Смотровая крышка
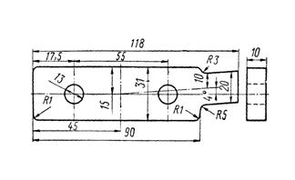
Рисунок 1.7 – Стопорная планка
Рисунок 1.8 – Резиновая прокладка
Отказ буксового узла – это событие, заключающееся в нарушении работоспособности буксового узла (смотри таблицу 1.3).
Таблица 1.2 – Виды технического обслуживания и ремонта вагонов (ТО и Р)
| Наименование | Место проведения технического обслуживания и ремонта | Обнаруживаемые неисправности |
| Техническое обслуживание |
ПТО, депо, ВРЗ |
Пробоины, трещины, отворачивание болтов крепления смотровой и крепительной крышек, не герметичность резиновой прокладки, по выбросу смазки на колесо определяют излом подшипников, по нагреву буксового узла определяется наличие внутренних дефектов или нарушение в смазочной работе узла. |
|
Текущий ремонт |
На предприятиях, производящих полную ревизию букс с роликовыми подшипниками. |
Пробоины, трещины, отворачивание болтов крепления смотровой и крепительной крышек, не герметичность резиновой прокладки, по выбросу смазки на колесо определяют излом подшипников, по нагреву буксового узла определяется наличие внутренних дефектов или нарушение в смазочной работе узла. |
| Деповской ремонт |
Грузовое вагонное депо (ВЧД) |
Пробоины, трещины, отворачивание болтов крепления, ослабление пружинных шайб, смотровой и крепительной крышек, не герметичность резиновой прокладки, по выбросу смазки на колесо определяют излом подшипников, наличие внутренних дефектов определяется при вскрытии смотровой крышки. Раковины на дорожках качения колец Разрывы и трещины колец Отколы бортов колец. Трещины роликов. Отколы торцов роликов. Износы торцов роликов с образованием заусенцев. Коррозия на рабочих поверхностях. Шелушение на беговых дорожках колец. Малый радиальный зазор. Электроожоги, электроэрозия. Износ сепаратора по центрирующей поверхности. Трещины сепаратора. Выпадение роликов. Разрушение сепаратора. |
| Капитальный ремонт | Вагоносборочные предприятия |
Несоответствие нормативно-технологической документации проверяется каждая деталь узла. Пробоины, трещины, отворачивание болтов крепления, ослабление пружинных шайб, смотровой и крепительной крышек, не герметичность резиновой прокладки, определяют излом подшипников, наличие внутренних дефектов. Раковины на дорожках качения колец Разрывы и трещины колец Отколы бортов колец. Трещины роликов. Отколы торцов роликов. Износы торцов роликов с образованием заусенцев. Коррозия на рабочих поверхностях. Шелушение на беговых дорожках колец. Малый радиальный зазор. Электроожоги, электроэрозия. Износ сепаратора по центрирующей поверхности. Трещины сепаратора. Выпадение роликов. Разрушение сепаратора. |
Сложностью является то, что детали узла находятся внутри корпуса буксового узла и без разборки недоступны для диагностирования.
Предельное состояние буксового узла – состояние объекта, при котором его дальнейшая эксплуатация недопустима или нецелесообразна, либо восстановление его работоспособного состояния невозможно или нецелесообразно.
Возможные предельные состояния буксового узла возможны при образовании пробоины или трещины в корпусе буксы или при коррозионном износе свыше указанных (в таблице 1.1) размеров или деформация корпуса буксы с отклонением от этих размеров.
Таблица 1.3 – Отказы буксового узла
| Вид отказов буксового узла | Неисправности буксового узла |
|
Зависимые отказы – обусловленные другими отказами |
Попадание пыли и других инородных частиц в смазку, вытекание смазки из корпуса буксы, нагрев буксового узла, трещины, отворачивание болтов крепления, ослабление пружинных шайб, смотровой и крепительной крышек, негерметичность резиновой прокладки. Раковины на дорожках качения колец Разрывы и трещины колец Отколы бортов колец. Трещины роликов. Отколы торцов роликов. Износы торцов роликов с образованием заусенцев. Коррозия на рабочих поверхностях. Шелушение на беговых дорожках колец. Малый радиальный зазор. Электроожоги, электроэрозия. Износ сепаратора по центрирующей поверхности. Трещины сепаратора. Выпадение роликов. Разрушение сепаратора, |
|
Не зависимые отказы – не обусловленные другими отказами |
Пробоины и деформации корпуса, крышки и других деталей буксового узла. Коррозийный, механический и другие виды износов (более указанных в нормативно-технологической документации) Электроожоги, электроэрозия. |
|
Явные отказы – обнаруживаются визуальными или штатными методами |
Нагрев буксы. Видимые трещины. Пробоины и деформации корпуса, крышки и других деталей буксового узла. Отворачивание болтов крепления крышек. |
|
Скрытые отказы – не обнаруживаются визуальными или штатными методами |
Дефекты находящиеся внутри корпуса буксового узла и не приводящие к нагреву и вытеканию смазки. Внутренние поры, шлаковые включения в различных частях буксового узла, коррозия внутренних деталей узла. Невидимые трещины. |
|
Конструкционные отказы – образуются в результате нарушения при проектировании |
Неточность в расчетах на прочность и износостойкость. Неверный выбор материалов для буксового узла, неверный подбор размеров и посадок деталей, а как следствие, неравномерное распределение нагрузок, излишние напряжения, приводящие к отказам. |
|
Производственные отказы – образуются в результате нарушения технологии сборки |
Неправильная, приводящая к нагреву и прочим отказам, сборка: неправильный подбор натягов, неверный подбор роликов подшипников и других деталей по размерам. Неправильное усилие затягивания болтов и торцовой гайки. |
|
Эксплуатационные отказы – образуются в результате нарушения условий эксплуатации |
Превышение статических и динамических нагрузок, свыше допустимых норм. |
