Водоснабжение и водоотведение города Восточный донецкой области
Планово – предупредительный ремонт сооружений и оборудования сети и водоводов осуществляют по заранее составленному плану в целях обеспечения нормальной работы сетей и водоводов, санитарного режима их эксплуатации, предупреждения преждевременного износа и предотвращения аварий. Этот план должен включать в себя работы по осмотру трасс, сетей и водоводов, их текущему и капитальному ремонту.
Санитарный ремонт эксплуатации водопроводных сетей регламентируется действующими нормативными документами: государственными стандартами, инструкциями и памятками.
При определении лабораториями качества воды в распределительной сети, проводят анализы: на остаточный хлор, прозрачность, цветность, запах и привкус воды, содержание кишечных палочек и общего числа бактерий.
Количество отобранных проб в месяц должно составлять 200.
Для соблюдения санитарного режима эксплуатации водопроводных сетей необходимо дезинфицировать сети и запорно-регулирующие резервуары. Обязательно дезинфицировать сети и промывать при вводе их в эксплуатацию и после проведения ремонтных работ, связанных с демонтажём трубопровода, арматуры или фасонных частей.
Соблюдать необходимую дозу активного хлора при дезинфекции: при продолжительности контолиро 24, 4 – 40 …50, 64 – 75…100 мг/л. резервуары большой вместимости рекомендуется дезинфицировать методом орошения. Раствор хлорной извести с концентрацией 200 – 250 мг/л активного хлора приготовляют из расчета 0,3 – 0,5л на 1 м² внутренней поверхности резервуара.
Осмотр трасс водопроводных линий дает возможность выявить причины, угрожающие нарушению прочности сооружений сети и осложняющие пользование колодцами, а так же обнаружить внешние признаки нарушения нормального состояния некоторых сооружений.
Текущий ремонт сетей и водоводов заключается, в систематически проводимых работах по предохранению сооружений и оборудования от преждевременного износа и аварий путем устранения мелких повреждений и неровностей. Осмотр и мелкий ремонт колодцев и находящегося в них оборудования, водопроводных колонок, водомерных узлов, дюкеров и переходов под железными и шоссейными дорогами и установок электрозащиты; подготовка арматуры и оборудования к зиме и проверка их работы в зимних условиях, выключение и пуск летних водопроводов; снятие показаний с водомеров и колодцев; профилактическая промывка сетей; чистка колодцев, ремонт подмостей и лестниц и др. работы.
Обработку всех колодцев сети и водоводов необходимо производить не реже чем через 2 –3 года.
5.2 Эксплуатация водопроводной сети.
В городе, с учетом спецификации городского хозяйства, разрабатываются дополнительные нормативные материалы. Напорные водопроводные трубопроводы, испытанные на прочность и плотность гидравлическим или пневматическим способом. Трубопроводы, прокладываемые в траншеях и каналах, должны испытываться 2 раза:
- предварительно испытывают (на прочность) до установки арматуры (задвижки, пожарные гидранты, предохранительные клапаны, вантузы и др.) при незазыпанных траншеях;
- окончательно испытывают трубопровод (на плотность) после засыпки траншей и завершения всех работ на испытываемом участке, но до установки пожарных гидрантов, предохранительных клапанов и вантузов.
Место установки указанной арматуры на время испытания закрывают заглушками, укрепленными временными упорами.
Анкерные угловые упоры выполняемые из бетона, должны приобрести проектную прочность. При испытании трубопроводов со сварными стыками временные упоры для закрепления заглушек не устанавливают.
Правильность установки габаритов упоров в углах поворота уложенных трубопроводов определяют проверочным расчетом.
Оборудование необходимое для проведения гидравлического испытания показано на рис. 5.2. При чём пружинные манометры, применяемые для испытания, должны быть опломбированы, соответствовать инструкции Госстандарта Украины, иметь класс точности не ниже 1,5; диаметр корпуса должен составлять не менее 150-ти мм и шкалу, рассчитанную на давление, превышающее измеряемое, не менее, чем на 33%.
Участки трубопроводов, подлежащие испытанию, назначают по длине в зависимости от материала труб: чугунные – для длины участка не более 1 км; перед началом гидравлического испытания из трубопровода удаляют воздух через специальные воздухоспускные краны, установленные в местах возможного его скопления. Траншеи при этом находятся в не засыпанном состоянии.
а) план б) разрез
Рис. 5.1 - Устройство упоров.
1 – плит упор; 2 – домкратные упоры; 3 – пружинный манометр; 4 – раструб заглушка; 5 – труба для заполнения водой гидропресса; 6 – гидравлический пресс; 7 – от городского водопровода; 8 – испытываемый трубопровод.
Рис. 5.2 - Схема гидравлического испытания.
5.3 Разработка технических карт ремонта одного из узлов сети.
До начала работы необходимо:
- отрыть траншею с недобором грунта до отметки на 8 – 10 см;
- обеспечить водослив из траншеи.
Ремонт выполняют:
- замена участков труб, пришедших в негодность на трубы в отдельных случаях даже из другого материала;
- обследование сетей на утечку на участке, подлежащем капитальному ремонту, с применением специальных приборов;
- гидропневматическая промывка сетей, прилагаемых мест прокладки заросших участков;
- перечеканка и заделка стыков;
- противокоррозионная защита наружных трубопроводов.
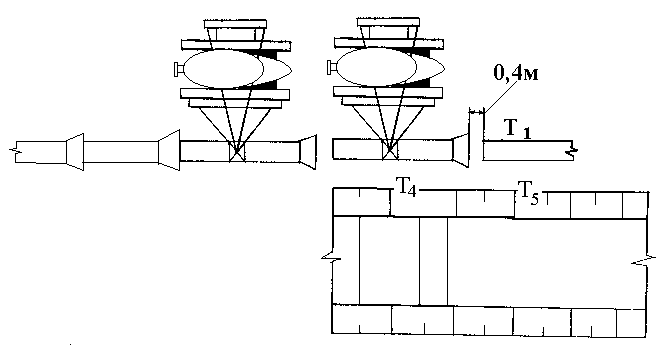
Т1, Т4, Т5 – рабочее место трубоукладчиков.
Рис. 5.3 - Схема организации рабочего места.
5.4 Эксплуатация очистных сооружений.
Начало пуска наладочных работ приурочивается к окончанию строительно-монтажных работ и сдачи их по акту рабочей комиссии. При этом все ёмкости сооружения и коммуникации должны быть испытаны в соответствии с действующими нормативными документами, правилами производства монтажных работ и приемке в эксплуатацию, а также заводскими инструкциями по монтажу.
В период подготовки сооружений к пуско-наладочным работам следует осмотреть сооружения и установить их характерные размеры и отметки; сопоставить выполненные на основе фактических обмеров поверные расчеты сооружений и их гидравлические испытания; выявить и ликвидировать строительно-монтажные и проектные дефекты и недоделки.
Основными параметрами, подлежащими предпусковым замерам являются габариты очистных сооружений, размеры, отметки и уклоны важнейших коммуникаций станции, отметки всех характерных точек высотной технологической схемы и всех её элементов в отдельности, горизонтальность расположения устройств, для распределения и сбора воды, удаление осадка и т.д.
Коагулянт дозируют в трубопровод перед смесителем. Дозируются реагенты в виде 4 – 10% растворов. Растворы коагулянтов приготавливают в расходных баках с концентрацией 10 – 20% масс, который затем также разбавляют в количестве, превышающем первоначальных объем в 2 – 5 раз. Количество растворных баков должно быть не менее двух. Полный цикл приготовления раствора продолжается около 10 – 12 часов. Для растворения коагулянта и перемешивания раствора в баке подают сжатый воздух, интенсивностью 8 – 10 л/с.м2. Воздух по площади баков распределяется с помощью дырчатых труб из кислотостойких материалов.
