Управление проектомРефераты >> Менеджмент >> Управление проектом
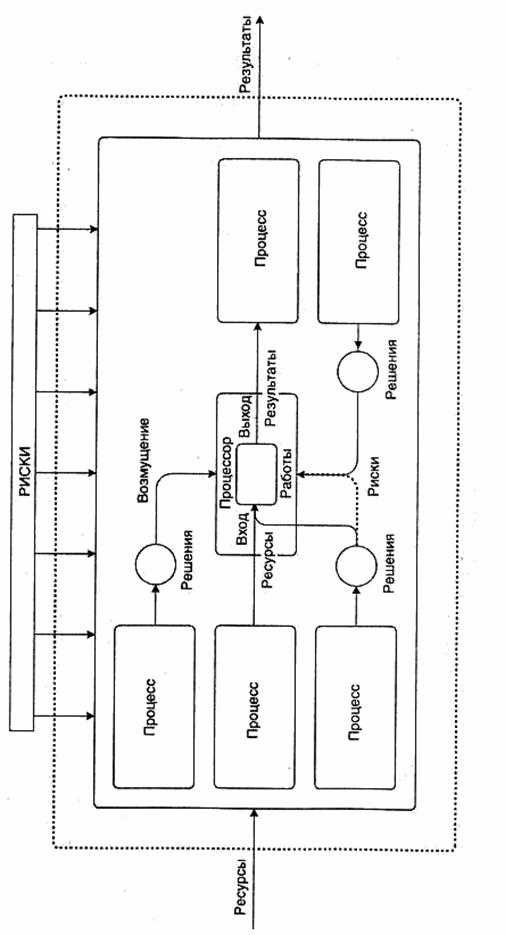
Рис. 2.1. Системное представление проекта
В рамках управления проектом можно выделить четыре вида процессов:
1) проектирования (планирования);
2)реализации;
3)контроля;
4) завершения,
Процессы проектирования (планирования) состоят в создании оптимальной модели деятельности по управлению проектом в целом, а также отдельных подсистем (процессов, работ). Процессы реализации состоят в воплощении ранее созданной модели в рамках конкретной предметной области. Процессы контроля отображают полученные результаты на ранее созданной модели, обеспечивают выявление фактических и прогнозных отклонений, выработку корректирующих и предупреждающих мероприятий. Процессы завершения заключаются в создании модели, отображающей фактически достигнутые результаты, сопоставлении этих результатов с поставленными целями, анализе эффективности и результативности работ.
Все процессы соединяются точками принятия решения, которые группируются следующим образом:
- инициация – принятие решения о начале проекта, фазы, процесса (реализация выбора «делать – не делать»);
- множественная альтернатива – принятие решения о способе реализации проекта, фазы, процесса из нескольких альтернатив (реализация выбора «как делать»);
- корректировка/предупреждение – принятие решения о внесении изменений в цели, модели, планы проекта, фазы, процессы (реализация выбора «изменять – не изменять принятые решения»);
- завершение – принятие решения о завершении проекта, фазы, процесса (реализация выбора «завершать – не завершать»).
Таким образом, целостное представление о проекте можно получить при одновременном рассмотрении:
- четырех базовых элементов управления проектом;
- восьми подсистем управления проектом;
- четырех видов процессов;
- четырех видов процедур принятия решения.
3. Организационный инструментарий. Сетевые матрицы
Проблема повышения научной обоснованности формирования систем менеджмента выдвигает необходимость использовать в процессе их проектирования новые прогрессивные методы и эффективный организационный инструмент: сетевые матрицы, матрицы разделения административных задач управления, регламенты, экономико-математические модели, нормативные материалы о структурах управления, должностных обязанностях и др.
Применение сетевых матриц в процессе управления дает возможность представить этот процесс в наглядной форме, а также выявить особенности ситуации, структуру необходимых работ и приемлемые средства и методы их выполнения, проанализировать взаимосвязи между исполнителями и работой, подготовить научно обоснованный скоординированный план выполнения всего комплекса работ по решению поставленной задачи. Такой план, основанный на анализе сетевой матрицы и определении критических работ, дает возможность перераспределять ресурсы для более эффективного их использования. Появляется также возможность при помощи средств вычислительной техники быстро обрабатывать большие массивы отчетных данных и обеспечивать руководство фирмы своевременной и исчерпывающей информацией о фактическом состоянии работ, облегчающей корректировку принятых решений, прогнозировать ход выполнения работ на критическом пути и концентрировать на них внимание менеджеров различных уровней. Используя математический аппарат, можно определять степень вероятности реализации плана и правильно распределять ответственность по иерархическим ступеням управления.
Сетевая матрица решений представляет собой графическое изображение процесса менеджмента, где все операции, выполнение которых необходимо для достижения конечной цели, показаны в определенной технологической последовательности и взаимозависимости. Сетевая матрица совмещается с календарно-масштабной сеткой времени, которая имеет горизонтальные и вертикальные коридоры. Горизонтальные коридоры характеризуют ступень управления, структурное подразделение или должностное лицо, выполняющее ту или иную операцию процесса подготовки, принятия и реализации решения; вертикальные – этапы и отдельные операции процесса принятия решения, протекающие во времени.
При построении сетевой матрицы используются три основных понятия: работа (включая ожидание и зависимость), событие и путь.
Работа – это трудовой процесс, требующий затрат времени и ресурсов (например, оценка обстановки, анализ информации). На схемах работа изображается в виде сплошной линии со стрелкой. В работу включается процесс ожидания, т.е. процесс, не требующий затрат труда и ресурсов, но требующий затрат времени. Процесс ожидания изображается пунктирной линией со стрелкой с обозначением над ней продолжительности ожидания. Зависимость между двумя или несколькими событиями свидетельствует об отсутствии необходимости затрат времени и ресурсов, но указывает на наличие связи между работами (начало одной или нескольких работ зависит от выполнения других), изображается пунктирной линией со стрелкой без обозначения времени.
Событие – это результат выполнения всех работ, входящих в данное событие, позволяющий начинать все выходящие из него работы. На сетевой матрице событие изображается, как правило, в виде кружка.
Путь – это непрерывная последовательность работ, начиная от исходного события и кончая завершающим. Путь, имеющий наибольшую продолжительность, называется критическим и в матрице обозначается утолщенной или сдвоенной линией со стрелкой.
Существуют общие правила построения сетевых моделей, знание которых позволяет избежать ошибок.
Правило обозначения работ. В практике часто встречаются случаи, когда две и более работы выходят из одного и того же события, выполняются параллельно и заканчиваются одним и тем же событием. Например, одновременно в двух отделах ведутся расчетные операции (работы «а» и «б»), результаты которых используются в третьем отделе (работа «в»).
На рис. 3.1 приведен пример неправильного построения модели. При таком изображении получаются две работы с одним и тем же кодом, т.е. 1 – 2, а это недопустимо, ибо при расчете модели невозможно определить параметры этих работ. В сетевой модели между двумя смежными событиями может проходить только одна стрелка. Правильное изображение этого элемента показано на рис. 3.2.
|
|
|
| Рис. 3.1. Неправильное построение модели | Рис. 3.2. Правильное построение модели |
Правило запрещения тупиков. В сетевой модели не должно быть тупиков, т.е. событий, из которых не выходит какая-либо работа, за исключением завершающего события сети (в многоцелевых моделях завершающих событий может быть несколько). Например, событие 3 (рис. 3.3) – тупиковое. Наличие такого события означает, что введены лишние работы или есть ошибка в технологии выполнения работ.
|
|
|
| Рис. 3.3. Тупиковое событие | Рис. 3.4. Необеспеченное событие |
