Кабинетная система в условиях разноуровневого обученияРефераты >> Педагогика >> Кабинетная система в условиях разноуровневого обучения
3. Дополнительные усовершенствования оборудования кабинета физики.
В данном параграфе рассмотрим вопросы дополнительного усовершенствования основных элементов оборудования кабинета физики. Эти вопросы раскрываются на основе анализа многих предложений, описанных в методической литературе.
Не секрет, что многих учителей не удовлетворяет конструкционные особенности меловых досок, выпускаемых промышленностью для средних школ. Нам представляется, что описанные ниже предложения по конструкции меловой доски являются интересными и реализуемыми [ ]. При этом она удачно вписывается в конструкции описанной ранее разделительной стенки
Меловая доска изготавливается из витринного стекла толщиной 8 мм, вставленного в рамку из стального уголка, и закрепляется на горизонтальных перемычках второй и третьей рамок каркаса разделительной стенки.
Поверхность стекла матирована. Есть несколько способов сделать поверхность стекла матовой. Привлекает кажущейся простотой химический способ травления поверхности стекла плавиковой кислотой. На этом способе мы не будем останавливаться не только потому, что его применение требует соблюдения правил, безопасного труда, но и потому, что при химическом травлении образуется настолько мелкое зерно неровностей, что очень скоро эти мелкие неровности забиваются мелом (сначала), а потом сошлифовываются.
В этом случае мел перестает оставлять след на такой почти гладкой поверхности. Лучший результат дает обработка стекла пескоструйным аппаратом. Но возможно и ручное матирование поверхности стекла. Так как этот способ вполне доступен в школьных условиях, то остановимся на нем несколько подробнее.
|
|
| Рис. 8 |
Удобно матировать поверхность стекла, когда стекло расположено горизонтально. Для работы используется просеянный наждачный порошок. На это обстоятельство необходимо обратить внимание. Если использовать непросеянный наждачный порошок, то на поверхности стекла, появятся глубокие царапины.
Просеянный наждачный порошок насыпается ровным слоем на участок увлажненного стекла, а затем сверху накладывается еще один небольшой кусок стекла, которым с небольшим нажимом совершают круговые движения по поверхности матируемого стекла. Стекло-инструмент необходимо постоянно перемещать.
По мере обработки изменяется усилие, необходимое для перемещения стекла-инструмента. Сначала ощущается, как стекло-инструмент легко перемещается на перекатывающихся зернах наждака, но по мере обработки трение стекла о стекло возрастает. Изменяется и звук: хрустящий в начале, он постепенно переходит в шипящий.
Ручная обработка стекла размером ЗОООх1000 мм потребует 1—1,5 ч работы одного человека. После такой обработки на поверхности стекла хорошо оставляет след мел любого качества. Написанное легко удаляется влажной губкой. Но главное достоинство стеклянной меловой доски заключается в том, что с обратной (не матированной) стороны доска может быть окрашена в рекомендуемый эргономикой цвет, а затем, когда краска высохнет, поверхность доски можно расчертить в клетку со стороной 100 мм.
В вершинах образовавшихся квадратов краска со стекла стирается в виде небольших крестиков. С противоположной (матовой) поверхности эти крестообразные метки хорошо видны только вблизи от доски и незаметны учащимся. Но учителю эти метки помогают быстро построить график, вычертить схему и т. д. Метки не мешают, но и стереть их невозможно.
В нижней части меловой доски к металлической рамке прикреплен лоток для сбора меловой крошки и пыли. Минимальный зазор между лотком и подвижной магнитной доской предотвращает падение губки, кусков мела и других предметов в этот зазор.
Так как меловая доска углублена в нишу разделительной стенки как в своеобразную световую шахту, то это обстоятельство полностью исключает появление световых бликов на поверхности меловой доски.
Еще об одном приспособлении часто пишется в литературе. Это магнитная доска-экран. Нет необходимости говорить о преимуществах такой доски на уроках физики. При этом эта доска используется не столько для простого крепления наглядных пособий, сколько при проведении демонстрационного эксперимента.
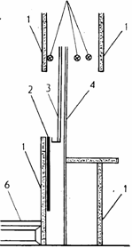
Магнитная доска-экран изготавливается из целого стального листа, прикрепленного для прочности к рамке из уголковой стали размером 3000Х1000 мм. По бокам узкой части рамки закреплены обрезиненные ролики, выступающие из рамки и входящие в пазы вертикальных стоек каркаса разделительной стенки. Тем самым доска-экран может перемещаться вверх и вниз [ ].
Для того чтобы скомпенсировать вес доски, она подвешивается в петле стального троса так, что образуется своеобразный подвижный блок (рис 9 ). Один конец стального троса диаметром 3—4 мм (на рисунке он изображен утолщенной линией) закреплен на каркасе разделительной стенки, а другой конец, переброшенный через верхний блок, соединен с грузом противовеса. Груз противовеса перемещается в шахте, образованной пространством между третьей и четвертой вертикальными рамками разделительной стенки . Груз противовеса подобран так, что
| Рис. 9 |
перемещение тяжелой
магнитной доски-экрана может быть произведено небольшим усилием одной руки. Такой способ подвески .доски обеспечивает ее перемещение без перекосов и заеданий.
Поверхность доски может быть окрашена матовой белой краской. Таким образом, в поднятом состоянии доска может играть роль не только магнитной доски, но и экрана фона и большого проекционного экрана, на который удобно проецировать изображения, даваемые проекционным аппаратом ФОС с демонстрационного стола или для теневого проецирования.
Но магнитная доска такой окраски не может постоянно служить как проекционный экран. Проекционный экран должен быть универсальным, для просмотра любых видов проецирования.
Для демонстрации диапозитивов, диафильмов и кинофильмов используется просвечивающийся экран, расположенный в одном из верхних проемов разделительной стенки. К экранам так называемого дневного кино предъявляются особые требования. С одной стороны, они не должны существенно ослаблять световой поток [ ].
С другой стороны, зритель не должен наблюдать световое пятно повышенной яркости изображение проекционной лампы. Хорошее, яркое, четкое изображение при равномерной освещенности по всему полю дает экран, изготовленный следующим способом.
На деревянную раму нужных размеров туго натягивается и закрепляется белое капроновое полотно. Такое полотно применяется в химических фильтрах в промышленных установках. На полотно шпателем наносится смесь талька с глицерином. Смесь должна иметь консистенцию очень густой сметаны. Шпателем смесь наносится тонким ровным слоем без пробелов.
