Проектирование мотоустановки среднемагистрального пассажирского самолетаРефераты >> Авиация и космонавтика >> Проектирование мотоустановки среднемагистрального пассажирского самолета
3.3. Технологический процесс сборки обшивок и элементов каркаса
В описание технологического процесса не помещаем формообразование
наружной и перфорированной обшивок, формообразование профилей.
Считаем их готовыми изделиями для дальнейшего техпроцесса изготовления
канала воздухозаборника.
Процесс предварительной сборки обшивок и элементов каркаса показан в табл. 19
Таблица 19
Предварительная сборка обшивок и элементов каркаса
| Наименование и эскиз операции | Оборудо-вание | Инстру-мент | Оснастка |
| 1 | 2 | 3 | 4 |
|
1. Подогнать и провести окончательную обрезку перфорированных обшивок. |
Приспо-собление для сбор-ки пер- фориро-ванной обшивки |
ручные ножни-цы, резной валик | |
|
2. Собрать на контрольных балках 3 секции перфориров. Обшивок. Допуск неприле-гания перфориров. Обшивок – по приспо-соблению после затяжки контрольных бол-тов ±0,1 мм. | щуп | ||
|
3. Засверлить отверстия под заклепки в перфорированной обшивке по направляю-щим отверстиям накладок. | |||
|
4. Зенковать отверстия со стороны перфо-рированных обшивок под потайные головки заклепок. | |||
|
5. Подогнать и провести обрезку перфори-рованной обшивки под потайные головки заклепок. Наружный контур приспособ-ления для сборки неперфорированных обшивок должен соответствовать наружному контуру воздухозаборника с учетом толщины неперфорированной обшивки. |
Приспо-собление для сбор-ки непер-фориро-ванных обшивок |
ручные ножни-цы, резино-вый валик | |
|
6. Собрать на контрольных болтах неперфорированную обшивку | |||
|
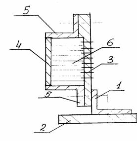
7. Провести примерку и присверливание сборки по следующим технологиям: а) зафиксировать на приспособлении для сборки воздухозаборника – клепать через тех. профиль (I) перфориров. обшивку (рис. 28) |
Приспо-собл. для сборки и склеива-ния воз-духоза-борн. канала – плита |
1 – технологический профиль; 2 – приспособление для сборки и склеивания воздухозаборника – плита; 3 – перфорированная обшивка; 4 – неперфорированная обшивка; 5 – упор; 6 – сотовый заполнитель
Рис. 28
Продолжение табл. 19
| 1 | 2 | 3 | 4 |
|
б) установить упор (5) для фиксации сото-вого заполнителя и неперфорированной обшивки; в) выставить сотовый заполнитель и секции неперфорированной обшивки; г) стянуть сборку резиновым жгутом и демонтировать упор; д) установить и зафиксировать на контроль-ных болтах профиль (дет. 015, 027, 0101, 029) и технический профиль (17), обеспе-чивающий сохранность геометрических размеров при склеивании (рис. 29). Допуска неприлегания профиля к обшивке после затяжки контрольными болтами ±0,1 мм; е) провести проверку качества подгонки обшивок до их анодирования к сотовому заполнителю по отпечаткам сот на полиэ-тиленовой пленке, полученным путем зап-рессовки изделия в автоклаве с избыточным давлением 0,6¸0,7 атм. при t=165±5 °С в течение 15¸20 мин. Порядок сборки должен соответствовать порядку сборки изделия, указанному в настоящем ДТП; ж) демонтировать сборку |
1 – технологический профиль; 2 – приспособление для сборки и склеивания воздухозаборника – плита; 3 – перфорированная обшивка; 4 – неперфорированная обшивка; 5 – профиль (дет. 015, 027, 017, 028); 6 – сотовый заполнитель; 7 – технологический профиль
Рис. 29
Продолжение табл. 19
| 1 | 2 | 3 | 4 |
|
8. Провести хромово-кислотное анодиро-вание обшивок профиля (дет. 015, 027, 017, 029, 023, 025). |
ванна хромово-кислот-ного анодир-ования | ||
|
9. Нанести грунтовку ЭП-0234 на поверх-ность свежеанодированных сухих деталей. Допускается разрыв между операциями анодирования и нанесения грунта не более двух часов. Пропустить грунт при t=125 °C в течение 1 часа. |
марка материа-ла: грун-товка ЭП-0234; термо-печь |
пульве-ризатор НРУ |
ложемен-ты |
|
10. Собрать 3 секции перфорированных обшивок через накладки на контрольных болтах |
приспособление для сбор-ки пер-фориров. обшивок | ||
|
11. Провести клепку продольных швов перфорированной обшивки |
пресс типа КПК-406 |
