Проектирование мотоустановки среднемагистрального пассажирского самолетаРефераты >> Авиация и космонавтика >> Проектирование мотоустановки среднемагистрального пассажирского самолета
е) повысить пожарную безопасность, вследствие того что:
– двигатели удалены от пассажирской кабины и от топливных баков;
ж) повысить эксплуатационные характеристики силовой установки и всего самолета в целом за счет:
– обеспечения возможности замены целиком всей гондолы вместе с двигателем;
– создания достаточно хороших условий для подхода к двигателям;
з) предохранить двигатели от попадания в них воды и посторонних предметов при работе двигателей на земле благодаря достаточно высокому расположению заборников от земли и от попадания камней из под шасси за счет прикрытия заборников крылом и закрылками;
и) обеспечить возможность установки двигателей с большей тягой (при сохранении или при небольшом увеличении их веса) вследствие малого плеча тяги относительно центра тяжести самолета;
к) улучшить работу устройств для реверсирования тяги двигателей по сравнению с двигателями, размещенными в корне крыла.
В зависимости от расчетной скорости полета входные устройства можно разделить на два типа:
1) дозвуковые – для дозвуковых летательных аппаратов;
2) сверхзвуковые – для сверхзвуковых летательных аппаратов.
К дозвуковому диффузору ТРД относится не только сам внутренний канал, по которому воздух поступает к двигателю, но и примыкающая к нему входная часть – заборник воздуха. Заборник должен иметь плавное очертание входных кромок, что необходимо для предотвращения срыва потока на входе.
Внутренний канал у таких диффузоров является расширяющимся. При движении дозвукового потока воздуха по расширяющемуся каналу происходит уменьшение его скорости и увеличения давления. Интенсивность процесса торможения определяется степенью изменения площади канала. Чем больше увеличивается площадь канала, тем интенсивнее должен быть процесс торможения.
Одной из актуальных задач создания современных самолетов является снижение шума двигателя. В том время, как самолеты с большой дальностью полета являются наиболее шумными из-за большой мощности установленных на них двигателей, самолеты со средней и малой дальностью полета более многочисленны и любое мероприятие по снижению шума этих самолетов также имеет большое значение.
Существует три основных способа достижения этой цели: применение малошумных двигателей, более совершенные приемы эксплуатации самолетов и двигателей и рациональная установка двигателей на самолете.
В авиационных двигателях шум порождается вентилятором ДТРД (компрессором ТРД), реактивной струей и внутренними источниками (прежде всего турбиной). Основным источником шума ДТРД с малой и особенно с большой степенью двухконтурности является вентилятор, причем общий уровень шума ДТРД ниже, чем ТРД.
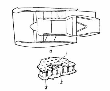
Наибольшее влияние на уровень шума оказывает скорость истечение газа, поэтому действенным способом снижения шума является переход в пассажирской авиации от ТРД к двухконтурным двигателям, шум реактивной струи которых меньше из-за существенно меньшей ее скорости. Однако главным источником шума у ДТРД стал вентилятор. В настоящее время разработаны следующие основные способы снижения шума одноступенчатого вентилятора: отказ от ВНА вентилятора, пониженная окружная скорость рабочего колеса, оптимальное соотношение чисел лопаток выходного направляющего аппарата и рабочего колеса, увеличенное расстояние между этими рядами лопаток. Следует отметить, что, хотя применение турбовентиляторов с высокой частотой вращения позволяет снизить массу двигателя, требование по уровню шума заставляет ограничивать частоту вращения значениями, соответствующими окружным скоростям вентиляторов 400–450 м/с. Кроме того, рассматриваются другие предложения по снижению шума вентилятора одним из которых является способ снижения шума в процессе распространения его из воздухозаборника и выходного устройства. Этот способ включает облицовку стенок проточной части звукопоглощающими конструкциями (ЗПК). Пример применения таких конструкции в мотогондоле двигателя RB.211 для самолета L-1011 показан на рис. 2. Применение ЗПК важно и тем, что при этом в конструкцию двигателя никаких изменений не вносится.
Акустически обработанная мотогондола двигателя пассажирского самолета
а – мотогондола с ЗПК; б – многослойная звукопоглощающая конструкция; 1 – перфорированная обечайка; 2 – сотовый заполнитель; 3 – опорная поверхность.
Рис. 2
1. ОПИСАНИЕ КОНСТРУКЦИИ МОТОГОНДОЛЫ
На самолете установлены мотогондолы с использованием в конструкции композиционных материалов (звукопоглощающие панели воздухозаборника).
Мотогондола (рис. 3) состоит из:
– передней части воздухозаборника;
– задней части (створки мотогондолы);
– панелей крепления створок мотогондолы.
Передняя часть мотогондолы состоит из носка, канала и обечайки. Носок крепится по внутреннему контуру к каналу воздухозаборника, а по внешнему – к обечайке.
Канал – трехслойная оболочка. Внутренняя обшивка (перфорированная) выполнена из алюминиевого сплава Д19чАТВ толщиной 1,8 мм, нагруженная обшивка – из сплава Д19чАТ = 1,2 мм.
Заполнитель: ТССП-Ф-10П, сотовый, с шестигранной ячейкой а = 10 мм.
Толщина панели – 20 мм.
Внешняя поверхность воздухозаборника – обечайка представляет собой клепанную оболочку с обшивкой из материала Д16-АТВ (травленая) с толщиной обшивки 1,8 мм, под двумя подкрепляющими до толщины равной 1,2 мм между ними.
Обшивка в обечайке в передней плоскости крепится к стеночному шпангоуту передней губы воздухозаборника, а по задней – к торцевому стеночному шпангоуту в районе фланца двигателя.
Воздухозаборник закреплен на переднем фланце двигателя двенадцатью быстросъемными соединителями (накидными болтами М10), воспринимающими осевые усилия, а также моменты вертикальных и горизонтальных осей.
Силовое воздействие в плоскости, определяемой указанными осями, воспринимается цилиндрическим пояском на фланце двигателя, по которому осуществляется и центровка воздухозаборника.
В конструкцию воздухозаборника встроена противообледенительная система (ПОС) с отбором горячего воздуха от третьей ступени компрессора высокого давления двигателя.
Внешняя обшивка и панели объединены первым и четвертым силовыми шпангоутами. Четвертый шпангоут воздухозаборника выполняет функции поперечной противопожарной перегородки.
Носок воздухозаборника отштамованный из нержавеющей стали состоит из четырех частей, сваренных между собой встык.
Носок воздухозаборника состоит из обшивки, поперечной диафрагмы, на которой крепится коллектор с частью трубы ПОС и шпангоута № 1. Шпангоут № 1 сборной конструкции имеет кольцевую форму и состоит из стенки, усиленной поясами и диафрагмами.
Коллектор входит в конструкцию противообледенительной системы воздухозаборника (ПОС). Звукопоглощающая канальная панель (ЗПК) конструктивно выполнена в виде двух дюралюминиевых обшивок, между которыми вклеен сотовый заполнитель. Со стороны проточной части обшивка перфорирована. ПО торцам панели приклеены профили для стыковки с носком по шпангоуту № 1 и со шпангоутом № 4 воздухозаборника.
