Строительство здания Реабилитационный центрРефераты >> Строительство >> Строительство здания Реабилитационный центр
Здание главного корпуса, имеет прямоугольную форму, живописно вписывается в окружающую среду. Остекление принято тонированными зеркальными стеклопакетами теплого тона. Стены из пенобетона. Основной колер стен – белый. Цоколь и часть первого этажа отделаны плитами из натурального камня по сетке на цементно – песчаном растворе.
Основные технико-экономические показатели:
объем здания – 10101 м³
общая площадь – 2856 м
полезная площадь – 2528 м²
5.2 Теплотехнический расчет ограждающих конструкций
Расчет производится согласно главы СНиП П-3-79* «Строительная теплотехника» и СНКК 23-302-2000 (ТСН 23-302-2000 Краснодарского края) Энергетическая эффективность жилых и общественных зданий. Нормы по теплозащите зданий и методических указаний к курсовому и дипломному проектированию «Теплотехнический расчет ограждающих конструкций зданий».
Расчетные условия ( по данным СНКК 23-302-2000):
1. Расчетная температура внутреннего воздуха – tint = +200 С;
2. Расчетная температура наружного воздуха – text = - 130 С;
(температура наиболее холодной пятидневки)
5. Продолжительность отопительного периода Z ext = 134 сут.;
6. Средняя температура наружного воздуха за отопительный период textav +4.40 С; 7.Градусосутки отопительного периода Dd = 2090 0С.
8. Назначение – лечебное.
9. Размещение в застройке – отдельностоящее.
10. Тип – четырехэтажное.
11. Конструктивное решение – рамно связевое
Объемно-планировочные параметры здания:
12. Общая площадь наружных стен, включая окна и двери
Aw+F+ed = Pst× Hh =
м2
Площадь наружных стен (за минусом площади окон и входных дверей):
Aw = 1974,9 – 542,5 – 5,76 = 1426,64 м2
AF = 542,5м2 – площадь окон и витражей;
Aed = 2.4×2.4 = 5,76 м2 – площадь входной двери.
Площадь покрытия и площадь пола 1-го этажа равны:
Ас = Аst = 885,4 м2
13. Площадь наружных ограждающих конструкций определяется как сумма площади стен (с окнами и входными дверьми) плюс площадь пола, плюс площадь совмещенного покрытия:
Аеsum= Aw+F+ed+ Ас + Аst= 1974,9+885,4+885,4 = 3745,7м2
14-15. Площадь отапливаемых помещений (общая площадь) Аh и полезная площадь Аr:
Аh =580,5+
м2
Аr =2856,4-327,8=2528,6 м2,
16. Отапливаемый объем здания:
Vh =Ast × Hh=
м3
17-18. Показатели объемно-планировочного решения:
- коэффициент остекленности здания: Р =АF / Aw+F+ed = 542,5/1974,9= 0,27;
- показатель компактности здания: Кеdes = Аеsum/ Vh = 3745,7/10101 = 0,37.
Энергетические показатели
Теплотехнические показатели
19. Согласно СниП П-3-79* приведенное сопротивление теплопередаче наружных ограждений R0r, м2 0С/Вт должно приниматься не ниже требуемых значений R0red, которые устанавливаются по табл. 1б в зависимости от градусосуток отопительного периода.
Для Dd = 20900С×сут требуемое сопротивление теплопередаче равно для:
- стен Rwred= 2,46 м2×0С/Вт;
- окон и балконных дверей Rfred= 0,377 м2×0С/Вт;
- входных дверей Rwred= 1,35 м2×0С/Вт;
- совмещенное покрытие Redred= 3,6 м2×0С/Вт;
- пол первого этажа Rf = 3,25 м2×0С/Вт;
Определимся с конструкциями и рассчитаем толщины утеплителей наружных ограждений по принятым сопротивлениям теплопередачи. Схема конструкции стены приведена на рисунке 1.
1. Известково-песчанный раствор плотностью 1600 кг/м3 d1=20мм, с коэффициентом теплопроводности
А =0,70 Вт/(моС)
2. Пенобетон плотностью 600 кг/м3 d2=Х мм, с коэффициентом теплопроводности
А =0,22 Вт/(моС)
3. Цементно-песчанный раствор плотностью 1800 кг/м3 d3=20мм, с коэффициентом теплопроводности
А =0,76 Вт/(моС
Определяем требуемое сопротивление теплопередаче стены, исходя из санитарно-гигиенических и комфортных условий:
м2×0С/Вт
R0 =RВ+Rраств+Rж/б +Rраств + Rн =Roтреб
R0 =
м2×0С/Вт
[2,46 – (0,115 +0,028+ 0,026 + 0,043)]×0,22 = x
x = 0,5 dбет =0,5м
толщина стены 0,5+0,02= 0,54 м
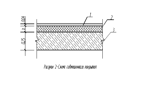
Для обеспечения требуемого по градусосуткам сопротивления теплопередаче совмещенного покрытия R0тр = 3,6 м2×0С/Вт определяем толщину утеплителя в многослойной конструкции покрытия (термическое сопротивление пароизоляции отнесены в запас), схема которого приведена на рисунке 2
3. Железобетонная монолитная плита плотностью 2500 кг/м3 d1=250 мм, с коэффициентом теплопроводности
А =1,92 Вт/(моС)
2. Утеплитель-пенополистирол плотностью 150 кг/м3 d2=Х мм, с коэффициентом теплопроводности
А =0,052 Вт/(моС)
1. Цементно-песчанный раствор плотностью 1800 кг/м3 d3=40мм, с коэффициентом теплопроводности
А =0,76 Вт/(моС)
R0 =RВ +Rж/б +Rутеп +Rраств + Rн =Roтреб
R0 =
м2×0С/Вт
1/8,7+0,25/1,92 + X/0,052+ 0,04/0,76 + 1/23= 2,46
[3.6-(0,115+0,13 +0,052+0,043)]×0,052 = X
X = (3,6-0,34)×0,052= 0,169 м
dут = 17 см
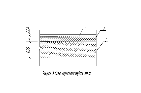
Для обеспечения требуемого по градусосуткам сопротивления теплопередаче R0тр = 3,25 м2×0С/Вт перекрытия по грунту, определяем его конструкцию и рассчитаем толщину утеплителя ( рис.3 ).
1. Цементно-песчанный раствор плотностью 1800 кг/м3 d1=40мм, с коэффициентом теплопроводности
А =0,76 Вт/(моС)
2. Утеплитель-керамзит плотностью 300 кг/м3 d2=Х мм, с коэффициентом теплопроводности
А =0,12 Вт/(моС)
3. Железобетонная монолитная плита плотностью 2500 кг/м3 d3=250 мм, с коэффициентом теплопроводности
А =1,92 Вт/(моС)
R0 =RВ + Rраств + Rутеп +Rж/б + Rн =Roтреб
R0 =
м2×0С/Вт
1/8,7+0,04/0,76 + X/0,12+ 0,25/1,92 + 1/23= 3,25
[3,25-(0,115+0,052 +0,13+0,043)]×0,12 = X
X = (3,25-0,34)×0,12= 0,349 м принимаем dут = 35 см
20. Приведенный трансмиссионный коэффициент теплопередачи:
Kmtr = b(Aw/Rwr+AF/ RFr + Aed/ Rtdr+n× Ac/ Rcr+ n× Af/ Rfr)/ Аеsum
