Строительство здания Реабилитационный центрРефераты >> Строительство >> Строительство здания Реабилитационный центр
2. Пенобетон плотностью 800 кг/м3 d2=Х мм, с коэффициентом теплопроводности
А =0,33 Вт/(моС)
3. Цементно-песчанный раствор плотностью 1800 кг/м3 d3=20мм, с коэффициентом теплопроводности
А =0,76 Вт/(моС)
Cопротивление теплопередаче:
R0 =RВ+Rраств+Rж/б +Rраств + Rн =Roтреб
R0 =
м2×0С/Вт
[1,72 – (0,115 + 0,028+0,026 + 0,043)]×0,33 =δ2
откуда толщина пенобетона δ2=0,5 м
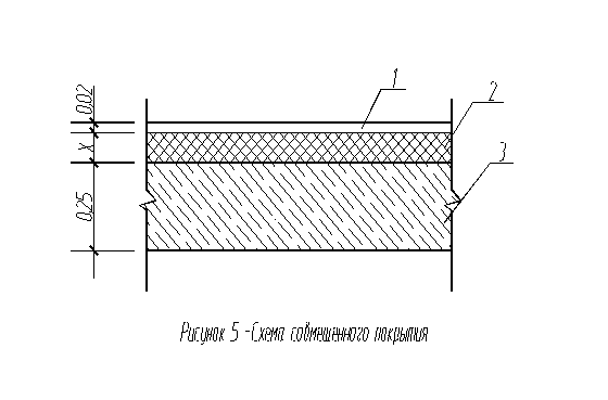
Совмещенное покрытие: принимаем следующую конструкцию совмещенного покрытия, теплотехнические характеристики материалов ( рис. 5)
1. Цементно-песчанный раствор плотностью 1800 кг/м3 d1=20 мм, с коэффициентом теплопроводности
А =0,76 Вт/(моС)
2. Утеплитель-газобетон плотностью 600 кг/м3 d2=Х мм, с коэффициентом теплопроводности
А =0,22 Вт/(моС)
3. Железобетонная монолитная плита плотностью 2500 кг/м3 d3=250 мм, с коэффициентом теплопроводности
А =1,92 Вт/(моС)
R0 =RВ +Rж/б +Rутеп +Rраств + Rн =Roтреб
R0 =
м2×0С/Вт
1/8,7+0,25/1,92 + X/0,22+ 0,02/0,76 + 1/23= 1,45
[1,45-(0,115+0,13 +0,026+0,043)]×0,22 = X
X = (1,45-0,314)×0,22= 0,249 м
Принимаем dут = 25 см
Перекрытие первого этажа: принимаем следующую конструкцию перекрытия первого этажа, теплотехнические характеристики материалов ( рис. 6)
1. Цементно-песчанный раствор плотностью 1800 кг/м3 d1=20 мм, с коэффициентом теплопроводности
А =0,76 Вт/(моС)
2. Утеплитель-газобетон плотностью 300 кг/м3 d2=Х мм, с коэффициентом теплопроводности
А =0,11 Вт/(моС)
3. Железобетонная монолитная плита плотностью 2500 кг/м3 d3=250 мм, с коэффициентом теплопроводности
А =1,92 Вт/(моС)
R0 =RВ + Rраств + Rутеп +Rж/б + Rн =Roтреб
R0 =
м2×0С/Вт
1/8,7+0,02/0,76 + X/0,11+ 0,25/1,92 + 1/23= 1,15
[1,15-(0,115+0,026 +0,13+0,043)]×0,11 = X
X = (1,15-0,314)×0,11= 0,9 м принимаем dут = 90 см
5.3 Конструктивное решение здания
Конструктивные решения обусловлены архитектурно – планировочными требованиями и приняты в соответствии с архитектурным заданием.
Здание рамно-связевое из монолитного железобетона с безригельными перекрытиями.
Фундаменты приняты из условия ограничения возможных деформаций для многоэтажной части из кустов свай, для одноэтажных пристроек – плитные фундаменты. Перекрытия – монолитные железобетонные. Кровля – плоская из рулонных материалов, утепленная газобетоном.
Отмостка вокруг здания – бетонная шириной 1000 мм. Стены – из монолитного пенобетона с поэтажным операнием на консоли перекрытий.
Перегородки – кирпичные толщиной 120 мм и на металлическом каркасе с двухсторонней обшивкой гипсокартонными листами в два слоя.
5.4 Решение фасада, внутренняя отделка помещений
Стены из пенобетона покрыты обычной штукатуркой. Основной колер стен –белый. Цоколь и часть первого этажа отделаны плитами из натурального камня по сетке на цементно-песчаном растворе. Остекление принято зеркальными стеклопакетами.
Внутренние стены и потолки после затирки (при необходимости – штукатурки) окрашиваются водоэмульсионной краской СТЭМ-45. В помещениях, где установлено сантехническое оборудование стены отделываются глазурированной плиткой или окрашиваются поливинилацетатной краской ВА-27.
5.5 Инженерное оборудование
Отопление
Отопление помещений корпусов – водяное, местными нагревательными приборами – радиаторами типа МС 140.Систеиы отопления – двухтрубные. Расход тепла на отопление по первой очереди 180000 ккал/час (218 кВт).
Источником теплоснабжения является котельная по ул. Челюскенцев № 7 (резервный источник- стационарная котельная РОК-1находится в теническом здании на территории центра. Котельная оборудована водонагревательными котлами ТВГ-8М, ТВГ-4Р.
Источником водоснабжения являются центральные сети поселка.
Показатели параметров теплоносителей:
· теплофикационная вода с температурой подающей воды 150 ˚С и обратной 70 ˚С;
· подающей горячего водоснабжения 65 ˚С и циркуляционной воды 50 ˚С.
Давление в подающей магистрали на выходе из котельной Р=0,55 МПа, давление в обратной магистрали входе в котельную Р=0,45 МПа.
Вентиляция и кондиционирование.
Для создания нормативных параметров воздуха в помещениях предусматривается:
· общественная вытяжная вентиляция;
· кондиционирование воздуха.
Количество воздуха для вентиляции и кондиционирования в помещениях определено расчетом в соответствии с требованиями СНиП 2.08.02-89, СНиП 2.04.05-91, пособиям по проектированию учреждений здравоохранения.
По экономическим соображениям и, исходя из надежности работы, приняты автономные кондиционеры японской фирмы “DEIKIN”, работающие в режиме “зима-лето”, поддерживающие в помещении заданную температуру воздуха и очищающие его от пыли. Расход тепла на вентиляцию первой очереди – 195000 ккал/час (226 КВт).
Водоснабжение.
Системы водопровода, канализации водостоков и горячего водоснабжения здания центра реабилитации запроектированы в соответствии с требованиями СниП «Внутренний водопровод и канализация».
Сети водопровода выполнены из полиэтиленовых труб ПНД Æ 150 мм тип Т «питьевая» ГОСТ 18599 – 83.
На проектируемой сети предусмотрены колодцы с отключающими задвижками и пожарными гидрантами из сборного железобетона. Для круглосуточного и бесперебойного водоснабжения, проектируемого здания центра реабилитации, запроектирован бак хозяйственного питьевого запаса воды в техническом помещении емкостью 200м3. Для обеспечения требуемого напора воды (20 м водного столба) принята «частная насосная установка» ГИДРОДЖЕТ JP5 фирмы GRUNDFOS.
Вопрос внутреннего пожаротушения главного корпуса решен от баков противопожарного запаса воды (2 шт. по 14 м3) и группы противопожарных насосов СН 12 – 40 400 Y фирмы GRUNDFOS.
Питьевая вода используется для хозяйственно-питьевых нужд, полив газонов и территории, пожаротушения.
Источником водоснабжения являются основные сети поселка диаметром 300 мм. Напор в сети – 4,0 атм. Учет воды производится водомером ВТ-80,установленным в техническо здании.
