Проектирование железобетонного промышленного зданияРефераты >> Строительство >> Проектирование железобетонного промышленного здания
5.3 Расчет верхнего пояса
Исходные данные:
Класс бетона: В25, Rb =14,5 МПа; γb2=0.9, EB = 27000 МПа.
Класс арматуры: A-III; Rs = 365 МПа; Rsc = 365 МПа ES = 20000МПа
Сечение 24´20 см.
Расчетные усилия: М =-25.27 кНм, N = -817.695 КН.
Нагрузка на узел фермы: полная Р = 95.76 кН;
длительная Pl=(g+αS)Aгр = (3,32+0,5·2)18 = 77,76кН
где
=0,5 по [2, п.1.7 к)] для III снегового района.
Усилия от длительной нагрузки
-20,52кН;
кН.
Эксцентриситет
м.
5.3.1. Определение коэффициента продольного изгиба
Свободная длина элемента верхнего пояса фермы при расчете в плоскости фермы при е0 = 0,031 < h / 8 = 0,025 равна l0 = 0.9l = 0.9·3=2,7 м [2, табл.33].
Вычисляем случайные эксцентриситеты:
м ,
м.
Принимаем наибольшее значение: eo = 0.031 м.
кНм.
= 664··(0.031 + 0.01 – 0.04) = 60,42 кНм
= 817.695·(0.031 + 0.1 – 0.04) = 74.4 кНм
=
=1.812;
, но не менее:
,
принимаем δe = 0,2345;
м-4;
, откуда
0,2% [3, табл. 38];
= 0.023·10-4 м-4;
Критическая сила при потере устойчивости:
1413 кН
Коэффициент продольного изгиба:
5.3.2. Определение сечения арматуры при симметричном армировании
Эксцентриситет с учетом продольного изгиба:
е0·η = 0,031·2,374 = 0,0725м, что больше 0,3h = 0.3·0.2 = 0.06м
Предварительно принимаем случай “больших” эксцентриситетов.
1. Задаем сечение арматуры (4 Æ20 с AS = A’S=12.56см2) [1, прил.3].
2. Определяем
(граничную высоту сечения).
0,605 [3, (25)],
где ω =0,85 – 0,08·RB = 0.85 – 0.08·17·0.9 = 0.7456 [3, (26)]
для арматуры A-IV: σSR = RSC + 400 - σSP - ΔσSP = 510 + 400 = 910МПа,
σSP = 0, ΔσSP =0, тк. отсутствует предварительное напряжение.
3. Определим требуемую относительную высоту сжатой зоны сечения:
1,47 > 0.605
- случай “малых” эксцентриситетов.
Определим требуемую относительную высоту сжатой зоны сечения для случая “малых” эксцентриситетов:
0,651
4. Определяем
0,439
5. Проверяем несущую способность по формуле:
![]()
[3, (36)],
где:
Ne =N
817.695·(0,031·2,374 + 0.2/2 – 0.03)=117.42 кНм
=
=0,439·0,24·0,172·14,5·103·0,9 + 365·103· 12.56·10-4·(0,17-0,03) =104Нм
Условие не выполняется 117,42кНм>104кНм.
Увеличим сечение арматуры, принимаем (4 Æ20 с AS = A’S=15,2см2)
0,754
Ne =N
817.695·(0,031·2,374 + 0.2/2 – 0.031)=116,6 кНм
=
=0,47·0,24·0,1692·14,5·103·0,9 + 365·103· 12.56·10-4·(0,169-0,031) =118,6Нм
116,6 кНм <118,6Нм
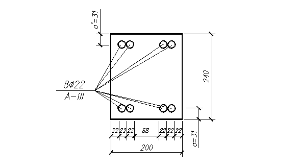
Условие [3, (36)] выполняется. Сечение показано на рисунке 5.2.
Рис. 5.2 – Сечение верхнего пояса.
5.3.3. Назначение поперечной арматуры
Согласно [3, п.5.22] принимаем поперечную арматуру с шагом 400, что меньше 20d = 20
22 = 440 и 500 мм. Диаметр арматуры назначаем из условия свариваемости [4, прил.9] и наличия в сортаменте. Принимаем ø6AIII.
5.4. Расчет нижнего пояса
Исходные данные:
Класс бетона: В25, Rb =14,5 МПа; γb2=0.9, EB = 27000 МПа.,
Rb,ser = 18,5 МПа, Rbt,ser 1,6 МПа;
Класс арматуры A-IV; Rs = 510 МПа; Rsc = 450 МПа; Rs,ser =590МПа;
ES = 19000МПа
Сечение 24´22см.
Расчетные усилия: М = - 32,63 кНм, N = 776,7 кН.
a=a’=0,05 м.
5.4.1. Определение сечения арматуры
Армирование симметричное AS = A’S
Эксцентриситет силы N (рис. 5.3):
м;
Рис.5.3 - Расчетная схема нижнего пояса.
Так как е0 <
0,06 м, то сила N находится между арматурами и это случай “малых” эксцентриситетов, расчет ведется по формулам:
Ne ≤ A’SRS(h0-a’) [3, (61)]
Ne’ ≤ ASRS(h0-a’) [3, (62)]
При симметричном армировании получим:
е0 =
0.018м;
е’ =
0.102м.
Выбираем большее значение и получим:
10.6·10-4м2
где γS6 = η =1.2 для арматуры класса A-IV [3, п.3.13].
Принимаем 3Æ22 AS = A’S = 11,4м2 [1, прил.3].
