Расчёт и проектирование конструкций балочной клеткиРефераты >> Строительство >> Расчёт и проектирование конструкций балочной клетки
Чтобы уменьшить сварочные напряжения: сначала сваривают поперечный стыковой шов стенки (1) и поясов (2), имеющие небольшую поперечную усадку. Остальные незаверенные на заводе участки поясных швов длиной около 500 мм дают возможность поясным листам несколько вытянуться при усадке швов (2). Последними завариваются угловые швы (3), имеющие небольшую продольную усадку.
Рисунок 9 – Монтажный стык составной сварной балки
2.11 Расчёт и конструирование опорной части
Рисунок 10 – Опирание сварной балки на колонну
Назначаем ширину опорных рёбер
.
Требуемая площадь сечения рёбер:
, см2, (2.9.1)
где
кН/см2;
см2.
Толщина ребра:
, см, (2.9.2)
где
см;
см.
Принимаем ближайшее по сортаменту значение:
мм.
Проверяем опорную часть балки на устойчивость:
см;
см.
Рисунок 11 – Сечение опорной стойки
Определим геометрические характеристики:
, см2, (2.9.3)
см2.
, см4 , (2.9.4)
см4;
см;
;
приложение IV, таблица 1 [2].
кН/см2
кН/см2 – условие устойчивости удовлетворяется.
Сварка полуавтоматическая сварочной проволокой Св 08ГА с расчётным сопротивлением
кН/см2.
Положение шва нижнее,
;
;
;
![]()
;
Длина шва:
см.
см
см, значит принимаем.
см.
3. РАСЧЁТ И КОНСТРУИРОВАНИЕ ЦЕНТРАЛЬНО-СЖАТОЙ КОЛОННЫ
3.1 Расчётная нагрузка на колонну
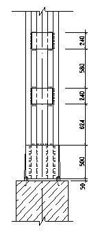
Рисунок 12 – Центрально-сжатая сквозная колонна
, кН, (3.1.1)
кН.
Расчётная длина колонны
, м, (3.1.2)
где
отметка верха настила, м;
толщина настила, м;
высота сечения балки настила, м;
высота сечения главной балки, м.
![]()
м.
Расчётная длина:
м.
Верхний и нижний конец колонны предполагаются шарнирно-опёртыми, значит
.
3.2. Подбор и компоновка сечения колонны
Колонна относится к III группе конструкций по СНиП2-23-81* «Стальные конструкции», назначим для неё сталь 18кп (С245) с
Определяем требуемую площадь поперечного сечения:
, см2, (3.2.1)
Задаёмся параметром гибкости из опыта проектирования:
![]()
, тогда
см2.
Площадь сечения 1 ветви:
см2.
Зададимся профилем.
см.
Назначим по сортаменту I 40Б2 c
;
;
;
;
,
.
Определим гибкость относительно материальной оси:
.
Условие устойчивости:
.
Зададимся гибкостью ветви:
Определим расстояние между планками в свету:
см , следовательно назначаем
см.
Определим требуемую гибкость колонны относительно не материальной оси:
.
Определим радиус инерции:
см.
.
