Расчёт и проектирование конструкций балочной клеткиРефераты >> Строительство >> Расчёт и проектирование конструкций балочной клетки
Конструктивное условие:
условие удовлетворяется.
Назначаем размеры планок:
.
Толщина планки:
.
Проверка принятого сечения.
Определим геометрические характеристики:
см4,
условие удовлетворяется.
Для определения гибкости колонны относительно свободной оси, находим соотношение погонных жёсткостей планки и ветви:
,
где
см4,
.
Условие экономичности:
условие удовлетворяется.
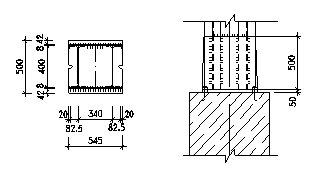
3.3. Расчёт и конструирование базы колонны
Соединение базы колонны с фундаментом условно принимаем шарнирным.
Рисунок 13 – База колонны
Принимаем фундамент из бетона В12,5 с
0.75кН/см2- призменная прочность бетона – по СНиП 2.03.01-87* «Бетонные и железобетонные конструкции».
Определим расчётное сопротивление бетона смятию:
кН/см2,
где
,
при классе бетона меньше В25,
площадь смятия, равна площади плиты базы колонны,
расчётная площадь сечения, равна площади обреза фундамента.
Тогда требуемая площадь:
условие удовлетворяется.
Фактическая площадь плиты:
см2.
Фактическое напряжение в плите под фундаментом:
условие выполнено.
Толщину плиты определяем из условия её прочности на изгиб.
Определяем изгибающие моменты на отдельных участках плиты:
кН*см/см, (3.3.1)
кН*см/см,
где
вылет консоли, см.
, кН*см/см, (3.3.2)
где
определяем из таблицы 8.7 [1]., в зависимости от
.
Hо
, значит второй участок рассматриваем как консольный,
, получаем:
кН*см/см,
, кН*см/см, (3.3.3)
где
определяем из таблицы 8.6 [1]., в зависимости от
.
большая сторона,
меньшая.
кН*см/см.
Толщина плиты:
см, (3.3.4)
см,
назначаем толщину плиты
мм.
Высоту траверсы определяем из условия прочности на срез 4 угловых швов, крепящих траверсы к стержню колонны.
Назначаем катет шва
мм.
Сварочная проволока Св-08ГА с
кН/см2.
Положение шва нижнее, следовательно
.
Требуемая длина одного шва:
(3.3.5)
условие выполняется.
Назначим высоту траверсы 500 мм.
ЗАКЛЮЧЕНИЕ
В данной работе была рассчитана балочная клетка, а именно:
-Произведён расчёт стального настила;
-Выполнен расчёт и конструирование главной балки с проверкой устойчивости стенки;
-Выполнены расчёт и конструирование центрально-сжатой колонны, куда входит подбор и компоновка сечения колонны.
ЛИТЕРАТУРА
1. «Металлические конструкции» - под редакцией проф. Е.И.Беленя, М., Стройиздат 1996г.,
2. «Примеры расчёта металлических конструкций» - 2-е издание, переработанное и дополненное – под редакцией А.П.Мандрикова, М., Стройиздат 1998 г.,
3. «Металлические конструкции» - под редакцией А.А. Васильева, М., Стройиздат 1976 г.,
4. СНиП 2-23-81* «Стальные конструкции»,
5. СНиП 2-01-07-85* «Нагрузки и воздействия»,
6. СНиП 2.03.01-87* «Бетонные и железобетонные конструкции».
