Характеристика сырья для производства керамических строительных изделийРефераты >> Строительство >> Характеристика сырья для производства керамических строительных изделий
Запрещается находиться между глинорыхлителем и транспортом в то время, когда опрокидывается кузов транспортных устройств.
Рис. 13. Двухвальный глинорыхлитель конструкции Ленстройкерамики: 1 - бункер ящичного подавателя, 2 - электродвигательмощностью 10 квт, 3 - редуктор РМ-650, 4 - бункер рыхлителя, 5 - рыхлительные валы с билами, 6 - шестеренчатая передача
Подача глины в производство
После рыхления глина поступает на некоторых заводах в глино-хранилище, а иногда непосредственно на переработку.
Для равномерной подачи глины в глинохранилище или непосредственно в производство применяют ящичные питатели СМ-664, СМ-1090, СМК-78 (СМ-1091), «Кема» (Германия).
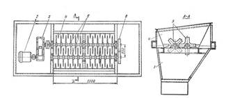
Ящичный питатель СМ-664 (рис. 14) состоит из корпуса 1, транспортера 2, электродвигателя 3, редуктора 4, вала 5 с билами. На корпусе питателя установлены планки 7, к которым крепят металлические перегородки — шиберы 6. Высоту шиберов регулируют таким образом, чтобы была обеспечена наибольшая производительность установленного после ящичного питателя оборудования.
Рис. 14. Ящичный питатель СМ-664: 1 — корпус, 2 — транспортер, 3 — электродвигатель, 4 — редуктор, 5 — вал с билами, 6 — шиберы, 7 — планки
Ящичные питатели СМ-1090 и СМК-78 (СМ-1091) состоят из корпуса, ленты транспортера, привода и валов: приводного, натяжного, промежуточного и бильного. Корпус по длине разделен двумя шиберами на две загрузочные камеры. Шиберы поднимаются и опускаются реечной передачей с помощью штурвала, расположенного на боковой стороне корпуса. Для перемешивания и равномерной подачи материала в лоток питателя применен бильный вал.
Тяговым органом питателя СМК-78 (СМ-1091) является стальная пластинчатая лента, имеющая по бокам две катковые цепи с приклепанными между ними пластинами. Она образует подвижное дно питателя. Пластины ленты плоские из стального листа толщиной 6 мм и с тремя зигами. Снизу к пластине приваривается профиль из листа толщиной 4 мм, придающий пластине жесткость. Приводом тягового органа и бильного вала служит электродвигатель с клиноременной передачей.
Тяговым органом ящичного питателя СМ-1090 является резиновая лента шириной 1200 мм. Для устранения провисания ленты над ней расположен рольганг из 31 ролика диаметром 90 мм. В остальном питатели СМ-1090 и СМ-1031 одинаковы.
Технические характеристики ящичных питателей приведены в табл. 10.
Таблица 10
|
Технические характеристики ящичных питателей | |||
|
Показатели |
СМ-664 |
СМ-1090 |
СМК-78 (СМ-1091) |
|
Производительность м3/ч |
15 и 35 |
25 |
25 |
|
Количество камер |
2 |
2 |
2 |
|
Емкость камер м3 |
2,2 |
2,9 |
2,9 |
|
Мощность привода, квт |
4,2 |
3 |
4 |
|
Скорость движения ленты транспортера м/мин |
1,8 и 2,48 |
1,5 и 2,0 |
1,5 и 2,0 |
|
Угловая скорость бильного вала. об/мин |
95,5 и 126 |
90 и 120 |
85 и 117 |
|
Габаритные размеры, мм: длина |
5930 |
6510 |
6350 |
|
ширина |
2060 |
2485 |
2530 |
|
высота |
1200 |
1610 |
1620 |
|
Масса, т |
2,8 |
4,1 |
4,6 |
Хранение и вылеживание сырьевых материалов
При вылеживании глин их качество улучшается. Хранят и вылеживают глины е хранилищах (рис. 15 и 16).
Стационарные хранилища обеспечивают бесперебойное и ритмичное снабжение завода сырьем независимо от метеорологических условий. В промышленности используют хранилища, в которых для подачи сырьевых материалов в производство эксплуатируются многоковшовые экскаваторы с нижним (рис. 16, а) и с верхним черпанием (рис. 16, б). Глина 1 конвейером 2 подается на первичное дробление в глинообрабатывающую машину 3. После вылеживания экскаватор 4 передает глину на конвейер 5. Погрузочно-разгрузочные работы в глино-ранилищах осуществляются также грейферными захватами, многоковшовыми экскаваторами, автопогрузчиками и бульдозерами.
Поступающее на завод сырье перед разгрузкой в глинохранилище осматривают и проверяют, нет ли в нем посторонних примесей.
Глину, каолин, кварцевый песок, засоренные углем, железом, шлаком, мелом и другими примесями, которые нельзя удалить в процессе разгрузки, выгружают вне территории склада.
Загружают сырье только в предназначенные для каждого вида и сорта отсеки. Отсеки склада и площадки для хранения сырья обязательно должны быть маркированы. От каждой партии прибывающего сырья отбирают среднюю пробу и контролируют ее качество в лаборатории или ОТК.
В лабораторном журнале записывают следующие сведения о прибывшем сырье: вес прибывшей партии сырья, его месторождение, влажность, степень засоренности; дату прибытия и номер вагона.
В хранилищах надлежит строго соблюдать чистоту, не допуская засоренности сырья. Как правило, в хранилище должен поддерживаться 2—3-месячный запас сырья.
Высокое качество изделий может быть получено при вылеживании подготовленной шихты. Глину с отощающими добавками дозируют в ящичном питателе, оборудованном рыхлителем, и затем подают в глиномешалку и бегуны. Обработанное сырье укладывают на вылеживание в глинохранилище.
Рис. 15. Глинохранилище с бульдозером: 1 - бульдозер, 2 - бункер, 3 - глинорыхлитель, 4 - ящичный подаватель, 5 – конвейер
Рис. 16. Стационарные глинохранилища: а —С передвижными мостами и экскаватором, б — с верхним черпанием глины; 1 — глина, 2— конвейер для подачи сырья, 3 глинообрабатывающая машина, 4 — экскаватор, 5 — конвейер для отбора глины
