Направленное бурение
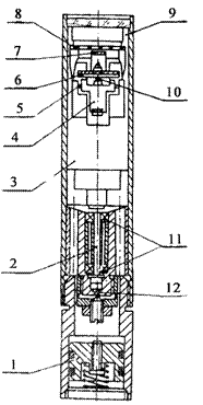
Рис. 10. Чувствительный элемент фотоинклинометра МТ-1-40.
1 – компенсатор давления; 2 – вал вращения с подшипниками 11; 3 – апсидальная рамка эксцентричная; 4 – маятник; 9, 10 – керны; б – картушка азимутальная; 7 – кольцо из органического стекла с делениями зенитных углов; 8 – стекло с неподвижными индексами отсчета зенитных углов; 9 – защитное стекло с воздухозаборником; 12 – шаровая опора чувствительного элемента
Электрическое питание инклинометрического блока осуществляется от аккумуляторного или гальванического источников (элементы 343 или «Салют»).
Вспомогательные принадлежности инклинометра МТ-1 предназначены для обеспечения его работоспособности, обработки и расшифровки фотоснимков и состоят из устройства для подзарядки аккумуляторов; светонепроницаемого мешка, предназначенного для перезарядки кассет фотоаппарата; проявочного бачка и просмотровой лупы.
Инклинометр гироскопический автономный ИГА-1 производства ЗОА «Гирооптика»
Область применения: оперативный контроль пространственного положения скважин при строительстве горных выработок. Назначение: определение трехмерных координат х, у, z осевых точек группы вертикальных скважин [6].
Состав комплекта: скважинный прибор, наземное оборудование и программно-математическое обеспечение.
Скважинный прибор выполнен в виде прочного герметизированного корпуса цилиндрической формы, в котором установлены блок чувствительных элементов (БИЧЭ), электронный блок, вторичный источник питания и аккумуляторная батарея. В верхней и нижней частях корпуса скважинного прибора установлены два центратора, обеспечивающие установку его продольной оси по оси скважины [6].
Наземное оборудование включает ручную лебедку, устройства ее установки на обсадной трубе скважины, пульт управления и визирное устройство
Программно-математическое обеспечение включает пакет программ для камеральной обработки измерительной информации с использованием алгоритмов бесплатформенной инерциальной системы с помощью программно-аппаратных средств, отвечающих требованиям:
· ПК P-4, 1,2 ГГц;
· 256 Мбайт – ОЗУ;
· HDD – 20 Гбайт;
· ПО Windows 2000/XP.
В результате камеральной обработки определяются координаты х, у, z осевых точек группы скважин. Конечный результат обработки представляется в виде чертежей сечений группы скважин по заданным горизонтам [6].
Состав и назначение блоков
БИЧЭ включает двухканальный микромеханический преобразователь ускорений линейных (ПУС) и микромеханический преобразователь скорости угловой ПСК(У). Ось чувствительности ПСК(У) расположена по продольной оси скважинного прибора, а оси чувствительности ПУС – взаимноортогональны и перпендикулярны продольной оси.
Электронный блок, включающий аналого-цифровые преобразователи, контроллер внутреннюю память, обеспечивает преобразование аналоговых сигналов БИЧЭ в цифровой код и регистрацию измерительной информации во внутренней памяти.
Вторичный источник питания преобразует постоянное напряжение аккумуляторной батареи 9 – 12 В в стабилизированные напряжения, необходимые для функционирования БИЧЭ и электронного блока.
Аккумуляторная батарея скважинного прибора выполнена в виде герметичного сменного блока, позволяющего осуществить его замену в полевых условиях.
Ручная лебедка, устанавливаемая на обсадной требе скважины с помощью устройств крепления, обеспечивает спуск и подъем скважинного прибора в скважине. В состав лебедки входит барабан с тросом, датчик глубины спуска, стопорное устройство. Датчик глубины спуска состоит из мерного колеса, охватываемого тросом и валкодера, включающего оптоэлектронные датчики угла поворота колеса. При спуске угол поворота мерного колеса пропорционален перемещению скважинного прибора.
Пульт управления обеспечивает управление режимами функционирования инклинометра и включает клавиатуру, дисплей, съемный модуль Flash-памяти, контроллер и автономный источник питания. Пульт управления подключается к скважинному прибору и датчику глубины спуска. При спуске скважинный прибор отсоединяется от пульта управления и переводится в автономный режим работы [6].
Визирное устройство предназначено для установки базовой линии скважинного прибора по направлению на реперный пункт с известными координатами. При визировании на реперный пункт визирное устройство устанавливается в верхней части корпуса скважинного прибора на базовой поверхности.
Технология съемки группы скважин включает последовательное выполнение процедур [6]:
· установку скважинного прибора инклинометра и наземного оборудования в исходном положении в устье одной из скважин;
· привязка с помощью визирного устройства базовой линии скважинного прибора к реперному пункту;
· включение с помощью клавиатуры пульта управления скважинного прибора, проверка его функционирования, ввод исходных данных (координат устья скважины и реперного пункта, параметров скважины);
· перевод скважинного прибора в автономный режим записи измерительной информации и отсоединение пульта управления от скважинного прибора;
· спуск скважинного прибора в положение забоя скважины и последующий подъем в исходное положение с помощью ручной лебедки;
· подключение скважинного прибора к пульту управления, выключение автономного режима записи, перезапись измерительной информации во Flash-память пульта управления, выключение инклинометра;
· выполнение перечисленных процедур на каждой скважине всей группы скважин;
· выполнение камеральной обработки с использованием программно-математического обеспечения инклинометра и построение конечного продукта съемки – чертежей сечений группы скважин по заданным глубинам.
Основные технические данные:
· инклинометр работоспособен:
1) в диапазоне температур окружающей среды от – 20 до +40 °С;
2) при вибрации в диапазоне частот от 10 до 55 Гц с амплитудой – 2 10 м/с2;
3) при многократных ударах с ускорением 20 м/с и длительностью ударного импульса 2 мс;
4) в обводненных скважинах с глубиной водяного столба до 50 м
· инклинометр обеспечивает съемку вертикальных скважин, обсаженных стальными трубами со следующими параметрами:
1) внутренний диаметр труб – 76 – 102 мм;
2) глубина скважины – 100 м;
3) диапазон зенитных углов скважины – ± 8°.
· погрешность определения глубины – ± 0,3 м;
· диапазон измерения плановых координат X, Y – ± 2 м;
· случайная составляющая погрешности определения плановых координат X, Y, – 50/100 мм/м;
· габаритные размеры скважинного прибора:
1) диаметр – 68 мм;
2) длина – 1270 мм;
3) масса скважинного прибора – 10 кг.
3.3.2 Инклинометры для планового контроля
Отечественные электромеханические компасные инклинометры
Оперативный контроль искривления скважин при отсутствии специальных автономных инклинометров должен выполняться кабельными геофизическими инклинометрами.
