Направленное бурение
Для измерения скважин в диамагнитных средах наиболее распространены следующие отечественные электромеханические компасные инклинометры: МИ-30, МИР-36, КИТ-60, КИТА-74 и др. Характеристики приведенных выше инклинометров приведены в табл. 8.
Таблица 8
Техническая характеристика отечественных каротажных инклинометров
|
Тип инклинометра |
Зенитный угол |
Азимут |
Диаметр скважинного прибора, мм |
Температура max, °C |
Давление, max, МПа | ||
|
Диапазон, градус |
Погрешность, мин |
Диапазон, градус |
Погрешность, градус | ||||
|
КИТ |
0 – 50 |
± 30 |
0 – 360 |
± 4 |
60 |
120 |
60 |
|
КИТА |
0 – 50 |
± 30 |
0 – 360 |
± 4 |
74 |
120 |
120 |
|
ИМ-1 |
0 – 75 |
± 20 |
0 – 360 |
± 2 |
73 |
180 |
150 |
|
ИН1-721 |
3 – 100 |
24 |
0 – 360 |
± 2 |
73 |
120 |
60 |
|
МИ-30 |
0 – 50 |
± 30 |
0 – 360 |
± 5 |
30 |
130 |
80 |
|
МИР-36 |
0 – 45 |
± 30 |
0 – 360 |
± 4 |
36 |
80 |
20 |
|
«Зенит-40У» |
2 – 70 |
± 30 |
0 – 360 |
– |
40 | ||
|
ИММ-32-125/70 |
0 – 90 |
± 12 |
0 – 360 |
± 0,5 |
32 |
125 |
70 |
|
ИГИ-42-120/70 |
0 – 90 |
± 15 |
0 – 360 |
± 1 |
42 |
120 |
70 |
Примечания.
1. Погрешность измерения азимута дана для зенитных углов, превышающих 3°.
2. Инклинометры ИН1-721 и «Зенит-40У» обеспечивают непрерывную регистрацию углов.
Ферромагнитный ИММ-32-125/70 и гироскопический инклинометры ИГИ-42-120/70
В ГП «Момент» (С.-Петербург) разработана более современная и совершенная конструкция кабельного ферромагнитного инклинометра диаметром 32 мм с поверхностным прибором типа ПЭВМ, а также совместно с ВИТРом принципиально новая конструкция малогабаритного гироскопического инклинометра диаметром 42 мм для ферромагнитных сред со сферическим гироскопом-акселерометром с электромагнитным подвесом ротора [5].
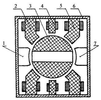
Конструктивно чувствительный элемент ЧЭ представляет собой ротор, размещенный в сферической полости, создаваемой торцами окружающих ротор полюсов восьми электромагнитов (рис. 11) [5].
Рис. 11. Конструкция чувствительного элемента в форме шарового гироскопа-акселерометра с электромагнитным подвесом ротора гироинклинометра ИГИ-42-120/70.
1 – датчик момента; 2, 5 – статор подвеса; 3 – ротор; 4 – статор двигателя; 6 – корпус; 7 – датчик угла
Магнитопроводы электромагнитов объединены в два кольцевых ферритовых статора 2, 5. Аксиально отверстию ротора с обеих сторон размещены два идентичных четырехзубцовых электромагнитных статора 1, 7, выполняющих функции датчика момента, прилагаемого к ротору, и датчика угла.
В экваториальной плоскости ротора расположен статор двигателя 4, обеспечивающий вращение ротора на принципе асинхронной электромашины. Эти узлы расположены в цилиндрической вакуумплотной камере 6, необходимое разрежение в которой обеспечивается магниторазрядным газопоглотителем. Подводка питания и связь гироскопа с наземным прибором – ПЭВМ осуществляется через гермовводы, расположенные в торцевых крышках чувствительного элемента. Технические характеристики указанных ферромагнитного ИММ-32-125/70 и гироскопического инклинометров ИГИ-42-120/70 даны в табл. 8.
Зарубежные автономные инклинометры
В зарубежной практике автономные инклинометры применяются наиболее широко и представлены разнообразными вариантами конструкций. В зависимости от применяемых чувствительных элементов ЧЭ – датчиков измерения углов они разделяются на три группы: индикаторы зенитных углов, инклинометры с магнитными ЧЭ и с гироскопическими ЧЭ, а изготавливаются, как правило, с большим числом датчиков в комплекте с подразделением их на узкие поддиапазоны измерения зенитных углов ЗУ, нередко в 2 – 6° и 10 – 20°.
По методу регистрации показаний они разделяются на приборы [5]:
· с механической регистрацией путем перфорации бумажного или фольгированного диска (одна точка ЗУ), на электрохимической бумаге,
· фото- и кинорегистрация, иногда магнитный носитель.
Наиболее совершенные из них, например фирмы «Фридрих Лейтерт», обеспечивают измерение зенитного угла в диапазонах 0 – 10°, 0 – 20° и 17 – 130° с погрешностью его измерения соответственно ± 0,1°, ± 0,25°, ± 0,5° и азимута, равной ± 1°, иногда менее.
Технические характеристики некоторых зарубежных автономных инклинометров приведены в табл. 9 [5].
Таблица 9
Техническая характеристика некоторых зарубежных автономных инклинометров
|
Фирма (страна) |
Название прибора |
Измеряемый параметр |
Тип датчика азимута |
Метод регистрации |
Диапазон измерения ЗУ, градус |
Наружный диаметр, мм | |
|
«Истмэн уипсток» (США) |
«Дрифт индикатор» |
ЗУ |
- |
П |
0,3 – 0,6 – 12, 0 – 30 |
41, 35, 32 | |
|
«Сингл шот», R и Е |
ЗУ, А |
М |
Ф |
0 – 10,20; 15 – 90, 15 – 120 |
45, 35 | ||
|
«Магнетик малтирл шот» |
ЗУ, А |
М |
К |
0 – 5, 0 – 10, 0 – 17,0 – 90 |
45, 35 | ||
|
«Гироскоп-инкмалтипл шот» |
ЗУ, А |
Г |
К |
0 – 12, 0 – 24, 0 – 34,0 – 70 |
76, 51 | ||
|
«Фридрих Лейтерт» (Германия) |
НСТ |
ЗУ, А |
м |
п |
0 – 12, 9 – 21, 18 – 30 |
42 | |
|
НПЕ, НПР |
ЗУ, А |
м |
Ф, К |
0 – 10, 0 – 20, 17 – 130 |
45 | ||
|
НГЕ, НГР |
ЗУ, А |
г |
Ф, К |
0 – 12, 0 – 20, 0 – 34,0 – 90 |
76, 51 | ||
|
«Кастер» (США) |
«Сингл шот» «Малтишот» |
ЗУ, А ЗУ, А |
М М Г |
Ф К К |
0 – 3,0 – 20,0 – 80, 0 – 20,0 – 70,0 – 80, 0 -10,0 – 30 |
32 45 89, 76, 54 | |
|
«Магнетик сингл шот» А и В |
ЗУ, А |
М |
Ф, К |
0 – 2,0 – 6,0 – 20, 0 – 120 |
32 – 89 | ||
|
«Шуруэл» |
ЗУ, А |
Г |
К |
0 – 6,0 – 20,0 -70, 0 – 90 |
45, 76 | ||
|
«Сингл шот» S – S |
ЗУ, А |
Г |
Ф |
45 | |||
|
«Тотко» (США) |
«Дабл рекордер» |
ЗУ, А |
М |
П |
0 – 3,0 – 8,0 – 16, 0 – 90 |
48, 41 | |
|
0 – 24,0 – 90 |
33 | ||||||
|
«Дирекшнл дабл .» |
ЗУ, А |
М |
П |
0 – 12,9 – 21, 18 – 30 |
41 | ||
|
«Лиао Нинг дай-монд фактору .» (Китай) |
XJL XDC XJD XLD-45 |
ЗУ, А ЗУ, А ЗУ ЗУ, А |
М М - М |
в в в в |
0 – 50 0 – 6 0 – 90 0 – 90 |
33,5; 42 42 42 45 |
