Производство стержней из холоднотвердеющих смесейРефераты >> Металлургия >> Производство стержней из холоднотвердеющих смесей
Насосы-дозаторы и электрооборудование расположены в основании смесителя или выносятся в отдельный шкаф. Шнек смесителя приводится во вращение электродвигателем через редуктор. Указанные особенности характерны для всех типов шнековых смесителей непрерывного действия.
В настоящее время в литейных цехах работают смесители моделей 4731, 4727, 4737 и 4732 производительностью соответственно 1,0; 3,5; 6,0 и 16,0 т/ч, хотя их серийный выпуск в настоящее время уже прекращен.
В настоящее время освоен серийный выпуск гаммы двухжелобных смесителей с вихревой головкой. В гамму этих смесителей вошли четыре базовые модели 19641. 19653, 1655 и 19657 соответственно производительностью 1,0; 2,5; 6,3 и 16 т/ч. Смесители такого типа имеют две параллельные смесительные камеры для раздельного смешивания песка с отвердителем и связующим и третью смесительную камеру, расположенную вертикально для окончательного перемешивания смеси. Они предназначены для приготовления песчано-смоляных ХТС. Преимуществами таких смесителей являются возможность приготовления смесей с небольшим никлом твердения, резкое сокращение потерь смеси, особенно при необходимости подачи ее небольшими порциями и при продолжительных остановках смесителя в процессе работы. Этот тип смесителей наиболее современный, с наибольшими технологическими возможностями, хотя по конструктивному исполнению более сложный.
Все смесители гаммы могут быть оснащены дополнительным насосом-дозатором жидких компонентов и дозатором порошкообразных добавок. Смесители гаммы могут быть снабжены двойной насосной системой для автоматического переключения работы смесителя с приготовления облицовочной смеси на наполнительную. Наличие указанных дополнительных устройств позволяет существенно расширить технологические возможности и область применения смесителей.
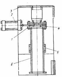
Устройство смесителей гаммы рассмотрим на примере смесителя модели 19655 производительностью 6,3 т/ч. Он предназначен для приготовления песчано-смоляных холоднотвердеющих смесей (ХТС) в режиме непрерывной или периодической работы в условиях единичного и серийного производства отливок.
Смеситель состоит из основания 1, рычага поворотного 2, камеры предварительного смешивания 3 с приводом, камеры окончательного смешивания (вихревой головки 4) с приводом, дозатора песка 5 с разделителем потока, трубы поворотной 6 гидропневмооборудования и электрооборудования 7 (рис. 2).
![]() |
Рис. 2. Смеситель ХТС модели 19655
Вращение валов смесителя осуществляется от привода мотор-редуктора МЦ2С-80-112, установленного на раме. Камера предварительного смешивания сверху закрывается крышкой. Смонтирована камера предварительного смешивания с приводом на верхнем фланце поворотного рычага (рис. 2).
![]() |
Рис. 3. Камера предварительного смешивания
Работа вертикальной смесительной камеры осуществляется следующим образом: смесь наполнителя со связующим или наполнителя с отвердителем подают сверху на вращающиеся с валом 2 лопатки 5, которые, имея возможность поворота в осях 4, отклоняются назад и смещают смесь к стенке корпуса 1. Попадая между краем вращающейся лопатки и стенкой корпуса 1, частицы смеси перетираются между собой, равномерно распределяя жидкие компоненты. В конструкции вихревой головки предусмотрено устройство 6 для очистки элементов смесительной камеры от налипшей смеси с помощью сжатого воздуха.
Для безопасного проведения работ на смесителе предусмотрена блокировка: при снятии корпуса вихревой головки отключаются все механизмы смесителя. Камера окончательного смешивания монтируется фланцем корпуса 1 к фланцу отверстия камеры предварительного смешивания.

![]()
Дозатор песка (рис. 5) предназначен для дозировки кварцевого песка; состоит из шибера, прикрепленного к кронштейну 3. Шибер состоит из пластины 1, которая перемещается по направляющей планке 4 с помощью пневмоцилиндра 2. Труба 6 с окном 5 крепится к направляющей планке 4 и служит для направления струи леска в приемное окно камеры предварительного смешивания.
Дозатор порошкообразных добавок (рис. 6) служит для дозированной подачи в камеру предварительного смешивания сухих порошкообразных добавок. Он состоит из бункера 1, смонтированного на раме 3, и шнекового вала 4 с приводом постоянного тока 2. Для предотвращения зависания и слеживания материала имеется ворошитель 5. Дозатор монтируется на раме камеры предварительного смешивания.
Рычаг поворотный (рис. 7) позволяет осуществлять поворот корпуса смесителя относительно двух вертикальных осей и состоит из корпуса 4, двух вертикальных валов 1 и 2. Каждый вал вращается в двух радиальных и одном упорном подшипниках. На корпусе 4 имеются два винта 3, которые фиксируют смеситель в нужном положении.
Труба поворотная (рис. 8) служит для подачи леска из цехового бункера в камеру предварительного смешивания. Труба поворотная состоит из приемной трубы 7, задвижки 2 в корпусе с подшипниками. Крепится труба поворотная фланцем к кронштейну
![]() |
Рис. 7. Рычаг поворотный



