Строительные машиныРефераты >> Строительство >> Строительные машины
СОДЕРЖАНИЕ
1. Введение
2. Машины вращательного бурения
3. Машины термического бурения
4. Машины термомеханического бурения
5. Станки ударно-канатного бурения
6. Машины для разработки скважин методом ударного желонирования
7. Машины ударного бурения
8. Машины вращательного бурения
9. Литература
Введение
Механизация работ в современных условиях приобретает первостепенное значение. В настоящее время научно-исследовательскими, конструкторскими и строительными организациями Министерства строительства предприятий нефтяной и газовой промышленности, заводами отрасли и других ведомств ведется большая работа по совершенствованию строительных машин и оборудования для сооружения трубопроводов и созданию новых технических средств повышающих уровень механизации строительных процессов и реализующих новые принципы строительной технологии.
Благодаря оснащению строительных организаций новой техникой изменился количественный и качественный состав парка специальных машин для строительства, были сняты с производства машины устаревших моделей, начато серийное производство специальных машин, созданных на базе новых промышленных тракторов и автомобилей.
Машины вращательного бурения
При вращательном бурении рабочему инструменту — режущей головке сообщаются два вида непрерывного движения: вращательное (вокруг ее вертикальной оси) и поступательное (вдоль оси). Совершая эти движения, инструмент разрушает грунт в забое скважины и поднимает его от забоя вверх по специальной поверхности шнека, расположенного непосредственно за режущей головкой. Режущая головка и шнек вместе образуют рабочий орган машин вращательного бурения, часто называемых поэтому машинами шнекового бурения. После заполнения витков шнека разрушенным грунтом бурение приостанавливают, рабочий орган извлекают из скважины и сообщают ему ускоренное вращение, что приводит к его быстрой разгрузке от грунта под действием центробежных сил. Затем рабочий орган снова опускают в скважину и продолжают проходку до следующего заполнения витков
шнека. Таким образом, процесс проходки скважины протекает не непрерывно, а циклически. Машины вращательного бурения, предназначенные для разработки скважин под свайные опоры, выполняются в основном самоходными на базе автомобилей и тракторов. Поскольку эти машины, как правило, кроме бурового оборудования снабжаются крановым для подтаскивания и установки в пробуренные скважины свай, они называются еще бурильно-крановыми машинами.
Наша промышленность выпускает большое число бурильно-крановых машин различных моделей, однако из них лишь немногие способны разрабатывать скважины в мерзлых грунтах. Из существующих отечественных бурильно-крановых машин наиболее мощной и специально предназначенной для разработки скважин под свайные опоры магистральных трубопроводов в суровых климатических условиях является машина БМ802С. При ее проектировании особое внимание уделялось вопросам хладноломкости материалов, выбора жидкости для гидросистемы, утепления кабины, освещения фронта работ и другим, определяющим ее работоспособность на северных трассах. Машина БМ802С имеет крутящий момент на буре в 2,5—3 раза больший, чем другие машины, предназначенные для аналогичных целей, что позволяет ей разрабатывать многолетнемерзлые и сезонномерзлые грунты с поверхностной прочностью до 400 ударов плотномером ДорНИИ. В ней сочетается механический привод вращения бура с гидравлическим приводом его подачи.
Бурильно-крановая машина (рис. 1) представляет собой самоходный агрегат, буровое оборудование которого смонтировано на шасси трехосного автомобиля повышенной проходимости, что позволяет продвигаться по трассе строительства в условиях бездорожья. Надежная и прочная рама автомобиля обеспечивает увеличение массы буровой машины, который необходим для ее успешной и высокопроизводительной работы. К раме крепится опорно-поворотное устройство, на котором устанавливается поворотная платформа, опирающаяся на круг катания устройства тремя парами конических катков. На поворотной платформе размещены основные узлы буровой машины: буровое оборудование и его привод. Привод бурового оборудования не зависит от привода базового автомобиля и состоит из силового агрегата и трансмиссии.
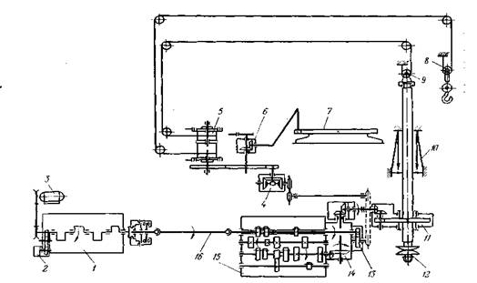
Трансмиссия привода бура состоит из следующих основных узлов (рис. 2): карданного вала, коробки передач, поворотного редуктора и вращателя. Карданный вал передает вращение от двигателя ведущему валу коробки передач, компенсируя взаимную несоосность установки обоих этих узлов. Коробка передач механическая, многоступенчатая, что позволяет при одной и той же скорости вращения получить на ее выходном валу последовательно несколько скоростей для последующей передачи через поворотный редуктор, вращатель и буровую штангу буровому инструменту. Поворотный редуктор позволяет передавать крутящий момент от коробки передач на вращатель на всем диапазоне рабочих углов поворотного механизма. Это возможно потому, что ось поворота буровой колонны совпадает с осью вращения ведущей шестерни поворотного редуктора. Вращатель предназначен для дальнейшей передачи крутящего момента на буровую штангу. Он представляет собой двухступенчатый коническо-цилиндрический редуктор, имеющий в ступице большой цилиндрической шестерни квадратное отверстие для прохода штанги.
Буровое оборудование состоит из бурового рабочего органа, штанги, напорного механизма и колонны. Колонна — четырехгранная сварная ферма из труб, состоящая из двух секций и «гуська». Нижний конец колонны шарнирно закреплен на поворотной плат- форме машины. При помощи двух гидроцилиндров колонна может поворачиваться вокруг этого шарнира и быть установлена под любым углом к поверхности земли в интервале от 3 до 90°. На «гуське», расположенном в верхней части колонны, размещены блоки для грузового каната. «Гусек» имеет шарнир, позволяющий в транспортном положении откидывать его для уменьшения габарита машины по высоте при перевозке по железной дороге и движении по проездам с ограниченной высотой. На колонне закреплены вращатель и напорный механизм. Последний служит для подачи бурового инструмента в забой и создания осевого статического усилия, необходимого для эффективного разрушения грунта. Он представляет собой четырехкулачковый гидравлический патрон, который зажимает штангу во время бурения и подает ее в забой усилием двух гидравлических цилиндров. Корпуса гидроцилиндров закреплены на колонне, а к штокам их присоединен корпус механизма зажима.
Рис. 1. Бурильно-крановая машина
Рис. 2. Кинематическая схема бурильно-крановой машины:
1— двигатель; 2 — насос гидропривода; 3 — электрогенератор для освещения и обогрева; 4 — реверс; 5 —лебедка; 6 — редуктор поворота; 7 —поворотная платформа; 8 — грузовой полиспаст; 9 — полиспаст подъема буровой штанги; 10 — механизм зажима и подачи штанги; 11 — вращатель; 12 —буровая головка; 13 — редуктор отбора мощности; 14 — поворотный редуктор; 15 — коробка перемены передач; 16 — карданный вал
