Литьё цветных металлов в металлические формы - кокилиРефераты >> Металлургия >> Литьё цветных металлов в металлические формы - кокили
* Составы применяют для покрытия поверхности литниковых каналов и выпоров.
В соответствии с необходимой скоростью отвода теплоты от различных мест отливки толщину
и теплопроводность λкр огнеупорного покрытия можно делать разными в различных частях кокиля, создавая условия для направленного затвердевания отливки, регулируя скорость ее охлаждения в отдельных местах.
Огнеупорное покрытие уменьшает скорость нагрева рабочей поверхности кокиля; благодаря термическому сопротивлению огнеупорного покрытия температура рабочей поверхности будет ниже, чем без покрытия. Это снижает разность температур по толщине кокиля, уменьшает температурные напряжения в нем и повышает его стойкость.
Огнеупорное покрытие на поверхности кокиля должно иметь заданную теплопроводность, хорошо наноситься и удерживаться на поверхности формы, противостоять резким колебаниям температуры, не выделять газов при нагреве, способных растворяться в отливке или создавать на ее поверхности газовые раковины. Покрытия приготовляют из огнеупорных материалов, связующих, активизаторов и стабилизаторов (см. табл. 2.3).
В качестве огнеупорных материалов применяют пылевидный кварц, шамотный порошок, окислы и карбиды металлов, тальк, графит, асбест. Связующие для покрытий — жидкое стекло, огнеупорная глина, сульфитный щелок.
Активизаторы применяют для улучшения схватывания с поверхностью кокиля. В качестве активизаторов используют для шамотных и асбестовых покрытий буру (Na2B4O7* lOH2O) и борную кислоту (Н3ВO4); для маршалитовых — кремнефто-ристый натрий (Na2SiF6), для тальковых — буру, борную кислоту или марганцевокислый калий. Перед приготовлением огнеупорные материалы просеивают через сито 016—01.
Стабилизаторы применяют для того, чтобы уменьшить седиментацию огнеупорных составляющих покрытия. Чаще всего это поверхностно-активные вещества ОП5, ОП7.
При литье в кокиль чугуна для устранения отбела в отливках на огнеупорное покрытие наносят копоть (сажу) ацетиленового пламени.
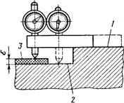
Толщину слоя огнеупорного покрытия контролируют измерительными пластинами, проволочками, прямым измерением, электроконтактным способом. При прямом измерении толщину слоя облицовки определяют микрометром (рис. 2.14): измеряют расстояние от базовой поверхности 1 до поверхностей 2 и 3, соответственно не покрытой и покрытой облицовкой. Разность дает толщину слоя облицовки.
Схема распределения температур в системе отливка — покрытие — форма практически реализуется только для поверхностей отливки, которые при усадке образуют плотный контакт с кокилем, между охватываемыми поверхностями отливки и кокилем образуется зазор, изменяющийся по мере усадки отливки. Этот зазор заполнен воздухом и газами, выделяющимися из покрытия. Образование зазора приводит к увеличению термического сопротивления переносу теплоты от отливки в кокиль. Поэтому со стороны внутренних стенок отливка охлаждается интенсивнее, чем со стороны внешних. В результате смещается зона образования осевой пористости отливки к наружной ее стенке, что следует учитывать при разработке системы питания усадки отливки.
Рассмотренное явление используют для устранения отбела в поверхностных случаях чугунных отливок. Для этого после образо
вания в отливке твердой корочки достаточной прочности кокиль слегка раскрывают гак чтобы между поверхностями отливки и кокиля образовался воздушный зазор. Тогда теплота затвердевания внутренних слоев отливки, проходя через затвердевающую наружную корку, разогревает ее и в результате происходит «самоотжиг» отливки — она не имеет отбела.
Скорость отвода теплоты от расплава и отливки зависит от разницы между температурами поверхностей отливки Т0 и кокиля Тп С повышением температуры заливаемого расплава возрастает температура То и скорость отвода теплоты от отливки; с повышением температуры Тn скорость отвода теплоты от отливки уменьшается. Поэтому на практике широко используют регулирование скорости отвода теплоты от расплава и отливки, изменяя температуры заливаемого сплава или кокиля перед заливкой. Однако чрезмерное снижение температуры заливаемого сплава приводит к ухудшению заполняемости кокиля. Повышение температуры кокиля увеличивает опасность приваривания отливки к кокилю, особенно при литье чугуна и стали, снижает стойкость кокиля.
Практически установлено, что оптимальная температура кокиля перед заливкой зависит от заливаемого сплава, толщины стенки отливки и ее конфигурации (табл. 2.4).
Температура заливки расплава в кокиль зависит от его химического состава, толщины стенки отливки, способа ее питания при затвердевании. Оптимальные температуры заливки в кокиль различных сплавов приведены ниже.
Особенности изготовления отливок из различных сплавов
Технологические режимы изготовления отливок из различных сплавов обусловлены их литейными свойствами, конструкцией отливок и требованиями, предъявляемыми к их качеству.
Таблица 2.4
Температура нагрева кокилей перед заливкой
|
Сплавы |
Отливки |
Толщина стенки отливок, мм |
Температура нагрева кокиля, К |
|
Алюминиевые |
Тонкостенные, ребристые |
1,6—2,1 |
673—693 |
|
Ребристые, корпусные |
5—10 |
623—673 | |
|
Простые, без ребер |
<8 >8 |
523—623 473—523 | |
|
Магниевые |
Тонкостенные, сложные |
623—670 | |
|
Медные |
Толстостенные Средней сложности |
5—10 |
523—620 393—473 |
Отливки из алюминиевых сплавов
Литейные свойства. Согласно ГОСТу литейные алюминиевые сплавы разделены на пять групп. Наилучшими литейными свойствами обладают сплавы I группы — силумины. Они имеют хорошую жидкотекучесть, небольшую (0,9—1%) линейную усадку, стойки к образованию трещин, достаточно герметичны. Это сплавы марок АЛ2, АЛ4, АЛ9, их широко используют в производстве. Однако они склонны к образованию грубой крупнозернистой эвтектики в структуре отливки и растворению газов.
