Методы измерений
Давление является производной физической величиной, определяемой тремя основными физическими величинами — массой, длиной и временем. Конкретная реализация значения давления зависит от способа воспроизведения единицы давления. При измерении по формуле (1) давление определяется силой и площадью, а по формуле (2) — длиной, плотностью и ускорением. Методы определения давления, основанные на измерении указанных величин, являются абсолютными (фундаментальными) методами и применяются при воспроизведении единицы давления эталонами грузопоршневого и жидкостного типа, а также позволяют, при необходимости, производить аттестацию образцовых средств измерений.
Относительный метод измерений, в отличие от абсолютного, основан на предварительном исследовании зависимости от давления физических свойств и параметров чувствительных элементов средств измерения давления при методах прямых, измерений или других физических величин и свойств измеряемой среды — при методах косвенных измерений. Например, деформационные манометры перед их применением для измерения давления должны быть сначала отградуированы по образцовым средствам измерений соответствующей точности.
Помимо классификации по основным методам измерений и видам давления, средства измерений давления классифицируют по принципу действия, функциональному назначению, диапазону и точности измерений.
Наиболее существенный классификационный признак — принцип действия средства измерения давления, в соответствии с ним и построено дальнейшее изложение.
Современные средства измерений давления представляют собой измерительные системы, звенья которых имеют различное функциональное назначение. Обобщенные блок-схемы манометров и измерительных преобразователей давления приведены соответственно на рис. 1, а и б. Важнейшим звеном любого средства измерения давления является его чувствительный элемент (ЧЭ), который воспринимает измеряемое давление и преобразует его в первичный сигнал, поступающий в измерительную цепь прибора. С помощью промежуточных преобразователей сигнал от ЧЭ преобразуется в показания манометра или регистрируется им, а в измерительных преобразователях (ИНД) - в унифицированный выходкой сигнал, поступающий в системы измерения, контроля, регулирования и управления. При этом промежуточные преобразователи и вторичные приборы во многих случаях унифицированы и могут применяться в сочетании с ЧЭ различных типов. Поэтому принципиальные особенности манометров и ИПД зависят, в первую очередь, от типа ЧЭ [1].
Рис. 1. Структурные блок-схемы:
а — манометра; б — измерительного преобразователя давления; р — измеряемое давление; 1 — чувствительный элемент (первичный преобразователь) ; 2 — промежуточные преобразователи; 3 — показания; 4 — регистрация; 5 — выходной сигнал; → к системам: I — измерения и контроль; II - регистрации; III — регулирования; IV – управления
По принципу действия ЧЭ средства измерения давления можно разделить на следующие основные группы.
1. Средства измерения давления, основанные на прямых абсолютных методах: поршневые манометры и ИПД, в том числе и грузопоршневые манометры, манометры с нецилиндрическим неуплотненным поршнем, колокольные, кольцевые и жидкостные манометры.
В первых трех манометрах метод измерений реализуется уравнением (1), основанным на определении величины давления по отношению силы к площади; в жидкостных манометрах - уравнением (2) , основанным на уравновешивании давления столбом жидкости.
2. Средства измерения давления, основанные на прямых относительных методах: деформационные манометры и ИПД, в том числе и с силовой компенсацией; полупроводниковые манометры и ИПД; манометры других типов, основанные на изменении физических свойств ЧЭ под действием давления.
3. Средства измерения давления, основанные на методах косвенных измерений: установки и приборы для определения давления по результатам измерения других физических величин; установки и приборы для определения давления по результатам измерения параметров физических свойств измеряемой среды (термопарные и ионизационные вакуумметры, ультразвуковые манометры, вязкостные вакуумметры и др.).
Следует отметить, что абсолютные методы измерений, заложенные в поршневых и жидкостных манометрах, во многих случаях на практике не реализуются. Например, жидкостные манометры, исключая первичные эталоны, градуируются и поверяются не абсолютным, а относительным методом, путем их сличения с образцовыми средствами измерений соответствующей точности.
Глава 1. Методы прямых измерений давления
1.1. Жидкостные манометры
Вопросы водоснабжения для человечества всегда были очень важными, а особую актуальность приобрели с развитием городов и появлением в них различного вида производств. При этом все более актуальной становилась проблема измерения давления воды, т. е. напора, необходимого не только для обеспечения подачи воды через систему водоснабжения, но и для приведения в действие различных механизмов. Честь первооткрывателя принадлежит крупнейшему итальянскому художнику и ученому Леонардо да Винчи (1452-1519 гг.), который впервые применил пьезометрическую трубку для измерения давления воды в трубопроводах.
Дальнейшее развитие науки и техники привело к появлению большого количества жидкостных манометров различных типов, применяемых до настоящего времени во многих отраслях: метеорологии, авиационной и электровакуумной технике, геодезии и геологоразведке, физике и метрологии и пр. Однако, в силу ряда специфических особенностей принципа действия жидкостных манометров их удельный вес по сравнению с манометрами других типов относительно невелик и, вероятно, будет уменьшаться и в дальнейшем. Тем не менее при измерениях особо высокой точности в области давлений, близких к атмосферному давлению, они пока незаменимы. Не потеряли своего значения жидкостные манометры и в ряде других областей (микроманометрии, барометрии, метеорологии, при физико-технических исследованиях).
1.1.1. Основные типы жидкостных манометров и принципы их действия
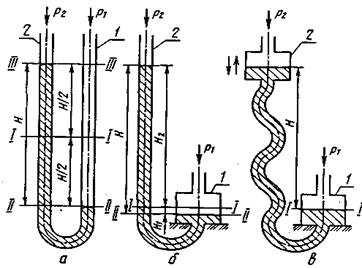
Принцип действия жидкостных манометров можно проиллюстрировать на примере U-образного жидкостного манометра (рис. 2, а), состоящего из двух соединенных между собой вертикальных трубок 1 и 2, наполовину заполненных жидкостью.
Рис. 2. Основные типы жидкостных манометров
В соответствии с законами гидростатики при равенстве давлений р1 и р2 свободные поверхности жидкости (мениски) в обеих трубках установятся на уровне I-I. Если одно из давлений превышает другое (р1 >р2), то разность давлений вызовет опускание уровня жидкости в трубке 1 и, соответственно, подъем в трубке 2, вплоть до достижения состояния равновесия. При этом на уровне II-II уравнение равновесия примет вид:
Δр=р1 -р2 = Н - р • g , (3)
т. е. разность давлений определяется давлением столба жидкости высотой Н с плотностью р.
